电子天秤
某实验室最近制成的一种电子天秤,它的灵敏度很高。据报导,在一本书上多印两个字所增加的重量都能称量出来。它的工作原理是:天秤中装有由石英晶体组成的谐振电路,在测量时被测物放在石英晶体上,使被测物本身重量所产生的压力加在石英晶体上,改变谐振电路的谐振频率,根据频率变化的情况即可量出被测物的重量。这种天秤最高只能测8磅半重,目前专门用来测量只有十个分子厚的各种薄膜的重量。(李元善编译)
水下电话
新制成的一种专供潜水人员通话用的水下电话,它包括喉头送话器、发送设备等部件,并配备有特种口罩,使潜水人员在讲话时保证发音清晰。使用干电油工作的发送设备,放在长约12寸(30.4厘米)的不锈钢圆筒内,圆筒固定在潜水员的空气箱上,圆筒的一端为换能器,通过换能器将话音信号送出,并依靠水传送话音信号。接收端不需任何接收设备即可收听对方讲话。通话距离可达100码(91.4米),可工作于任何深度的水中。(元善编译)
高性能的电子听诊器
这种听诊器称为“声镜”,是由超小型放大器、传声器、标准话筒等部分构成的,在可听频率范围内响应最好。由于具有高、低频率衰减器,可以选出需要的频带,防止其它声音的干扰。传声器仅能传送与它接触的声源所发出的声音,完全不受外界杂音的影响。放大器是超小型的,挂在脖子上很轻便,跟一般听诊器一样,可在任何地方使用。这种听诊器具有两个输出接头,可同时供两个人进行听诊。
听诊器只有三个调节旋钮,操作简单。适当调节后,能听到频率很低的心脏音,而听不出呼吸等其他高频率的杂音,也可以使心脏音衰减,仅使呼吸音得到放大,而把呼吸音从其它声音中分离出来。例如可除去“铁肺”的动作声,而仅听到病人的胸部音。利用这种听诊器还能容易地听出胎儿的心脏音和动脉硬化发出的噪音。必要时,还可把两个输出接头之一接到录音、计测或绘图设备,进行自动记录。(承卿译)
超声波治疗近视
去年,日本一些科研工作者和医生使用一种超声器械医治后天性近视眼,经过临床试验,已证明有效。研究者认为,这种超声治疗器械对眼所起的作用,是靠超声作“微型”按摩。振动所产生的热可能作用于网膜上,刺激血液循环。超声波可能也有助于松弛眼球的调焦肌肉。研究者还认为,这种治疗的新奇之处是同时对眼球的前区和后区起作用。
到目前为止,在用这种方法治疗的220个后天性近视病例中,约有60%都得到很大改善。然而,近视程度愈深,治疗就越困难。在治疗过程中,以儿童的反应最为迅速,最好的疗效得自12岁以下的儿童。(连城译)
能粘合小型元件的环氧树脂胶
一种用银作填料的环氧树脂胶,不需要加热也不需要烙铁,就能牢固地粘固住小型元件。这种胶是膏状的,具有导电性能,并能自动变成坚硬的混合物,在室温24小时内即固化。它装在塑料的压挤式管内,使用时把它直接挤在需要粘固的元件上即可,操作方便。
据称,这种环氧树脂胶除了可以固定不同的元件、组件与热敏二极管、半导体三极管外,也可用作为电屏蔽材料,或修补印刷电路,以及粘合电子管管罩或玻璃灯泡等等。(陆耀明译)
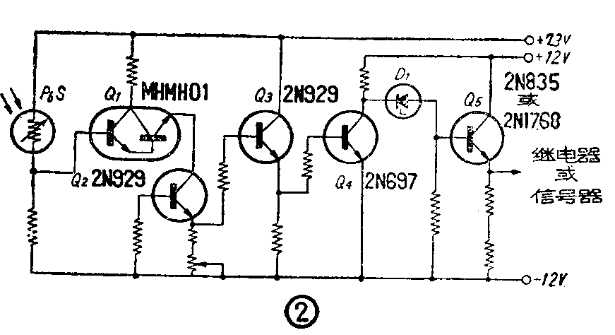
红外线防护装置
利用红外线的作用做成的防护装置,比用其他方式(超声波法,电感应法等等)做成的装置具有较多的优点,例如灵敏度高,不需发射机构,不容易受到伪装干扰。

在红外线防护装置中,是利用人体自己担任发射机的。人体温度为98.6°F(相当37℃),发射的红外线波长约为9.3微米,用普通光电池即可接收。如图1所示圆筒形硫化铝(PbS)光电池,可以从各个方向探测50尺以内的人体或其他动物。光电信号用半导体三极管放大,见图2。整个装置仅有2立方寸,消耗电流约10毫安。(李原编译)

960赫的声波能使蜜蜂就范
最近发现用适当频率的声波,可使蜜蜂镇静下来。曾经将频率为960赫的声音对准蜂巢播放,能使蜜蜂停止飞行,而且明显地表现出安静和疲倦状态。研究人员同时发现,蜜蜂对它栖留的物体振动所产生的声波比对空气振动所产生的声波反应更为灵敏,此外还发现蜜蜂必须依靠它的前脚直接拾取声的振动,并通过前脚将声的振动传送到它身上的感受器官。(元善编译)
简单的电子毫安表

一提到毫安表,常会使人联想到有游丝、动圈、指针的磁电式仪表。最近国外研究出来一种完全没有机械装置的气体放电式的电子毫安表,其构造很简单,如图1所示。由图可知,它是一根80毫米长的玻璃管,管内封二根电极,再充入30mm水银柱压力的混合气体(99%的氖和1%的氩)。这种放电管具有一种很宝贵的特性,即放电区域随着通入电流的增加而向上扩展。如在放电管的旁边装上一块有刻度的底板(像普通温度计那样)就可用做指示电流用了(图二是电子毫安表的实物照片)。 (王本轩编译)