半导体三极管有两个P—N结,一个叫发射结,另一个叫集电结。发射结上加有正向电压,集电结上加有反向电压。在这两个电压作用下三极管的三个电极就会通过电流,也就是有发射极电流I\(_{e}\)、基极电流Ib和集电极电流I\(_{c}\)流通。这三种电流之间有一定的关系,例如Ie变化时,I\(_{b}\)和Ic也跟着变化,而且这几种电流和上述两种电压之间也互有关系。因此要了解半导体三极管的特性,善于正确运用,就必须掌握半导体三极管的各种电流和电压之间的关系和变化规律。在这篇文章里就打算来谈谈有关这方面的知识。
半导体管总是要接到电路中运用,才能发挥作用,因此我们首先从半导体三极管的几种基本电路谈起,然后再分别谈谈用哪些主要参数来表征半导体三极管的特性。

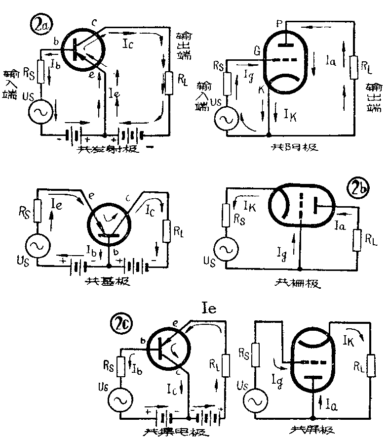
半导体三极管和电子三极管有好些相类似的地方。从图1中可以看到它们的各个电极是相互对应的:发射极是用来发出载流子的,就好像对应于电子管的阴极,因为阴极用来发射电子;基极相当于电子管栅极,利用基极来控制载流子运动和用栅极来控制电子是相似的;集电极收集载流子又和电子管屏极收集电子相当。电子管按照以哪一个电极为输入和输出的公共端而有共阴极、共栅极和共屏极电路。类似地半导体管也有共发射极、共基极和共集电极三种基本电路。大家对电子管电路比较熟悉,因此我们把半导体三极管和电子三极管的三种基本电路对照列出(见图2a、b、c),以便于理解。各极电流的路径如图中箭头所示。这里为了简单起见,各电子管电路的直流供给电源都未画出,需要指出,其各级所加电源的电压与半导体管是不一样的,电子管各极的电源电压要高得多。

从图中可以看到,无论哪一种电路都有一个输入端和一个输出端,但在不同接法的电路中,哪两个极接输入端,哪两个极接到输出端是不一样的,所以半导体三极管接成这三种电路时所得的特性参数也不相同。
图中输入端的U\(_{S}\)代表送入电路的交流信号电源,例如在半导体收音机音频功率放大电路中,US就是从前面电压放大级送来的音频电压,R\(_{S}\)代表信号源的内阻,RL代表输出端所接的负载,在这个例子里就是扬声器音圈的阻抗折算到集电极电路中来的负载电阻。在基本电路中我们只画了这些等效符号,在实用电路中要复杂得多。
下面我们再进一步谈谈半导体三极管采用上述几种电路时的各种参数的意义。
一、电流放大系数α和β
在本刊今年第10期中曾分析了半导体三极管的放大作用,半导体管输入端电流的微小变化可引起输出端电流有很大的变化,把信号加到输入端,经过半导体管放大,在输出端就得到放大了的信号,究竟能放大多少,可以用所谓“电流放大系数”这个参数来表示。因此,电流放大系数=输出电流变化数量÷输入电流变化数量,也就是信号电流被放大的倍数。它是晶体管的最基本参数之一,它判定了晶体管放大作用的好坏。
对应于晶体管的三种不同基本线路,电流放大系数数值当然不同,所以必须分别讨论。对共基极电路(图2b),电流放大系数用α来表示,它是在输出端交流短路的条件下测定的。
α=〔\(\frac{输出电流(集电极电流I}{_{c}}\))变化量输入电流(发射极电流Ie)变化量〕\(_{U}\)cb不变
用ΔI\(_{c}\)表示集电极电流变化量,用ΔIe表示发射极电流变化量,可写成
α=[\(\frac{ΔI}{_{c}}\)ΔIe]\(_{U}\)cb=常数
从上面式子可以看出α叫做共基极短路电流放大系数,在面接触型晶体管中,I\(_{c}\)总是小于Ie的,所以α一般数值在0.90~0.999之间,它是小于1的。
同样,β是共发射极电路(图2a)的短路电流放大系数。它是在输出端交流短路条件下测定的。
β=[\(\frac{输出电流(I}{_{c}}\))变化量输入电流(Ie)变化量]\(_{U}\)ce不变
=[\(\frac{ΔI}{_{c}}\)ΔIb]\(_{U}\)ce=常数
因为集电极电流I\(_{c}\)比基极电流Ib大得多,β一般数值在几十到几百之间。
α和β都是在输出端直流电压不变的条件下的交流短路电流放大系数。为什么要“短路”,其原因有二:其一是输出端负载数值在实用上不可能总一样,结果输出端电流也不一样,这就没有一定的衡量标准;其次是在短路时输出电流最大。因此α和β是半导体管所能达到的电流放大系数的最大数值或极限数值。这好像电子管电压放大系数μ是在输出端开路时测量的一样,因开路时输出电压最大;μ也是极限数值,工作时总要接上负载,电子管的电压放大系数是不能大于μ的。
由于晶体管内三个电流之和等于零,或可写成ΔI\(_{e}\)=ΔIc+ΔI\(_{b}\),因而α和β也有一定关系,知道一个,就可以算出另一个,计算的式子如下:
α=
二、共发射极放大器的混合参数(H参数)
半导体管工作时,输入端有输入信号电压U\(_{1}\)和输入信号电流I1,输出端有输出电压U\(_{2}\)和输出电流I2,共有四个数值,因此要决定半导体管特性,也需要有四个数值,这种表征半导体管特性的数值叫做“参数”。用一定的方法测得半导体管参数后,就不必全部依赖管子的特性曲线来计算和分析线路,而可很方便地直接通过参数来计算和设计线路。半导体管参数从不同角度出发而有好几种,例如从管子本身接在电路里表现的“阻抗”性质,可得到一套“Z”参数;如考虑管子的“导纳”情况,可得到一套“Y”参数;也可同时考虑到管子的放大、阻抗、导纳、内反馈等性质来得到一套混合参数,通常称为“H”参数。从数学观点来说,即列出不同形式的方程式,可得到不同种类的参数,但是归根到底都是通过U\(_{1}\)、U2、I\(_{1}\)、I2四个数值表示出来的,所以不同种类参数间互有联系,可以互相换算,我们只要应用四套参数中的一套,而这一套中也只要四个数值就够了。选定哪一种参数最好呢?看来应该首先是容易从实验中测得的,其次这一套参数代表的物理意义比较明显才好,“H”参数是比较符合要求的。此外,如上所述对一种参数来说,在共发射极、共基极和共集电极三种条件下数值也不相同;好在它们也如同α和β一样可以互相换算。共发射极和共基极“H”参数是最常用的,所以下面讨论共发射极和共基极电路的H参数。
由于半导体管输出端接反向偏压,阻挡层加厚,输出电阻很高,短路条件容易实现和测试;相反地,输入端是接正向偏压,阻挡层变薄,输入电阻很低,开路条件就易于实现和测试。H参数就是分别在输出端短路和在输入端开路情况下测得的参数。
将输出端短路分别测得交流信号U\(_{1}\)、I1、I\(_{2}\),得到两个短路H参数:
h\(_{11}\)=[U1I\(_{1}\)]U\(_{2}\)=0;
h\(_{21}\)=[I2I\(_{1}\)]U\(_{2}\)=0。
从上式中看出:h\(_{11}\)是代表输出端短路时输入端的输入电阻,它承受了输入功率的耗散,一般典型的数值是共发射极几百欧姆,共基极几欧姆到几十欧姆;h21是输出端短路时的电流放大系数,对共发射极来讲就等于β,在共基极时就等于α,它是没有单位的,典型的数值是共发射极几十到几百,共基极则是0.9~0.999,它表征了晶体管的电流放大能力。
把输入端开路时,测出交流信号U\(_{1}\)、U2、I\(_{2}\),得到两个开路H参数:
h\(_{12}\)=[U1U\(_{2}\)]I\(_{1}\)=0;
h\(_{22}\)=[I2U\(_{2}\)]I\(_{1}\)=0。
从式中看出h\(_{12}\)表示了输出电压U2对输入电压U\(_{1}\)的影响程度,当U2为1伏时因U\(_{2}\)的影响在输入端产生的电压数值即为h12伏。因为它可说明半导体管内部反馈的作用,输出端的变化对输入端的影响,所以称它为“反向电压传输系数”。在应用中一般要求没有反馈,所以希望h\(_{12}\)的数值小一些好,典型的数值共发射极和共基极都是千分之几到万分之几,它是两个电压比,也是没有单位的。h22是输入端开路时输出端的输出导纳。如果把半导体管看做一个被控制的电源来看,h\(_{22}\)的倒数就好像是电源的内阻。半导体管的h22是很小的,典型数值是共发射极几到几十微姆,共基极十分之几微姆到几微姆,或者说它们的倒数分别是几十到几百千欧及几百到几千千欧,如以内阻观点来看这个数值是不小的,所以晶体管的输出端是类似一个电流发生器的电源。
三、一些其他参数

H参数是半导体管工作时的特性参数。除此而外半导体管本身还有一些参数,这些在选用管子时也需要考虑。如反向饱和电流I\(_{co}\),这是发射极开路时,集电极和基极间的反向直流电流,以小一些为好。其他还有Pc,是集电极耗散功率(以毫瓦计);集电结温度在工作时不能高过一定数值,否则会损坏管子,所以工作时集电极损耗功率不能超过手册上给出的P\(_{c}\)值。以前说过载流子在基区扩散到达集电结需要一定时间,当工作频率太高时,集电极电流往往就会来不及跟上发射极电流的迅速变化,电流放大系数就要降低,一般把低频下的电流放大系数称为α0;当把工作频率提高到使电流放大系数α降低到α\(_{0}\)的0.7左右时的频率称为共基极截止频率fα,如图3所示。同样共发射极接法按上面定义也有截止频率f\(_{β}\),同一管子fβ要比f\(_{α}\)低得多,选用管子要使fα或f\(_{β}\)远高于工作频率,否则放大性能不好。fmax是半导体管用作为振荡器时可能达到的最高振荡频率,和f\(_{α}\)相似,它可以衡量半导体管工作频率能达多高。此外,P—N结的阻挡层中缺乏载流子,却有空间电荷,就类似电容器中有绝缘介质,在两极板上带有异性电荷一样,故P—N结有电容效应,特别是位于输出端的集电极电容Cc,在工作频率很高时,电容所呈的效应就相当显著了。f\(_{α}\)和Cc是晶体管的重要高频参数,这里就不详细谈了。(良木)