目前,化学工业中采用的液面计,主要是玻璃连通管液面计,它不能进行远距离观测,经常发生滴漏和假液面现象,因而给化工生产带来许多困难。本文介绍一种轻便、小型的电子液面计——脉冲式电容液面计,可以测定远距离密封容器中的液面高度,略经改装,还可以测定液体的介电常数或其他物理量。
这部仪器包括电容变换器、电容测定器和电源三部分。下面分别介绍它们的工作原理。
电容变换器
电容变换器的作用是把液面高度的变化转换为电容量的变化。因此我们只要用电子仪器测出这个电容量的变化。就可以推知液面的高度了。

图1a为平行板电容变换器的示意图。在液体容器中,放着尺寸相同的两个平行金属板A和B,假定它们的高度为H厘米,宽度为D厘米,相距为l厘米。如果液面的高度为h厘米,液体(不导电)的介电常数为ε\(_{2}\),则由这个平行板组成的电容器,应包括空气电容和液体电容两部分,并可以按下式计算其总电容量:
C\(_{h}\)=0.0884Dl[ε1H+(ε\(_{2}\)-ε1)h]。
式中,C\(_{h}\)的单位为微微法;ε1为空气的介电常数,近似等于1。由这个公式可以看出,由于一般液体介质的介电常数远大于1,因此,随着液面高度h的增加,C\(_{h}\)也增加,并且与h成正比。
图1b为圆管形电容变换器,它在实际中的应用更为广泛。由于圆管形电容器的电容量与圆管直径的绝对值无关,而与内外圆管直径的比值\(\frac{D}{_{2}}\)D1有关,因此在应用中易于设计出小巧、坚固,电容量适度的圆管形电容变换器来。按照图1b的示意,当液面高度为h厘米时,圆管形电容变换器的总电容量应为
C\(_{h}\)′=0.24ε1H+(ε\(_{2}\)-ε1)hlgD\(_{2}\);D1。
式中,lg\(\frac{D}{_{2}}\)D1是D\(_{2}\);D1的常用对数。同样可以看到,当H、D\(_{2}\)、D1、ε\(_{2}\)、ε1都不变时,C\(_{h}\)′与h成正比。所以,当液面高度增加时,电容量也增加;液面高度下降时,电容量也跟着下降。
另外,由上面两个公式还可以看出,如果固定液面高度h,换入另一种液体,则由液体介电常数ε\(_{2}\)的变化,也会引起电容量的改变,并且,总电容量与ε2成正比。
这种圆管形电容变换器通常是插到被测液体中去的,它的上端固定在液体容器(常为钢罐)的顶盖上;下端悬空,与罐底相距2~5厘米。

在许多情况中,需要测定导电液体的液面高度。这时,采用裸露的金属电极就不能构成电容器了。不过,在许多情况下,仍然可以借助绝缘套来组成电容变换器。如图2所示,具有绝缘套的圆管形电容变换器,将利用绝缘套1做电容器的介质,金属管2做内导体,导电液体3做外电极。随着液面高度增加,电容器的电极面积增加,因而电容量也增加,并且与液面高度成正比。为了防止液面高度减低后在绝缘套外壁仍有导电的现象发生,应当选择适当的材料并使套壁光滑无孔。如果导电液体的粘度很大,液面下降后,套壁将仍附着粘液,这种变换器就不宜采用。
应当注意的是,对于图2的电容变换器来说,由于介质层很薄,因而电容量常达数千微微法以上,设计电路时,应考虑这个特点。
电容测定器

电容测定器包括脉冲发生器和脉冲检波器两部分,如图3所示。在图3中,用C\(_{h}\)表示电容变换器的总电容量,脉冲检波器由二极管G、半导体二极管D、微安表和电容C等共同组成。由脉冲发生器产生的方形波加到电容Ch上。方形波幅度为U,周期为T。在方形波的正半周,电容C\(_{h}\)将由方形波电压充电,充电电流流过二极管G和微安表。由于充电电阻很小,因而Ch在正半周内能完成充电,C\(_{h}\)两端电压上升到U,充得电荷量为Q=Ch·U,这也是流经微安表的电荷量。在方形波的负半周,方形波电压降到零,电容C\(_{h}\)经脉冲发生器的内阻和半导体二极管D迅速放电,以便在方形波的下一个正半周时再度充电。因此,在一个周期内,流过微安表的电荷量也就只有Ch·U这样多。由于电容C的充放电作用及电表指针的机械惰性,微安表的指针将读出一个周期内流经它的平均电流值
I\(\frac{=C}{_{h}}\)·UT=Ch·U·F。
式中F为方形波的重复频率。显然,微安表的读数与C\(_{h}\)成正比。因此,当我们固定方波幅度和频率时,可以由微安表读出Ch的变化,亦即读出液面高度h的变化。所以,可以直接在微安表上刻度液面高度h。
总体电路

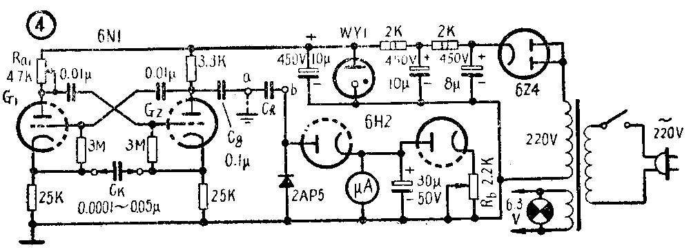
脉冲式电容液面计的总体电路示于图4。图中,双三极管6N1组成一个阴极控制的多谐振荡器,它的振荡频率可以在很宽的范围内变化,输出的方形波波形良好,工作也很稳定。电路正常工作时,两只电子管G\(_{1}\)和G2轮流导电(和一般多谐振荡器相似)。当电子管导电时,屏极电压下降;电子管截止时,屏压上升到电源电压。因此,可以从电子管G\(_{2}\)的屏极取得方形波,方形波电压的幅度约为20伏。改变电容器Ck,可以改变方形波的频段,调节电位器R\(_{a1}\),可以连续改变方形波频率。Ch为电容变换器。C\(_{g}\)起隔离直流的作用,以防止Ch短路时损坏电表和电源。双二极管6H2,左半管作脉冲检波器,右半管用以补偿左半管的初始电流。因此,电位器R\(_{b}\)可用以校正微安表的零点。电子管6Z4作半波整流,电子管WY1为稳压管,它们共同组成150伏稳压电源。所用变压器为市售四灯收音机电源变压器。微安表的量程可根据Ch的大小选在100—500微安的范围内。
注意事项
实验表明,由于电容变换器的边沿效应和引线电容的影响,微安表的读数与液面高度之间不能保证完善的线性关系。特别是在起始和终了部分,液面高度的改变不能引起微安表读数显著的变动。所以,微安表的刻度应结合实验来确定。
当电容测定器与电容变换器之间相距甚远时,两条引线间的电容常达到颇大的数值(200微微法以上),从而减小了液面高度的变化对微安表读数的控制作用。为了尽量减小引线电容,两条引线应分开布置。通常,与圆管形电容变换器的外电极相连接的一条引线可以接近地面和墙壁,而与内电极相接的一条引线,则应尽量远离地面,远离外电极引线。
由于电容变换器的外电极经常与金属罐体相连接,因而不易与地面绝缘。所以,应把外电极引线接到图4中的a点(C\(_{h}\)的左端)。如果将外电极引线接到b点,则机壳与地面之间由于电源变压器漏电而形成的几伏电位差,将使微安表有一个很大的初始读数,这对工作是不利的。
由图4还可看到,仪器的机壳应与地面绝缘,否则,电子管G\(_{2}\)输出的方形波将无法加到脉冲检波器去。
电容器C\(_{g}\)的选择,应保证Cg》C\(_{h}\)。电位器Rb不宜选择过小的数值,因为它对微安表有分流作用。
脉冲式电容液面计,还可以测量其他的物理量。例如,当所得的产品是总高度一定的水油混合物时,经过沉淀,可用图2的电容变换器反映出总的电容量来。显然,由于水层导电,总电容量主要由水层的高度决定。如果水层较厚,则总电容量大,微安表读数大。因而由微安表的读数可得知油量的多少。此外,可以利用极性介质与非极性介质混合后显著影响非极性介质的介电常数这一现象,由电子液面计的改装电路来测定介电常数的变化,从而确定杂质含量。此外,还可以进一步探讨利用这种仪器来监视化工产品的反应过程等等。(邱洵)