一谈到建筑,人们可能很自然地想到砖、瓦、砂、石等等,似乎这与无线电电子学的距离很远。其实不然,在无线电电子学普遍应用的今天,随着建筑事业向耐高温、抗腐蚀、建筑施工机械化和自动化方向的发展,无线电电子学与建筑事业的关系越来越密切了。目前,从建筑勘探到建筑施工,从建筑材料的生产到结构检验,以及采暖、通风、降温、除尘等各方面,无不用到电子技术。下面我们仅列举几个例子,来说明无线电电子学在建筑工程中的广泛应用。
检测混凝土强度
混凝土每平方厘米能承受的压力,叫做混凝土的抗压强度,这是一个很重要的技术指标。以前测定混凝土抗压强度的方法,多半是在施工中留下试样,把试样放到压力机上去压,用试样的强度近似地代表实际结构物的强度。如果在施工中没有留下试样,或者混凝土结构已用多年,要检测它的强度,那就只好用人工的方法从混凝土结构上取下一块(称为取样),经过细致的加工再用压力机压。很显然,这种方法不但要花费很多繁重的劳动,破坏了原来的混凝土结构,而且更重要的是它不能真实地反映整个混凝土结构物的情况,不能大面积地普查和重复测量,不能了解结构的匀质性。甚至在某些条件下,由于结构断面小等原因,根本无法取样,因此也就无法知道它的强度。
多少年来,这都是建筑工程中的一个大问题。但是,如果采用脉冲超声波混凝土探测仪,这个问题就可以顺利地解决。

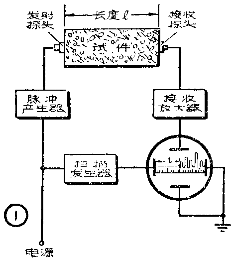
图1是脉冲超声波混凝土探测仪的示意图。脉冲产生器产生的高压脉冲,激励压电晶体探头(也可以用磁滞伸缩探头),产生超声波。超声波通过混凝土后,被对面的接收压电晶体探头接收,并把超声波变成电信号,送到放大器中去放大,以后加到示波管的垂直偏转板上,借助于扫描发生器,把这个信号在示波管荧光屏上显示出来。很明显,这个被显示出来的信号一定要比脉冲产生器开始发射脉冲的时间落后一个时间t,这就是超声波通过混凝土试件的时间。这段时间由时间标尺读出(荧光屏横坐标上均匀分布的小黑点就是时间标尺,它是由频率稳定的振荡器输出的信号加到示波管垂直偏转板上以后得到的,图中未画出),再用尺量出混凝土试件的长度,就可以算出超声波在混凝土中的传播速度。利用超声波传播速度和混凝土强度间特定的关系就可以方便而精确地求出混凝土的强度了。
超声波在混凝土中传播的速度很快(4000米/秒以上),传播时间以微秒计(一微秒等于百万分之一秒),同时要求测量误差不大于0.5微秒,所以必须用电子仪器进行测量。此外这种方法在混凝土预制构件厂可以实现流水线式的自动检验,其中控制、自动记录等都要用到大量的电子设备。

为了测量大型基础和结构物的混凝土强度,还应用如图2所示的冲击法。它的作用原理如下。
小锤敲击试件,冲击波沿试件传播,当冲击波传到A点时,被探头1接收。探头1把冲击波变成电信号送到放大器Ⅰ中放大,此后加到电子门中,使电子门开启。这时标准频率的脉冲加到计数器中,计数器开始记录脉冲数目。冲击波继续向前传播,当它到达B点时,又被探头2接收,并且也把冲击波变成电信号送到放大器Ⅱ中放大,然后也加到电子门中,使电子门闭锁,计数器停止计数。标准频率是已知的,所以根据计数器记录的脉冲数目,就可以算出冲击波从A点到B点经过的时间(时间=脉冲数目/频率),再由AB之间的距离算出冲击波在试件中传播的速度,由速度即可求出混凝土的强度。

在检测混凝土的强度时,除了用电子学方法测量超声波或声波在混凝土中的传播时间以外,也常常用电子设备测量试件的固有频率和振动的衰减率,以求出动弹性模量,从而确定混凝土强度。例如在图3中,试件架在两个支点上,音频振荡器输出一可变频率的音频信号,经功率放大器放大后,加到机械振动激发器的动圈中,把音频电流变成同频率的机械振动。这种机械振动通过装在动圈上的探针传到试件,使试件振动。试件的振动用机械振动接收器接收,同时变成电信号加到示波器垂直输入端,而音频振荡器的信号加到示波器水平输入端,调节音频振荡器的频率,可以在荧光屏上按李沙育图形精确地测定试件的固有振动频率。因为共振时振幅最大,所以也可用比较振幅的办法测量固有频率。
此外,利用给试件周期性的冲击,然后用电子学方法来测定其振动衰减率,也是测定混凝土强度的方法之一,这里就不详谈了。
探测混凝土内部缺陷
一个混凝土基础或结构物,由于振捣不实和其他种种原因,其内部常常出现孔洞、蜂窝和裂缝。这种情况如果不及时发现和补救,构件可能在这些地方开始损坏,造成事故。但是,由于这些缺陷存在于混凝土内部,所以不容易发现。目前检查这种缺陷的最好方法是采用超声波探伤仪。
混凝土探伤用的超声波仪器与金属超声波探伤仪大同小异,但由于混凝土的不密实性,超声波在其中衰减很大,并且不易成规则反射,因此它使用的频率较低(一般采用30千赫——500千赫),而且多半采用穿透法。
超声波束在传播的路径上如果遇到孔洞等缺陷,要发生衰减和绕射,这时出现两个现象,一个是振幅显著减小,一个是传播的时间显著增长。根据这两个现象,就可以判断缺陷的存在、大小及位置。
测量混凝土结构物的应变和应力
在建筑构件试验中,广泛地应用电阻应变仪来进行结构物的应变和与应变有关的参量(应力,力,弯矩,扭矩等)的测量。它的工作原理是利用粘在结构物需测应变之处的应变电阻片随构件一起变形,由于机械变形引起电阻变化(称为应变效应),再用一定的线路把电阻变化转换成电压或电流变化而加以测量和记录。根据电压(或电流)与应变的关系可以精确地测定结构物的应变大小。电阻应变仪分为测量0赫过程的静态电阻应变仪,测量0—200~300赫的静动态电阻应变仪,测量0—1000~1200赫过程的动态电阻应变仪和测量5—10~5000—20000赫的超动态电阻应变仪。
测量钢筋混凝土的钢筋位置和保护层的厚度
目前的混凝土结构大多是钢筋混凝土结构,钢筋的位置和数量是按一定抗弯强度配置的。如果钢筋位置错动,就会使混凝土开裂;保护层太薄,钢筋就容易锈蚀。那么怎样才能知道钢筋位置是否合理和保护层有多厚呢?解决这些问题可以利用“钢筋位置测定仪”。其工作过程可参看图4。用一个U型铁心绕上线圈作传感器,当传感器与混凝土中没有钢筋的地方相接触时,由于混凝土是非磁性物质,因而传感器铁心磁回路不闭合,微安表μA指零。钢筋是磁性物质,当移动传感器遇到钢筋时,回路磁阻变化,因而传感器线圈中的电流发生变化。这个变化的电流经差动变压器、相敏检波器和放大器以后,使电桥电路中的微安表偏转,指示出钢筋的存在。根据指针偏转的大小还可知保护层的厚度和钢筋的粗细。

配合γ射线源测量混凝土的密实性
在建筑工程中应用放射性同位素可以测量混凝土的密实性、空隙率和湿度,研究水泥的硬化过程等等。但是这必须配备各种计数管、光电倍增管、放大器和定型器等电子设备。图5就是一个用γ射线测定混凝土拌合物密实度的例子。

γ射线通过混凝土拌合物以后,由计数管接收下来,并把它变成电脉冲,经放大器、甄别器和定标器,在指示器中指示出它的强度。γ射线强度的大小与混凝土的密实度有关,混凝土密实度越大,对γ射线的吸收愈大,因此γ射线的强度就越小,由此就可以得到混凝土的密实度。用这种方法检验混凝土的振捣情况最为方便。
上面仅仅举出几个例子,来说明无线电电子学在建筑工程中的应用。其他如用电子技术控制起重、运输、搅拌和振动,用无线电和工业电视指挥建筑施工等等,都是有可能实现的。总之无线电电子学为建筑工程自动化开辟了广阔的途径。(吴庭满)