简单而效率高的矿石收音机或半导体收音机是一些无线电爱好者最感兴趣的东西。但是往往在制作中对于强电台干扰远地电台,混音或响度不够满意等现象不易克服,也就是选择性和灵敏度不够理想。
这里向无线电爱好者介绍一种圆柱形线圈做成的三回路(双调谐)矿石收音机。它是选择性较好的矿石收音机之一,适合本地有多个频率极为接近的广播电台的场合下使用。
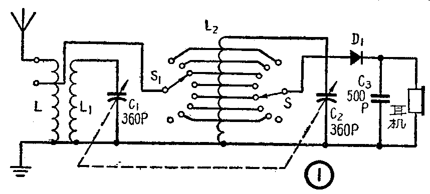
电路图见图1。当天线收到电磁波以后,在线圈L内有高频电流通过。通过电磁感应,这些高频电流又传到线圈L\(_{1}\)和C1,线圈L\(_{2}\)和C2(C\(_{1}\)—C2是一个双连可变电容器)组成的调谐回路里作了选择。这样就选出了所需要的电台信号。经过多次选择,收音机的选择性就提高了。经Д\(_{1}\)检波后的音频电流变成低频电流,进入耳机,就能发出广播声。

线圈L、L\(_{1}\)和L2是采用直径为50.8毫米的圆柱形线圈。可以用26到279号漆包线密绕,效果比较好。L绕25圈,在第10圈处作出抽头。L\(_{1}\)绕65圈。L2绕80圈,每逢10圈抽一头,共有七个抽头;另外在每一个抽头上再分出一个头来,共有七个分头(七个抽头和七个分头分别焊在两只分线开关上,见图2)。三个线圈都要顺一个方向统。L、L\(_{1}\)和L2可以并立竖放,如图2。

这部收音机的线圈之间的距离和相对位置可以变动,线圈之间的距离近,收音机的灵敏度高,声音大,选择性差些;距离远,选择性好,灵敏度低些。初次收音时,在不影响收音响度的情况下,校准好L、L\(_{1}\)和L2之间的距离,使达到最适当的耦合度,便会得到最好的选择性与声音响度。
检波元件Д\(_{1}\)可采用半导体二极管。半导体二极管的型号不限,最好选择正向电阻小些,反向电阻大些的,这样效果好些。活动矿石或固定矿石也可以使用,但是效果差些,而且需经常调节,不如用半导体二极管好。(王先声)