干电池机改用交流供电,比较理想的方案是原机电路不动,另用一套代甲、乙电源的整流器,分别供给灯丝及乙电用电,使收音机成为于电池和交流两用。这一方案存在的问题是甲电整流问题比较复杂。因为甲电所需电压很低(1.2伏),但电流很大(180毫安),所以一般要用特制的变压器降压,经过硒堆整流后,还要应用数百甚至上千微法的大电容器和低频扼流圈滤波,方可供给灯丝应用。而且交流电源电压的变化,对于甲电供电的影响很大。电源电压稍有下降,便会影响甲电电压下降到使收音机不能工作,所以不够经济方便。我们最近曾试以超音频振荡代替硒整流,采用以16千赫以上人耳所听不到的超音频电流供给甲电的方法,改装过许多部干电池式五灯机,实验结果,即便电源电压从220伏有时下降到200伏,对收音几乎没有影响,效果良好可靠。现在介绍出来,供各修理部门和爱好者们参考。


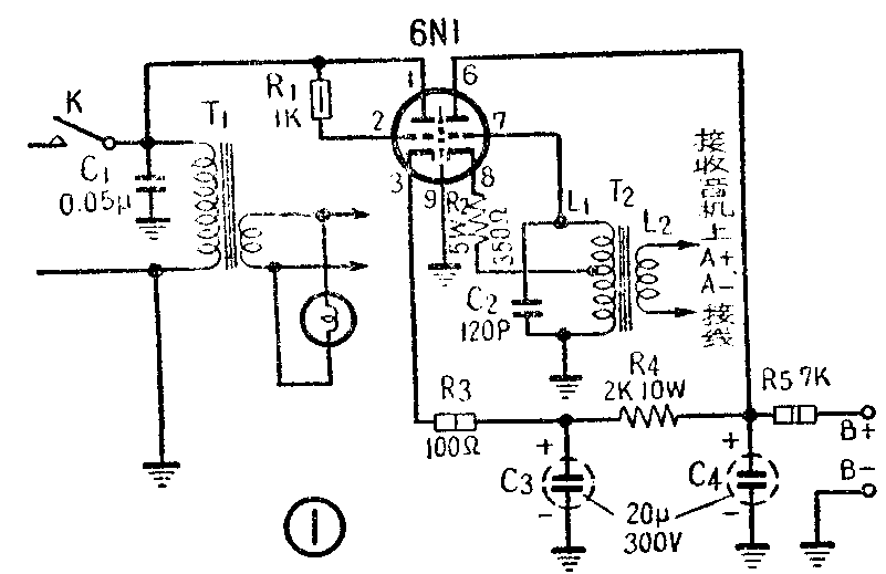
电源和振荡器的电路原理如图1所示。用一只中放大因数双三极管(6N1),一半担任整流,另一半产生超音频振荡,经过变压器T\(_{2}\)降压为1.4伏,用来燃点各电子管灯丝。振荡线圈L1系在自制的硬纸骨架(图2)上用38~40号漆包线绕600圈,在350圈处抽头,线头接栅极,线尾接地。L\(_{2}\)用20~24号漆包线绕12圈。在线圈中插进宽4毫米、长25毫米的优质硅钢片约20片(我们用的是汽车上旧点火线圈铁心剪成)。C2是振荡回路电容,直接影响振荡频率,实验表明,它的大小与收音机的杂声有很大关系,数值可从100~200微微法之间选择。R\(_{3}\)是限流电阻,用来防止刚接通电源时,电容器C3迅速充电而致整流管过载。电源变压器T\(_{1}\)为6伏电铃变压器。自制可用10瓦线间变压器或大号输出变压器铁心,用38~40号漆包线绕3300圈作为初级,用24号漆包线绕95圈作为次级。

全机装在一块用三合板制成的底板上(图3)。装好后可以直接放在收音机内部原来放置甲、乙电池的卡板上。电源开关K最好与收音机内的电位器连在一起,这样可以保持整流器与收音机工作同步。收音机内部原有的甲电滤波电容应予剪掉,否则由L\(_{2}\) 传去的超音频电流将会全部被它旁路,使电子管灯丝得不到电流。收音机不能工作。使用时应当注意电源插头反正,使机壳不致带电,以保证人身安全。(于连芳)