问:国产6P15(6П15П)管用做调幅收音机的末级输出,负载阻抗须用多少?如用6P1的输出变压器,如何改制?接成三极管时,负载又是多少?
答:6N15是专为电视机作视频信号放大用, 按电子管手册中所载典型工作状态有二种用法:当屏压为300伏,帘栅压为150伏,阴极电阻为75欧时,最佳负载是10千欧; 如屏压和帘栅压都用170伏,阴极电阻为82欧,最佳负载是4.5千欧。如作为收音机的输出管时,也可以按上述数据使用。
用6P1的输出变压器,在屏压300伏情况下,须将次级圈拆去约十分之三;在170伏情况下,基本上能代用。但是上述二种的工作电压在收音机中都不方便。如果6P15的屏压用230伏左右,帘栅压用200伏,栅偏压-4伏,则最佳负载也是5千欧附近。这样6P1的输出变压器就能直接代用,而这种工作电压在收音机中也是常用的。 当6P15接成三极管时,它的最佳负载当屏压150伏时约3千欧,栅偏压约-4.5伏,200伏时约2.5千欧,栅偏压约-6V, 250伏时约2.2千欧,栅偏压约-7.5伏。
问:如下图的低放电路,想使屏极上的电压为10O伏左右,而实际测量只有50~60伏,不知何故?

答:这是由于阴极电阻R\(_{K}\)用得太小,栅偏压很小,屏流较大,在Ra上的电压降也较大,故屏极电压较低,将R\(_{K}\)使用2K欧左右,使栅压较负,则屏流减小,屏极上的电压就可到100伏左右。(以上林 华答)
问:可变电容器动片接地或定片接地,在各种收音机上会有什么影响?
答:可变电容器动片或定片接地,对电容量来说是没有什么区别的,但是因为电容器的动片是和它的外壳相连通的,在实际使用时,将外壳接地可以有屏蔽作用。如果是将定片接地,外壳就起不到屏蔽作用,收音机很容易受到干扰,如果是在再生式收音机中,调节电容器时,还会发生严重的人体感应,同时这样做在装配上也是不方便的。
问:有的收音机用手触天线能使音量增加,有的收音机则只在近低频端才有这种现象,这是什么原因?
答:当收音机的灵敏度较差而又使用了效率较低的天线时(如矮、短的天线或拖线),由于输入的电能量不多,输出端达不到额定的输出功率,音量就不大;用手触天线等于将人体感应的电磁波能量增加到收音机的输入端,无异增加了天线的作用,所以输出功率也就增加而使音量增大。如果收音机的灵敏度已经足够,在额定的输入状况时已经达到额定的输出,那么虽用手触天线使输入增加,输出也不会增加很大,所以听起来音量并没有显著增加。当输入回路初级线圈(天线线圈)的电感量不足的时候,接收范围低频端的增益就会降低,但对频率较高的一端还不受影响,这时用手触天线,能使低频端的输入增加而增大音量,这种现象在自绕线圈初级电感不足时最易发生,售品线圈初级的电感一般都比较大,不易有这种现象。(以上冯报本答)
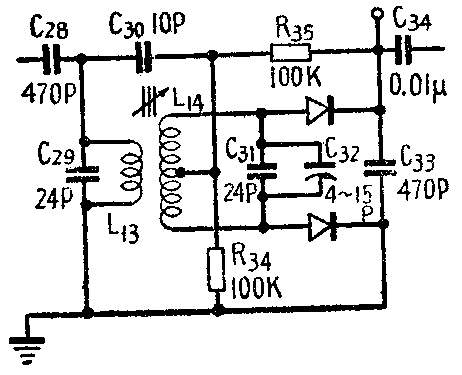
问:北京牌电视机在音量逐渐开大时有很大的交流声,当图象较暗时其声更为显著,这是什么原因?如何消除?
答:这种原因是由于伴音通道内鉴频器的声音中频频率6.5兆赫的失谐,使频率检波器上产生大小不同而极性相反的噪声电压。这种互相不能抵消的噪声电压,将影响到频率检波器的干扰抑制性能降低。而在伴音讯号增强时即图象黑白对比度较暗时,其营营声则更将提高。
消除的简单办法是重新调整鉴频器的移相变压器,即调整该变压器的次级线圈L14上的并联微调电容器C32 (4-15P)(见附图)。在调整前,应先将图象调到正常的对比度,最好选择在相当于声音停顿的时间内,缓慢地旋动微调电容器,调到营营声最弱或被完全消除的位置上。如果这时继续向左或向右旋动时又会使营营声提高,那么原来的位置即是正确的调谐位置。原因是这个位置正是使频率检波器产生大小相等而极性相反的也即是能互相抵消的噪声电压,使营营的交流声得以抑制。(毛立平答)
