晶体管的参数不像电子管那样一致,同一型号的晶体管,其特性上下参差可能很大,同时也容易因使用不当(如电池接反,电流过大,焊接过热等) 而造成损坏。所以对晶体管进行校验测量是很必要的。这里介绍一台使用方便的晶体管校验器,它能迅速地测出晶体三极管的两个主要参数,即集电极反向电流Ico和电流放大系数(共发射极电流放大系数β或共基极电流放大系数a),以鉴定晶体管的优劣。一只好的晶体管,Ico应很小,而β应很大。
这只晶体管校验器所用零件都是市场上容易买到的,线路亦较简单。测量范围:Ico值自0至100微安;a值自0.7至0.99;β值自0至100。PNP型和NPN型的晶体管都能测量。

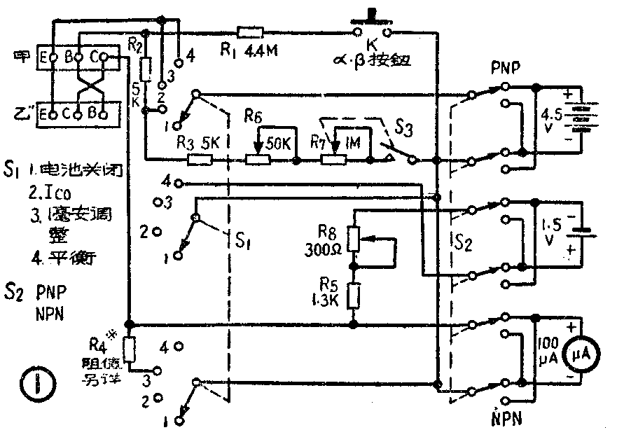
图1是校验器的线路图,它能测量出晶体管在集电极电流为1毫安时的电流放大系数。在测量时,把晶体管的发射极、集电极和基极分别接在图中左上方的端子E、C、B上。测PNP型管子时,将开关S\(_{2}\)扳到上方。测NPN管子时,应把各电源的接法反向,即把S2扳到下方。测量晶体管共发射极电流放大系数的原理如下:图2是面结合型三极管的共发射极h参数曲线。图上横座标是基极电流,纵座标是集电极电流,曲线的斜率就是电流放大系数β。假如我们先让晶体管稳定在曲线的A点上,然后使基极电流增加△\(_{iB}\),这时候新的工作点就移到B点了。和原来A点的ic比较,集电极电流也增加了△iC。所以放大系数β=\(\frac{△}{_{i}}\)C△iB。我们使△\(_{iB}\)固定为1微安,那么用一个100微安的电表检出△iC,表针所指示的微安值,就是我们所要测定的β值。

现在再把具体的线路分析一下: 选择开关S\(_{1}\)平时放在1上(空档)。当插上晶体管后,将它扳到2,即“ICO”上,此时线路可简化如图3a,电表和晶体管的集电极——基极串联接在电池上,可以测出ICO。为了防止因接错管脚而损坏晶体管,故串入电阻R2(5千欧)。将S\(_{1}\)扳至3,即“1MA”,线路简化如图3b,在100微安的电表上并联了一个分流电阻R4,使电表灵敏度降为1毫安,调整基极偏流电阻R\(_{7}\)(粗调)和R6(细调),可使集电极电流为1毫安,此时电表满度。最后将S\(_{1}\)扳至4,即“平衡与测α、β”,线路简化如图3c,电表灵敏度又恢复为100微安,并且加上了抵消电流,调节平衡电阻R8使表针回到零点。此时按下“α、β”按钮K,1微安的电流经过R\(_{1}\)进入基极,电表上即能读出△iC也就是β的值,如图3d。

我们知道α和β之间的关系是:
α=\(\frac{β}{1+β}\)

所以测出了一个晶体管的β值后,也就可以换算出它的α值。为了使用方便,可以事先把α值直接绘制在电表的表面上,如图4。对应于各α值的β值见表1。
表1
α β α β
0.7 2.3 0.975 39
0.8 4 0.976 40.6
0.85 5.7 0.977 42.4
0.9 9 0.978 44.5
0.91 10.1 0.979 46.6
0.92 11.5 0.98 49
0.93 13.3 0.981 51.5
0.94 15.7 0.982 54.5
0.95 19 0.983 57.8
0.955 21.2 0.984 61.5
0.96 24 0.985 65.5
0.965 27.5 0.986 70.5
0.97 32.3 0.987 76
0.971 33.5 0.988 82.3
0.972 34.3 0.989 90
0.973 36 0.99 99
0.94 37.4
在装制时有几点须注意:R\(_{4}\)是分流电阻,阻值应为100微安电表内阻的九分之一,例如电表内阻为1千欧,则R4就用110欧。电阻R\(_{1}\)应选用误差小的。换向开关S2为六刀双掷的波段开关,也可以用四刀双掷的长短波开关二只来代替。此时电池接在一只开关上,电表接在另一只开关上。
晶体管插座用胶木板或有机玻璃自制,其中的管脚可拆花生式电子管用的灯座脚来使用。也可以直接使用电子管座,脚孔旁边注上接脚符号E、B、C等,而将空孔用填充物堵起。插座甲和乙是按照一般低频管和高频管管脚排列次序区分自左而右排列的。例如3AX1(П6A)一类的低频管应当插在甲座上,3AG11(П401)一类的高频管则可插在乙座上。
使用方法:①应当知道被测管的型号和接脚,然后分清各极插入相应的插孔。将选择开关由第1档扳到第2档“ICO”,电表即可测出反向电流。②将S\(_{1}\)扳到第3档“1MA”,调节R6、R\(_{7}\)使表针满度。③将S1扳到第4档“平衡与α、β”,调节R\(_{8}\)使表针回到零点。此时按下“α、β按钮”即可直接由电表上读出α、β的值。
国产晶体管的参数见表2。
表2
型号 ICO) α或β
3AX13(2Z171) <12 >30
3AX14(2Z172) <10 >70
3AG1(2Z301) <10 >30
3AG2(2Z302) <10 >30
3AG3(2Z303) <10 >30
3AG4(2Z304) <10 >30
3AX1(Π6А) ≤30 ≥0.9
3AX2(Π6Б) ≤15 0.9-0.94
3AX3(Π6В) ≤15 ≥0.94
3AX4(Π6Г) ≤15 ≥0.97
3AX5(Π6Д) ≤15 ≥0.9
3AG11(Π401) <10 >0.94
3AG12(Π402) <5 >0.94
3AG13(Π403) <5 0.94-0.97
3AG14(Π403A) <5 >0.97
校验器上各零件的排列可如图5。这样的排列方法是较好的,当它平放在台上(面板朝上)进行测量时,右手操纵旋钮,左手可以扶持晶体管,并且不会影响对电表的视线。 (叶敏)
