本刊上期“干电池五灯机改为交流供电”一文介绍的方法,简单易行,但是电路还存在缺点,需要改进。
按照介绍的方法,收音机灯丝电路改接后成为串联。这些电子管是直热式的,没有阴极,收音机工作时各管屏流和帘栅流形成的阴极电流,也要通江灯丝回路。灯丝串联以后,前面电子管的阴机电流要在后面电子管的丝极上流过,结果是最后一只电子管的丝极电流过荷太多,灯丝发亮,很容易衰老或损坏。

改进的办法应当在串联中的前四只管子丝极负端上各接上一只分流电阻,把它们各自的阴极电流分流到地,使它不致流经后一个电子管。最后一只电子管,因为灯丝负端是直接接地的,所以不加。在这里两只1K2(V\(_{3}\)、V2)的阴极电流都很小(每只为1.35+0.35毫安),实践证明,可以不加分流电阻,所以只要加接R\(_{1}\)和R2两只电组就可以了(图1)。其中R\(_{1}\)用作分去2P2管(V5)阴极电流中的直流成分,其值为
R\(_{1}\)=\(\frac{灯丝负端对地电压}{阴极电流}\)
=7.2-2.4(伏)0.0037+0.001(安)≈1000欧。
R\(_{2}\)则用作分去两只1K2(V3、V\(_{2}\))及1A2(V1)的阴极电流,其值为
R\(_{2}\)=7.2—6(伏)0.004(安)≈300欧。
由于2P2的阴极电流中还包含有音频成分,所以分流电阻R\(_{1}\)两端,还要并联加一只旁路电容器C1,使音频不致通到下面的电子管上,其值选用20~30微法,可用耐压25伏的电解电容器。为了使1A2阴极电流中的高频成分得到旁路,电阻R\(_{2}\)上也要并联一只0.02的纸质电容器。
此外,应用这一方法改装时,还有以下几点应当注意。
1.电子管1A2和1K2的第5脚与第1脚在管内是接通的,原机当灯丝为并联接线时,管座第5脚常是接地的。现在将灯丝改为串联,所以应对1A2和1K2管的管座第5脚加以检查。如果原来是接地的话,现在应予拆除,不可忽略。
2.原来的电源开关是装在干电池与收音机之间,改装后只须在电源变压器初级装一只开关就可以了。整流部分与收音机间的甲电、乙电和地线的连接点最好焊死,不宜安装开关或插销。使用时要注意在电子管未全部插在机上时,不可开机通电。开机后也不可抽取任何一只电子管。因为接通电源后,如果灯丝回路出现开路,整流器甲电端的电压将上升到很高,易使滤波电容击穿。即使它暂时未被击穿,当灯丝回路再次接通时,由于电容器放电,又有很大的冲击电流,将使电子管灯丝烧断,造成损失。

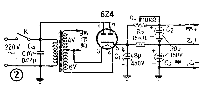
3.一般电铃变压器次级绕组多为4伏和6伏两组。如果初级只有220伏,没有100伏抽头时,整流器可改如图2接线,用6伏供给6Z4整流管灯丝,屏压直接由220伏供电。甲电降压电阻R\(_{1}\)用15瓦10KΩ的线绕半可变电阻。乙电降压电阻R2可用2瓦15KΩ的碳膜固定电阻,不必再加调整,即可得约80伏电压。此外,还可利用4伏绕组加接小电珠作为指示灯,使用起来很方便。但这时是直接接用市电整流,底盘带电。因此全机应很好地封闭起来,不让有触及底盘的可能,并在天线拖线上预先串接一只100~250微微法的云母电容器,以作隔离之用,防止触电。如果发现机盘带电,可将电源插销调换方向。如果不用电铃变电器,亦可利用一般三灯机电源变压器,将其250伏的次级高压圈作为初级,而将原来的初级110伏线圈作为次级整流之用,效果也很好。
4.改装后一般是交流声不大。如果发现有较大的调制交流声,可在电源变压器初级并联一只0.01~0.02微法的电容器(图2中的C\(_{4}\)),即可消除。 (冯秉志 石泽全 吴一勤)