常用的简易式晶体管收音机的电路结构有图1所示的几种。图1a为两管机,由两个三极管和一个或两个二极管组成;图1b为三管机;图1c则为四管机。从它们的调试方法来说,基本上是相同的。只要了解各级的作用,根据其作用调整到最佳工作状态,就不难把整个收音机调好。下面将分别对各级的调试方法加以细述。

一、末级放大级的调试
所谓末级放大级是指扬声器之前的一级低放,从图1中看它有两种基本程式,即单端输出(图1a和b)及推挽输出(图1c两种)。
“单端输出”又叫“单臂输出”,是利用一个晶体管作放大,因此毫无疑问这一级应采用甲类放大的方式。但同样采用甲类放大方式,如电路不同,具体的调试方法和变压器的圈数比要求是不一样的。大家知道晶体管甲类放大器的功率增益简单地可以用下式表示:
功率增益 K\(_{p}\)=\(\frac{β}{^{2}}\)RLR\(_{i}\), (1)
其中:R\(_{L}\)为集电极负载(指变压器初级);
R\(_{i}\)为基极输入电阻;
β为电流放大倍数;
而其输出功率也可以简单地表示为
输出功率 P\(_{出}\)=Uc\(^{2}\)3R\(_{L}\)(2)
其中: U\(_{c}\)为集电极电源电压。
(1)(2)两式说明:若要K\(_{p}\)大,要求RL大,但这时P\(_{出}\)就小;反之若要P出大,要求R\(_{L}\)小,但这时Kp就小,如何兼顾这两方面,要根据电路决定。
图1a的电路中,要求末级低放有较高的功率增益而宁愿放弃一些输出功率,这是因为前级来的推动功率较小,如果后面一级过多地考虑了输出功率,其结果必然是推力不足,声音很小。图1b的电路,因为前级多加了一级放大,有足够富裕的推力,这时如果我们仍然不多考虑提高其功率输出,其结果必然是失真严重,使末级产生过荷。
晶体管单端输出级的工作电流可以用下列公式近似地算出:
I\(_{0}\)=P出U\(_{c}\)ηTη(毫安) (3)
其中η\(_{T}\)是变压器的效率,一般取75%;η为放大电路的效率,一般取40~50%;P出以毫瓦为单位;U\(_{c}\)以伏特为单位。
以采用国产3AX1(П6A)等型晶体管为例,对图1a的电路而言,当电源电压为6伏时,宜选择P\(_{出}\)为20毫瓦,利用公式(2)可以算得
R\(_{L}\)=Uc\(^{2}\)3P\(_{出}\)=36;3×0.02=600欧姆。
利用公式(3)可以算得集电极电流为
I\(_{0}\)=P出U\(_{c}\)ηTη=20;6×0.75×0.45=10毫安。
图1b的电路宜选择P出为40毫瓦,同理利用公式(2)可以算得负载电阻
R\(_{L}\)=Uc\(^{2}\)3P\(_{出}\)=36;3×0.04=300欧姆
利用公式(3)可以算得集电极电流为
I\(_{0}\)=P出U\(_{c}\)ηTη=40;6×0.75×0.45=20毫安。
根据上面所决定的R\(_{L}\)以及所采用的扬声器音圈阻抗,就可以计算输出变压器的圈数比。
决定了集电极电流数值,就可以改变这一级的基极置偏电阻,将它的集电极电流调到这个数值,从而把这一级调到合适的工作状态上。

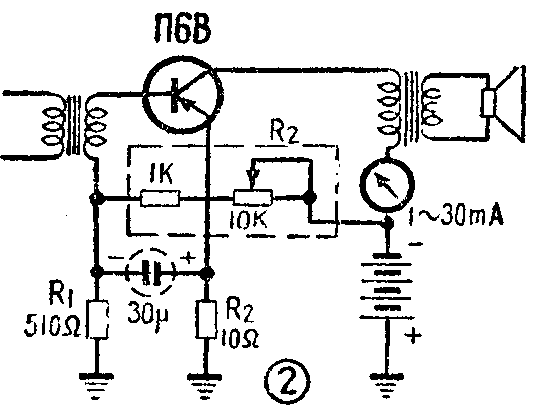
工作点调正的具体方法是这样的。以图2的电路为例。先在集电极回路中串一个电流表。根据预定的工作电流选择好合适的量程(一般以选择30毫安或50毫安为宜)。然后将基极电阻R\(_{2}\)用一固定电阻(1千欧)和一电位器或可变电阻(10千欧)串起来代替,接上电源,慢慢转动电位器,使电流表指到要求的电流数值,然后把固定电阻和电位器拆下来,量一下它们的串联总电阻是多少(注意这时电位器的轴不能转动),挑一个与此总电阻相等的固定电阻换上,并再核对一下电流,如无显著变化,工作点的调整就告完成。上述调试过程中之所以需要一个1千欧的固定电阻,是为了防止电位器调到零电阻一头时,偏流电阻为零, 会损坏晶体管。
工作点电流在指定数值左右略有变化,对性能并无多大影响,但如差得太多时就会引起失真。如果发现装得的收音机调不到原设计的输出功率,那么这主要是这一级的功率增益不够。根据上面所说K\(_{p}\)与晶体管的β平方成正比,因此应将这一级晶体管挑选β稍稍大一些的。一般以短路电流β为40左右较为合适。
“推挽输出”又叫“双臂输出”。采用推挽输出主要要求其有较大的输出功率,因此采用推挽式电路必须前级有足够的推动功率。推挽级的输出功率P\(_{出}\)可以下式粗略地求得
P\(_{出}\)=Uc\(^{2}\)1.3R\(_{L}\)(4)
以国产3AX(П6)类晶体管为例,当供给的电源电压为6伏时,P\(_{出}\)以定100毫瓦为宜。这时RL(集电极至集电极)应为277欧左右。
在决定了负载电阻以后,调试推挽级的重点在于决定静态集电极电流。为了使这一级的效率高(所谓效率就是指这一级放大器能将电源功率的百分之几转化为输出功率),一般说来都采用乙类放大方式,但由于晶体管转换特性曲线开始段的弯曲现象,一般都以甲乙类方式工作,才能减少其失真。因此在静态情况下,晶体管必然有一定的电流流通,这个电流叫“静态集电极电流”。静态电流过小,会在环境温度下降时波形发生严重失真。这是因为温度下降,使静态工作点移入特性曲线的弯曲部分而引起,特别在没有温度补偿装置的电路中更应该注意,但是也不应该将静态工作电流调得过大,否则效率就不高,电池就不能得到很好的节约。一般以调到1~2毫安为宜。
推挽电路要求两个晶体管的特性曲线基本一致,否则如果太不一致,也会影响波形的失真。
二、低放级的调试
低放级主要要求其有较大的功率增益;同时要求与末级配合时有较小的失真。低放级系属于小信号工作状态(即被放大的信号振幅较小),因此集电极电流一般较小(1~2毫安)。集电极电流的大小主要根据整个低放级的失真来确定的,这是因为改变了低放级的集电极电流,从而改变了低放级的输出阻抗,以迎合末级放大对信号源内阻的要求,可以使失真最小。大家知道失真最小时不一定恰好是信号源内阻与输入阻抗相匹配。因此在低放级与末级之间接入输入变压器,并不是为了使这两级达到完全匹配,而是通过输入变压器,使末级获得最合适的信号源内阻,从而使失真最小。要决定准确的输入变压器初次级圈数比,在业余爱好者的条件下是困难的。最简单的办法可不断改变低放级的工作电流,并且仔细地倾听音质变化,直到声音最逼真时读下其电流作为其工作电流,但因为主观听觉对小失真不易觉察,因此不能得出准确的结果。
三、来复再生级的调试
来复再生式的电路很多,这里举一例(图3)以示其调试方法。

(1)晶体管的工作电流:这主要以调整电阻R\(_{1}\)来决定,一般说来以调在1~2毫安为合适。其规律如下:工作电流大一点能增加来复低放的功率增益,但会相对地削减作高频放大时的功率增益;反之如工作电流小一点则能增加高频放大时的功率增益,减小来复低放级的增益。这是因为工作电流加大,虽然会增加晶体管的电流放大率,使低放增益获得相对改善;但是使晶体管作为高频放大时的输入电阻减小,并联电容加大,因而使高频增益下降。因此工作电流小一些对灵敏度会有所改进;反之工作电流大一些对音量会有所提高。在城市或近郊处使用时,不妨略大一些,因为这些地区着眼点还在于音量。
(2)高频扼流圈(RFC)的电感量:高频扼流圈在电路中起阻止高频流入变压器T\(_{1}\)的作用以外,它还起到配合提高接收频段低端灵敏度之用。这是因为使用固定再生(C3一次调好后,不再随时调整),不可避免地会使接收频段的高端的灵敏度较高,低端较低(低端频率时C\(_{3}\)的阻抗大,回输电流减小)。利用高频扼流圈的电感与晶体管的输出电容在低端(600千赫)谐振,可以适当改善其灵敏度均衡性。因此最好将扼流圈的电感做成可变式,以便在调试过程中调整。其法如下:将收音机收一个600千赫附近的电台,慢慢调整扼流圈的电感,使音量最大,说明此时已经谐振。扼流圈的电感约在2~4毫亨左右。
(3)再生的强弱(C\(_{3}\)的调整):再生的强弱主要由C3决定,有时C\(_{3}\)调得最小,但再生啸叫仍很大,这时一方面要减少L3的圈数,另一方面要从排列及接线上寻找有无产生不应有的交连或耦合之处,先予以去除。一般情况下当断开C\(_{3}\)接线时,收音机应一点没有再生啸叫声,然后把C3接上,收音机可变电容器转到接收频段的高端(1500千赫附近),调整C\(_{3}\)到快要产生再生啸叫为止,但不应太靠近,否则电池电压下降或坏境温度下降时就会发生啸叫。
(4)高频扼流圈的位置:高频扼流圈的位置也会影响接收频段低端的灵敏度。利用扼流圈与磁性天线棒的磁感应交连,而这种交连在低频时又比高频时来得大,就可以用来改善低端的灵敏度;但也不宜放得太近,太近了低端再生过强引起啸叫,调试时最好边移边听,直到最好为止。
(5)天线线圈L\(_{1}\)及补偿电容C′1的调整:L\(_{1}\)一般绕在磁性天线棒上。移动此线圈在磁棒上的位置就可以改变L1的电感。调整L\(_{1}\)的电感量及C1的电容量,其目的是使收音机能够接收规定频率范围内的信号。调整时可先收听一个550千赫左右的电台,将可变电容器C\(_{1}\)转进去到动片外露部分剩下10°左右,改变L1的位置,使声音最大。然后收听一个1500千赫的电台,将可变电容器C\(_{1}\)转出来到170°左右,改变C′1的容量,使声音最大。如此反复调整两个电台几次,保证这两个电台都在合适的地方出现。如果当地没有这样频率的电台,可选择另外两个高、低端电台调整。至此调整就告完毕。(思源)