像“长江”牌一类的直流五灯机原来设计是要使用甲、乙两组干电池供电的,这样在有交流市电的地方使用当然很不经济。但是,如果把它的电路稍加修改,增加一只整流器作为代甲、乙电源,就可以利用交流供电。下面是一个实验的改装方法,提供大家参考。

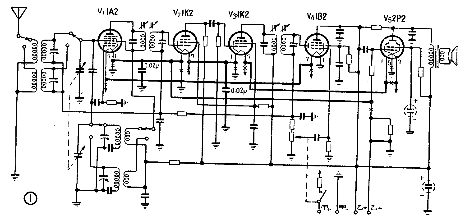
“长江”牌五灯机的原来电路如图1。它采用1A2、1K2、1B2和2P2系列的国产小型管,灯丝供电需要直流1.2伏,30毫安。五只电子管灯丝电路并联, 2P2管的灯丝是作为两组并联的,电压1.2伏,电流60毫安,耗电等于两管,故全机甲电需要30×6=180毫安。这样改用整流器供电,就需要用输出很大的整流管,是不合适的,因之必须改为串联供电。这时电流只需30毫安,但电压则为1.2×6=7.2伏(2P2管灯丝也改为串联,电压2.4伏,等于两管串联所需)。
全机乙电是60~90伏,9毫安。这样甲、乙电总共只需30+9=39毫安,用一只6Z4整流管整流供电,它的最大直流输出是75毫安,足够供应。
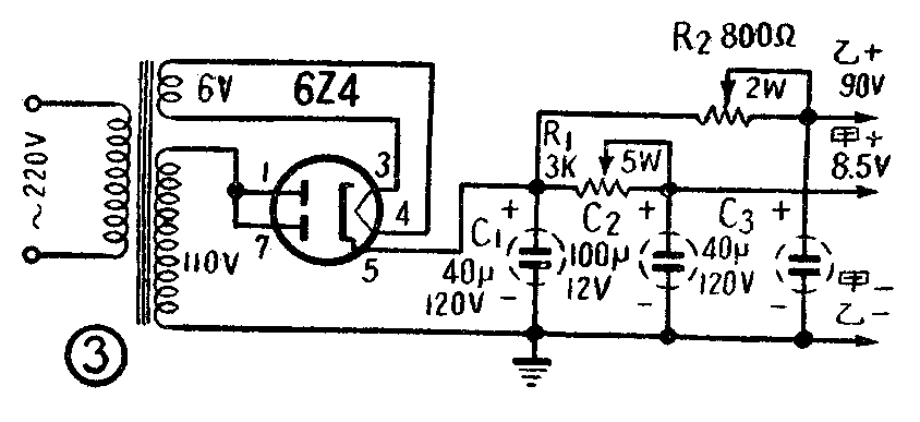
机器改装只要按图1将电路上有×处断开,改按粗线接线。改装后的灯丝供电电路如图2。整流器的电路如图3。电源变压器可用有110伏线圈或初级有110伏抽头的电铃变压器。


由于电子管是直热式的,所以代甲电的整流滤波器必须较好。这里用一只40微法和一只100微法的滤波电容器,和一只3K、5瓦可调节的滤波电阻。

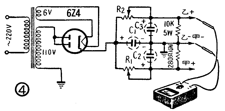
整流器装制完成以后,不要立刻接到收音机上使用,必须调整滤波电阻,使代甲电输出电压是在7.2-8.5伏之间。调整测试时甲、乙电输出端必须接上适当的电阻作为临时负荷,如图4,否则测出的电压是不正确的。乙电代负荷电阻是R\(_{乙}\)=900.009=10千欧;甲电代负荷电阻是R甲=8.5;0.03=280欧。接上代负荷电阻后,即可调整两个滤波电阻(图3中R\(_{1}\)及R2),使乙电输出电压为60~90伏,甲电输出电压为8伏左右,这时1A2、1K2及1B2等管分配到的电压将是1.3伏,2P2管是2.6伏左右。
由于并联的灯丝改为串联,各电子管的栅漏电阻也须改接,否则其工作点将变更,使工作变坏。所以图1中2P2管栅回路中的栅漏电阻应当断开使乙电负极接地,并按粗线更改栅回路接线。同时为了使高频及中频信号电流不致经过灯丝而产生不良耦合,还要在灯丝回路中加上两只0.02微法的旁路电容器。(陈正元)