“宝石”牌4B2型三管手提式半导体收音机上海无线电四厂的新产品。全机重1.6公斤;体积比饭盒略大一些;外型尺寸为230×150×80毫米;机壳采用彩色塑料压制,并配有镏金装饰的塑料度盘和“宝石”指示商标。机箱上端装有软性塑料手提环,便于携带。适合在农村及旅行时收听本地和邻近地区电台的广播。
本机曾在北京、太原、常州、无锡、杭州、宁波、舟山、金华等地试听,效果良好;适合广大农村及无交流电地区使用。它的发音响亮,在30平方米的室内各处都可清楚地收听。本机在市场试销时,颇受群众欢迎,现在正大批生产。
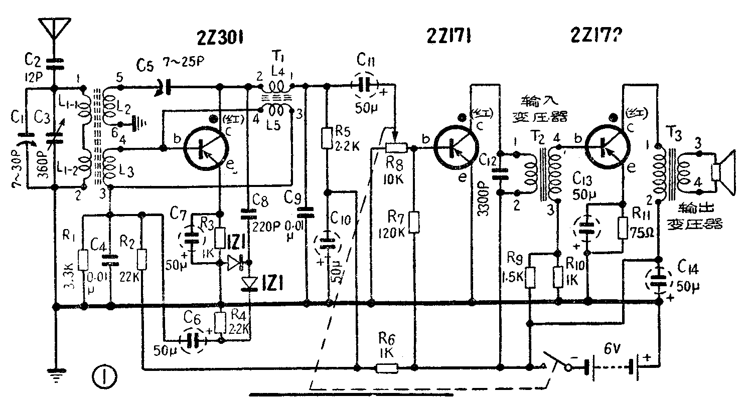
一、电路工作原理
这种收音机的电原理图见图1。

高频信号从磁性天线感应到由 L\(_{1—1}\)、L1—2及C\(_{1}\)、 C3组成的调谐回路,经选择后,以电感耦合至L\(_{3}\),再送到高频晶体三极管(或称半导体三极管) 2Z301为基极b进行高放。经放大后的高频信号,一部分经C5、L\(_{2}\)组成的再生回路,并经过L2和L\(_{3}\)的感应,重返2Z301的基极起再生作用,以提高灵敏度和选择性;另一部分别经C8送到两个晶体二极管1Z1进行检波;由于L\(_{4}\)对高频信号的阻力大,所以只有很少一些残余高频部分能通过L4,而且C\(_{9}\)又把它旁路到地,所以这部分残余高频信号不能传送到后面低频电路去。检波后的音频信号以R4为负载,经C\(_{6}\)、L3再加到2Z301的基极进行来复式低频放大。放大后的音频信号通过L\(_{4}\)后以R5为负载,经C\(_{11}\)R8送到低频晶体三极管2Z171基极进行低频放大。R\(_{8}\)为音量控制电位器,它上面附有电源开关。然后再经输入变压器T2耦合到低频晶体三极管2Z172基极进行功率放大。最后经输出变压器T\(_{3}\)输出到扬声器放送广播。
二、电路特点介绍
1.磁性天线线圈L\(_{1}\)分别由L1—1、L\(_{1—2}\)两个线圈串在磁性瓷棒的两头组成(见图2),以改善方向性。

2. 频率复盖采用负温度系数的拉线微调电容,使整机在环境温度变化时也能稳定地工作。
3. 高频扼流圈上加装次级圈,其优点是:使通过初级线圈L\(_{4}\)的残余高频信号经电感耦合至次级L5,反馈到2Z301基极,以提高整机频率低端的灵敏度,从而使全波段灵敏度的不均匀情况得到改善。
4.在高频放大级和功率放大级均分别采用了稳定性较高的电流反馈式偏置电路(R\(_{1}\)、R3、C\(_{7}\)和R10、R\(_{11}\)、C13),以克服晶体管受温度影响引起工作点漂动的缺点。它是利用集电极电流负反馈来稳定工作点。当集电极电流增加时,电流流过R\(_{3}\)和R11的降压增大,从而使基极与发射极之间的电压减低,自动地控制了基极电流;C\(_{7}\)、C13是为防止交流负反馈用的旁路电容器;R\(_{1}\)、R10分别起着使基极电压相对地稳定的作用。
5. 采用以R\(_{6}\)、C10、C\(_{14}\)组成的П型滤波电路,使全机在电源电压下降而引起电池内阻增高时,工作仍保持稳定,不产生自激啸叫,经试验本机在电源电压下降到2.5伏时仍能稳定地收听本地电台广播。
三、性能指标
1.频率范围:不狭于535~1605千赫。
2. 灵敏度:600千赫、1000千赫、1400千赫三点测试均不劣于15毫伏/米,实际产品性能可达5毫伏/米以下。
3.选择性:1000千赫处偏调±10千赫时衰减实测>15分贝。
4.音量控制作用范围:不小于36分贝。
5.电压不均匀度:在300~3000赫内实测小于6分贝。
6. 整机电压谐波失真系数:不大于15%,实测一般不大于8%。
7. 输出功率:最大输出功率为50毫瓦,实测一般均在70毫瓦以上,最大达100毫瓦。
8. 电流消耗:最大输出时不大于35毫安。
9.电源电压:额定值为6伏(电压下降到4.5伏时,灵敏度不抵于50毫伏/米,实测不低于1O毫伏/米)。
四、元件数据
1.磁性天线(见图2):采用M4型φ10×150毫米M4型磁性瓷棒,L\(_{1}\)以0.06毫米21股绞合漆包线,在φ11×30毫米的浸蜡纸筒上单层密绕35圈为L1-1;以同样线在φ11×4O毫米的浸蜡纸筒上,单层密绕27圈为L\(_{1}\)-2。两线圈分别置于碰棒两头。再在距L1-22~3毫米处,以0.15毫米漆包线单层密绕6圈为L\(_{3}\)。距L3 8~10毫米处,以0.15毫米漆包线绕4圈为L\(_{2}\)。

2.高频扼流圈(见图3):φ10毫米的胶木骨架上,用0.01毫米丝包线,以宽度为4毫米、二折点蜂房绕法绕500圈为L\(_{4}\),电感量为3毫亨。距L4约6毫米处,用同号线同样方式绕300圈为L\(_{5}\)(电感量为1毫亨)。
3. 输入变压器:初级以0.1毫米漆包线绕3180圈(电感量为3亨;直流电阻约400欧);次级以0.17毫米漆包线绕920圈(直流电阻约50欧)。
4.输出变压器:初级以0.25毫米漆包线绕585圈(电感量0.11亨;直流电阻约10欧);次级以0.59毫米线绕101圈(用8欧扬声器时绕153圈,4欧绕108圈)。
输出、输入变压器均采取单层密绕,除初、次级间隔有绝缘纸外,在每层间也都隔有绝缘纸;并都经过绝缘剂真空浸渍,以防中间短路。硅钢片都采用EI形,铁心截面为9×9毫米。
5.扬声器:采用“飞乐” 503—Bi型直径130毫米、音圈阻抗为3.5欧的动圈式扬声器。
6. 晶体管的选用:在装配前均经严格挑选,各项参数基本相近,以适应大批流水生产的要求。而且,由于电路设计上作了考虑,除去h\(_{11}\)过大、工作点调不上或噪声太大的管子外,其他各型高、低频同类管均能代用,以便于更换。本机各管的作用为:2Z301作高频放大兼低频放大;2Z171作低频放大;2Z172作功率放大;1Z1×2作检波。其管脚接法见图4。

五、装配与调整
装配:(一)本机除扬声器固装于塑料机壳外,全部元件均安装干胶木板上(见封底图),结构牢固,能避免各相关元件间的不必要感应,且便于大批流水装配。 (二)磁性瓷棒装在机箱上端,用软性塑料支架固定,既防震,又与扬声器等能降低磁棒效率的元件离开一定距离,使磁性天线处于最佳状态。(三)高频扼流圈用胶木骨架固定在离开磁性天线最合适的位置;骨架中心装有螺纹形可调磁性瓷心。

调整:本机在大批生产时,均用高频信号发生器、电子管毫伏表等仪器调试;各晶体管的基极偏流电阻均为固定值,流水安装时不需调节。为了便于业余爱好者在缺乏仪表的场合调试的需要,特提供下述方法供参考。
1.各晶体管集电极电流的调整:先后在各级的晶体管的集电极电路内接入毫安表。逐级调节各管的偏流电阻,将各管集电极电流调到下列各值:
2Z301——调节R\(_{2}\)阻值,电流调至0.7~0.8毫安;
2Z171——调节R\(_{7}\)阻值,电流调至1.5~2毫安;
2Z172——调节R\(_{9}\)阻值,电流调至22~25毫安。
2. 频率复盖:频率范围以调至520千赫至1620千赫最为相宜,一般低端都能达到,而高端可调节7~30微微法拉线微调电容器C\(_{1}\)来完成。调整时将微调电容器的线圈一圈一圈慢慢地拆去,到合适为止。
3. 灵敏度:首先加大C\(_{5}\)瓷介半可变再生电容,以提高频率高端灵敏度,应调节到离开再生振荡点有一定余量的距离,以使全机工作稳定。其次,再调节T1的磁性瓷心,增加电感,以提高频率低端灵敏度。然后再复查高端,如出现再生振荡时,则可适当减小C\(_{5}\)的电容量,或T1的电感量。这样往返调节,使全波段灵敏度达到比较均匀为止。
六、使用说明
1.将机箱右上角的旋钮边沿向左摩动,即开启电源及增大音量。旋转度盘能够选择需要收听的电台节目。“宝石”商标兼作指示电台频率用的指针。
2. 收听时,转动机箱的放置方向,使机内磁性天线方向改变,就能获得灵敏度最高和干扰最小的合适位置;机壳的左侧,备有外接天线插孔,可供收听远地电台时加接外天线用(此时必须装避雷器,以免雷击)。
3.安装或更换电池:先打开机箱的后盖,连套管取出电池,将二号电池四节,按套管标出之“+ 、-”极接入管内;然后以标有“-”极者,接在电池夹的有弹簧的一端。另一端电池夹则接“+”极,即电池铜帽。本机如较长时间不用,最好将电池取出,以免日久电池电液外泄腐蚀机件。此外,尽可能不要长时间连续使用,否则电池和晶体管的寿命会大大缩短。本机每天如收听2~3小时,约可使用两个月。
试听情况
本机作过多次使用试听,曾在舟山海面试收,可以收到上海电台广播。在浙江余姚农村中试听,不需要接天线,晚上能收到中央、上海、浙江、江苏、福建、广州、宁波、武汉、安徽、山东及朝鲜平壤等二十几个电台。(朱永浩)