一般家庭用的五、六灯超外美式收音机可以收听到不少的电台,选择性亦不算坏。可是在收听远地电台的广播时,往往还会被杂音所干扰。
怎样才能进一步提高收音机的灵敏度和选择性呢?一般有两种方法,即加上一级高频放大或者一级中频放大。
加上一级中频放大级,中频增益可以提高约30~35分贝,可是二级中频放大的综合通频带一般会变窄,噪声也将增大很多,这是我们所不希望的。
加上一级高频放大级,由于它的频率较高,增益一般只能提高10~20分贝,仍不算很理想。同时,因为它需要将原收音机的双连可变电容器改换成三连的同型可变电容器;并增加上与原收音机相同的成套线圈,同步工作也很复杂,所以做起来很不方便。
达里介绍试装的高放附加器是一只独立的高频预选放大器,它与装在收音机里面的高放级不同。一般装有一级高频放大级的收音机,只在变频管栅极回路方面有一段调谐回路可以衰减像频,而这只预选放大器却在屏极回路方面还有一段调谐回路,与单纯的高频放大级相比,可以获得更好的防像频效果,增益亦可以达到25~30分贝。再加上由于采用了阴极输出器电路,它的输出端是低阻抗的,不易受杂散感应,所以便可以置于现有的一般收音机前面而将其输出直接接到天线端子上来使用。

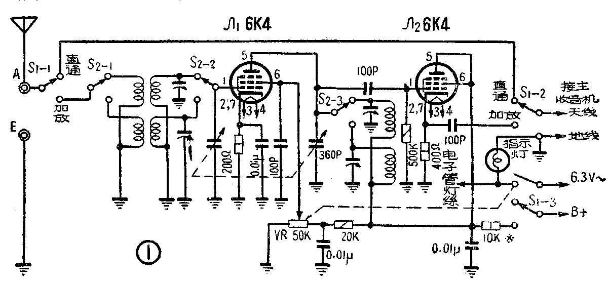
放大器电路如图1所示,共用两个6K4电子管,前一个做高频放大用,后一个做阴极输出器用。在前一个6K4管的输入与输出两侧皆有调谐回路,以提高其增益与选择性。同时,用可变电阻控制其帘栅极的电压以调整其增益。
后一个做阴极输出器用的6K4管接成三极管。它的输入阻抗很高,所以可使前级高放管的屏极等效阻抗很高,以获得较高的增益。它的输出阻抗很低,易与主收音机的天线输入线圈阻抗相匹配。
调谐回路分成多波段的,使每个波段的复盖频段不过大。电源完全取自主收音机,用多头插销相联接。经实验在一般五灯机上接用,电源过载问题不大。
装配制作
零件选用方面,电子管应当采用互导率高,栅屏极间电容量小,输入阻抗高的,这里是采用6K4,如用6J3亦可直接代用,也可以用一只6U1七极三极复合管。双连电容器本机采用一般市售的360微微法的。但它的最大与最小电容量之比值较大,使复盖波段较大,所以最好采用容量较小的。线圈可选购与现有收音机的波段范围相适应的具有高Q值的线圈。本机试制时利用了手头由旧收音机柝下来的有可调高频铁粉心的线圈。微调电容器应使用瓷介半可变电容器。波段开关应选择接触电阻小的,瓷质的,或者胶木化层压纸板制的。其余零件的选择与一般收音机的原则相同。因工作频率较高,零件的质量如不好,将会影响放大器效果。

本机的结构如图2,在安排与接线中与装配一般收音机相同,应注意的主要是天线线圈与屏极线圈应装在波段开关两侧,或者予以隔离,以减少耦合产生自激的可能。接线应尽量短捷,且不宜与底板太靠近。
为便于接通电源,本机将输入电源的接线集中焊接于旧花生管的下半截作为多头插销,与由主收音机引出来焊接在小灯座上的插座相配起来用。旧花生管被截下来的上半截还可以做指示灯的灯罩用。
调整使用
当装配好检查接线无误以后,将电源接上,打开主收音机的电源并将预选放大器的电源开关接通。这时预选放大器的天线端子上可以先不接天线,将其可变电阻钮放在中间位置上。然后将预选放大器的天线开关转入“加放”侧,再慢慢地旋转预选放大器的可变电容器。如在某一段有啸叫声,则可以调整可变电阻来减低Л\(_{1}\)管的帘栅极电压于适当位置。这时,未级6K4管的屏极电压应当是在100~130伏,太高了工作不稳定,低了则增益不大。
如一切正常则可进行调整。调整原理与调整一般收音机的高放级线路相同,可以按下面步骤进行。
主收音机不接天线,将它调谐于短波低频端(如在4兆赫处),预选放大器也调谐在低频端的同一点上,然后调预选放大器Л\(_{1}\)管屏、栅两回路的线圈磁心,调整到“沙沙”声音最高。调整好以后,再将主收音机与预选放大器全统一调谐于高频端的某一点上,调整放大器两回路中的微调可变电容器,使“沙沙”声最大。
这样,经过几次反复调整以后,便可以将天线接于预选放大器的天线端子上正式使用。
不妨先将S\(_{1}\)倒于“直通”的一侧,使天线直接通于主收音机,按照一般正常寻选电台的方法,找到一个微弱的广播电台信号,然后再将天线开关倒于“加放”侧,使天线接入预选放大器,调整预选放大器的可变电容器,当扭转到某一点时,这一个电台的信号便会突然加大。这时再仔细调整可变电容器,使音量最大。(学君)