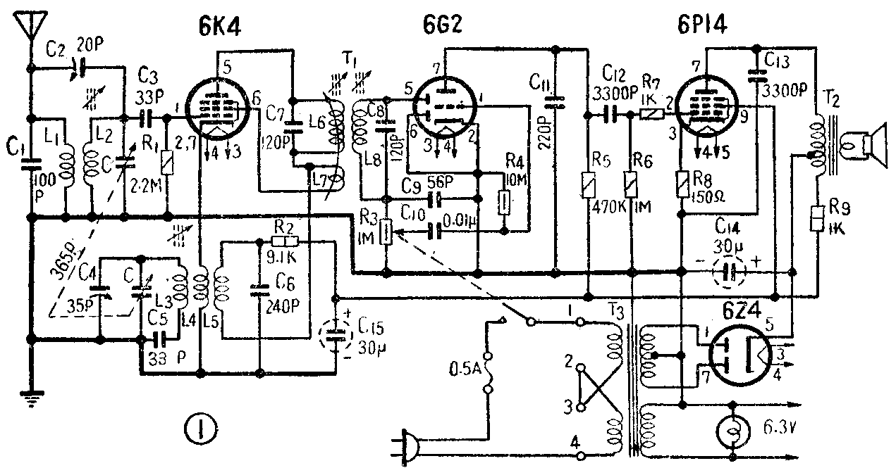
凤凰4202—A型交流四灯收音机,在性能上符合国家广播收音机四级机规定的要求。从图1中可以看到它没有中放级,但音频放大级与较高级收音机的相类似。由于采取了一系列措施,虽然省用一个电子管,但仍然取得了较高的电性能指标。

一、电路特点介绍
(1)本机消除了一般普及机中常见的错综调制(或称交叉调制)的现象。曾对一些收音机的输入电路进行研究,发现了两个情况;一个是输人电路耦合太紧,天线线圈(即初级线圈)影响调谐线圈,使它产生过大的失谐,以致在整个波段内同步跟踪不良;另一个情况是初级电感太小(一般在1.2毫亨以下),如果不加室外天线,而只用1—2米长的拖线时,并联于天线线圈上的等效电容太小,约只有40微微法左右,结果使得初级天线回路的谐振频率F\(_{A}\)接近或落入了接收频率范围,更增加了上述失谐现象。所以在天线线圈上并联了一个100微微法的电容器C1,人为地增加上述并联等效电容,使天线回路的谐振频率在用拖线时相当于最低接收频率的70%。另外,考虑到本机灵敏度比较高,不必过多依靠输入电路提供增益,因此选用了K=0.175的耦合系数(它比典型的五灯机耦合系数K=0.15略大,但比一般四灯机都小)。采取了这两种措施以后,通过多次实地收听与用双信号测试,发现本机与一般五、六灯机相比已毫不逊色。
(2)五极管变频:图1所示变频器部分近似地可以分为一个五极管放大(混频)器和一个栅极接地、屏阴极间用电感耦合的振荡器,分别如图2中的a、b所示。我们知道,将电子管阴极接地从栅极输入信号电压,与栅极接地从阴极输入信号的作用是相仿的。这种振荡器就是采用后者的形式。由于本地振荡频率比输入信号频率高一个中频(465千赫);输入回路对本振频率来说阻抗很低,因此可以近似地认为栅极是接地的。为了避免振荡线圈在阴地之间对输入信号产生过多的负回授作用,因此将阴极不接在调谐线圈L\(_{3}\)上,而是单接了一个低阻抗的耦合圈L4。因此通俗的说这种变频器是将本振电压与输入信号电压串联地馈送到变频管的栅阴极之间进行变频的。经过实验证明,这种变频器有着变频增益高而又节省零件的特点。

(3)可校正的帘栅极正回授:与本刊过去介绍过的一些四灯机一样,本机也采用了帘栅极正回授,以提高灵敏度及选择性。但以往的一些产品由于中频变压器与回授线圈的耦合度是固定的,而正回授深度在很大程度上又是随电子管的帘栅极对屏极的跨导S\(_{sa}\)为转移,加以Ssa在电子管生产厂是不作严格要求的,这就严重地影响了整机性能的一致性。本机采用了可校正的回授圈后,从根本上补偿了S\(_{sa}\)不一致所引起的不良后果。整机出厂前回授线圈的位置都已经过校正。换用新电子管后通常不须重校。如为求得最佳效果,可将回授线圈位置固定在中频灵敏度为600微伏处。此时回授深度约为10分贝。

(4)无外罩中频变压器:为了便于调节回授线圈,故采用了无外罩的中频变压器,其结构如图3。回授线圈L\(_{7}\)套在塑料支柱上,可以在它上面移动,以改变回授。此外,中频变压器的质量是由调谐回路的电容器质量及线圈的品质因数(常称为Q值)来决定的。通常采用优质的磁介电容器,Qc已不成问题;但线圈的Q值则受到下列因素的影响,例如:线圈的绕线不可能采用很多股数的编织线;磁心的导磁率不一定很高;磁心的体积也不能很大;磁心的结构也不一定能构成封闭的环路;以及中频变压器外亮将一部分磁力线短路,吸收一部分能量,因而产生类似短路的影响等。上述各项因素中,前几条的改善往往都要增加成本或受到条件的限制。唯有外壳影响是比较好解决的,因为在本机中没有中频放大管,取消中频变压器的外壳并不会产生自激,而Q值却能大幅度提高。这样一方面降低了成本,一方面又改善了性能。采取这一措施后,使中频变压器线圈的无载Q值提高了30左右,从而使灵敏度、选择性等指标有所提高。
回授线圈的位置在修理时如需调整而又无仪器,可采取如下方法:先将回授线圈放在最靠近中频变压器线圈的位置,然后旋动双联可变电容器,任意接收一个广播节目(最好是接近高频端的)。然后向电台中心频率两边反复缓旋双连可变电容器,听听有没有啸叫声。如有啸声,应将回授线圈朝底板方向微微移动一些,再仔细听听,如此反复试验直到没有啸叫声为止。最后用磁漆将同授线圈的位置封固。
(5)使用大跨导功率放大管:采用跨导比较大的6P14(约比6P1大一倍)作为功率放大管,并调整其屏压及工作状态,使它在比较省电的状态下工作。采取这一措施使音频灵敏度提高到20毫伏左右。但使用这种电子管容易产生自激,所以在栅极输入端串入了一个1千欧的电阻,以抑制音频或超音频的自激。
(6)中和屏栅电容的影响:当电子管栅极电路的谐振频率(也就是输入信号频率)比屏极电路的谐振频率高时,屏极电路就呈现为一个电容性的负荷。这个电容性的负荷通过屏栅之间的电容C\(_{ga}\)(包括电子管内部极间电容及管座联线间的电容)对栅极会起一个降低输入阻抗的作用。不幸的是这种情况正是变频管的工作情况,因变频管的屏极负荷是中频变压器,它的谐振频率是465千赫,低于栅极的输入信号频率,因而呈现电容性,它对输入回路所起的影响可以等效地看作是在输入回路上并联了一个电阻R′(见图4),从而降低了输入回路的Q值,导致整机的灵敏度和像频抗拒此等一系列指标降低。本机在变频管的电源电路中接了R2C\(_{6}\)。C6的电容量很小,在这里不是起退耦作用,而是与变频管的输出电容C\(_{ae}\)、栅极与帘栅极间的电容Cgs,以及C\(_{ga}\)接成一个桥路。来抵消Cga的影响。图5a、b表示这个电桥的原理。当C\(_{6}\)= Cae\(\frac{C}{_{gs}}\)Cga时,电桥平衡。由于中频变压器PB.两端电压的相位相反,故电桥平衡时,P、B二点对G点的反馈电压大小相等,相位相反,从而抵消了C\(_{ga}\)的影响。在本机中Cgs约为7微微法,C\(_{ae}\)约为12微微法,Cga约为0.4微徽法,故C\(_{6}\)应为200微微法左右。采取这一措施后,整机灵敏度提高了100微伏左右。


二、电气性能指标
1.接收频率范围:520~1620千赫
2.中频频率:465±2千赫
3.灵敏度:600千赫时小于400微伏1000千赫时小于300微伏1520千赫时小于200微伏
4.选择性:偏调10千赫时,衰减大于20分贝
5.中频波道衰减:大于12分贝
6.像频波道衰减:大于20分贝
7.高频机震:无
8.交流哼声:大于于—50分贝
9.音量控制范围:50分贝
10.频率响应特性:200~3000赫范围内不均匀度5分贝
11.不失真输出功率:2伏安
12.谐波失真系数:200~400赫4%400~3000赫3%
以上各项指标是该机1000架的平均值。
三、线圈及变压器数据

(1)输入线圈(图6):采用Man1M6×l×12型磁心。L\(_{1}\)用φ0.12毫米单丝包线蜂绕367圈,宽度4毫米,加磁心的电感量为1300微亨,Q≥40。L2用4×0.08毫米单丝包编织漆包线峰绕118圈,宽度4毫米,加磁心的电感量为250微亨,Q≥100。

(2)本机振荡线圈(图7):也采用Man1M6×1×12型磁心。L\(_{3}\)、L4、L\(_{5}\)都用φ0.12毫米单丝包线绕制,蜂房绕法,宽度4毫米。L3绕84圈,加磁心电感量为138微亨,Q≥70;L\(_{4}\)绕16.5圈;L5绕24.5圈。

(3)输出变压器(图8):铁心采用尺寸为GI—12的D310型硅钢片,迭厚12毫米。初级线圈I用φ0.11毫米漆包线,①一②段绕64圈,②—③段绕3130圈。次级线圈II用φ0.41毫米漆包线绕制,④—⑤段绕88圈,可接3.5Ω 扬声器;⑤—⑥段绕6圈,④—⑥段可接4Ω扬声器。

(4)电源变压器(图9):铁心采用尺寸为GI—19的D41型硅钢片,迭厚为38毫米。初级线圈I用φ0.2毫米漆包线绕2×580圈;次级线圈II用φ0.12毫米漆包线绕2×1050圈。次级线圈III用φ0.83毫米漆包线绕37圈。
四、结构特点
本机的底板结构是较为特殊的,它由两部分组成。从本期封底结构图不难看出,“主机底板”是一块垂直安装的平板,它上面装有变频级、中频变压器、检波及音频放大、功率放大等部分,电子管插入方向是水平方向。大部分零件装在电子管管座的一面(或称为底板的里侧);但也有不少零件装在外侧。在里侧平行的装有用0.8毫米薄铁板做的一块度盘挡板,这样一方面避免从度盘的字迹空隙中直接看到里面的零件,有损美观,另一方面它本身构成了一块屏蔽板,消除了人体对调谐的影响和噪声。这一点对于垂直安装的底板结构是很重要的。在功率放大管6P14的上面装有一块水平方向的小铁板,它主要起绝热作用,以免6P14的热量烘烤机壳发生机壳变形,以及油漆变色龟裂等现象。本机的指针是用聚苯乙烯塑料压制的,利用一个特殊的弹簧卡牢在度盘拉线上。为了避免指针在滑动时前后摇摆不定,故底板上沿就兼作了指针的滑轨。由于机箱内部零件安排紧凑,为了避免发生机震,本机采用了双重减震装置,即底板下有减震胶垫及双连可变电容器支架上又有减震胶垫,这样就从根本上消除了机震现象。主机底板与机壳之间的联接,是靠齿形螺孔(见附图10)来实现的,这样就省去了通常底板下面要有支脚的麻烦。

另一部分底板是“电源底板”。它上面装有电源变压器、整流管、滤波电容器等。这样一方面能更好的利用了扬声器四周的空间,同时由于位置比较矮,故热量容易从后盖板的通风孔中散发出去。电源变压器是靠一组压条扭装在底板上,这组压条上还有两个拉伸的螺孔,使两块独立的底板联接在一起成为一个整体。
采用如上所说的底板形式,解决了这样一些问题:①两块底板都是用平板,不用打湾,因而在制造上便于裁剪、冲压和电镀,从而降低了生产成本;②更好地利用了机壳内的空间,使机壳高度降底,厚度缩短,因而使外形小巧美观,而且节省材料。(沈铭宏)