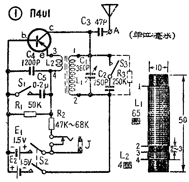
一般用晶体管的高频信号发生器至少要用两只三极管,一管产生高频等幅波信号,一管产生音频信号来对高频进行调制。这里介绍的高频振荡器,只用一只高频三极管(П—401)就能产生已调幅的高频信号。这主要是采用了“自调幅”电路,利用加大发射极电路中RC的时间常数使其产生间歇振荡的方法,来形成“自调幅”作用。此外,本机也备有“外调幅”输入插口,可直接利用拾音器的输出来调制高频振荡。全机电路见图1。

高频振荡器采用共基极电感反馈式振荡电路,调谐回路接在集电极电路内。在产生振荡的过程中,电源开关S\(_{2}\)闭合,当集电极电流Ic流过调谐回路L\(_{1}\)C1时,设某一瞬间L\(_{1}\)上的电压为上正下负(如图2),由于L2与L\(_{1}\)同相,L2上的感应电压也是上正下负,这样就相当于增加了发射极的正向偏压,使I\(_{e}\)与Ic加大,促进了振荡的进一步增强。与此同时,由于I\(_{e}\)向电容器C4充电(如图2中虚线所示),又产生了一个与原正向偏压相反的负压(e端为负,b端为正),限制了I\(_{e}\)、Ic的进一步加大与振荡的继续增强。于是振荡器就被稳定在一定的平衡点上,维持等幅的高频振荡。这时电容器C\(_{4}\)与电阻R1的作用,与电子管振荡器中的栅极电阻与电容相似,起着自动平稳振荡幅度的作用。

当图1中开关S\(_{1}\)闭合,使C5与C\(_{4}\)并联后,由于电容量增加了约200倍(从1200到201200微微法),使发射极电路中的RC时间常数大大增加。因此,在振荡器开始振荡时,由于电容器C4、C\(_{5}\)充电的速度很慢,以致在负压还未来得及建立之前,振荡的幅度就已迅速增大。振荡幅度增大,发射板电流Ie也随着加大,使电容器C\(_{4}\)、C5被充上较高的负压。当负压增大到一定程度时,自激振荡条件被破坏,振荡器便停止振荡。这时,晶体管便处于截止状态。C\(_{4}\)、C5上的负压通过R\(_{1}\)与E1、R\(_{2}\)放电(如图3的箭头所示),并在负压放完后继续被E1充上正压。于是,晶体管又开始导电,使振荡器重新开始振荡。振荡器就这样不断地重复上述过程,产生了类似自灭式超再生机中那样的间歇振荡。适当选择电容器C\(_{5}\)的容量,就能使间歇振荡的重复频率处在音频范围以内,使振荡器输出一个按照这一音频频率调幅的高频信号。


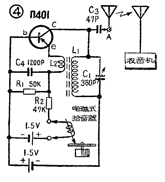
本机除了可输出等幅的与“自调幅”的高频信号外,还可利用外部的不同频率音频信号输入到发射极电路来进行调幅。由于发射极电路中的电压与电流都很小(在图1的发射极电路中I\(_{e}\)为30微安上下,E1仅1.5伏),只需要输入很小的音频电压,就足以进行有效的调幅。因此,可以直接利用电磁式拾音器(电唱头)的音频输出(输出电压为0.25伏左右)插入插口J中进行调幅。这时本机不仅可作为高频信号发生器,还可如图4所示,作为一具“无线电唱机”放送唱片,用收音机放音收听。由于本机的输出功率很小,仅在数十微瓦以内,比一般电子管外差机中本机振荡器的功率还小得多,故不会干扰邻居的收音机。由于输出小,使用时可将振荡器天线端与收音机天线相互靠近。收音机天线只要有2~3尺长已够,太长反而易受外界电台干扰。如果是灵敏度较低的简单收音机,则可直接将两天线连接在一起。如果是使用磁性天线的晶体管收音机,可将两机的磁棒互相靠近(顺轴线方向对齐)。这样的一具“无线电唱机”与普通电唱机相比,具有以下优点:(1)不必与收音机直接相连,故可适应于各种程式的收音机,而不必考虑它有无拾音器插口或插口的型式不合等等。(2)充分利用了收音机全机的放大量,灵敏度比从拾音器插口输入时要高。(3)由于中频放大器有一定的选择性,能限制5千赫以上的边频通过。故可大大削弱电唱头输出中的沙沙声(其频率多在5千赫以上)。
除了以上用途外,本机还可与收音机配合作为电码练习器。这时只要在图1的插口J中插入一只电键,并将“自调幅”开关S\(_{1}\)及电源开关S2闭合,即可向收音机发出调幅电报信号。
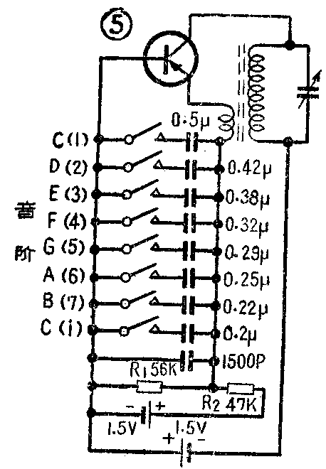
利用同上原理,本机还可装成为一具电子乐器。将图1电路中的C\(_{5}\)与S1改成图5中的8只电容器与琴键,则可成为一具“无线电琴”,音调可以调整R\(_{1}\)、R2的阻值来校正。

下面谈谈图1电路的实际制作与零件选用等问题。
线圈L\(_{1}\)、L2:在φ10×50毫米的磁性瓷棒上用0.31毫米(30号)左右的纱包线绕65圈为L\(_{1}\),用同样线绕4圈为L2。L\(_{1}\)、L2两线圈的绕制方向一致,接法如图1所示。
调谐电容器由C\(_{1}\)与C2组成:C\(_{1}\)为单速可变电容器,最大电容量为360微微法;C2为云母固定电容器,受开关S\(_{3}\)控制。单独接用可变电容器C1时,调谐范围包括整个中波广播波段。为了从振荡器得到465千赫的中频信号,可闭上开关S\(_{3}\),把C2并联上去。C\(_{2}\)的容量大致为250微微法,合适的数值要由试验确定。
电路装好后,当调谐回路L\(_{1}\)、C1的品质因数(Q值)较高时,可能只产生等幅振荡,而不能产生间歇振荡(即C\(_{5}\)并联上以后仍为等幅振荡)。这是由于C4、C\(_{5}\)充上的负压不足以破坏自激条件而使振荡停止。为了促使振荡在此时产生间歇,可采用在L1、C\(_{1}\)上并联阻尼电阻R3。(250千欧)的方法来降低Q值。此外,如果L\(_{2}\)与L1的距离过近,或L\(_{2}\)圈数过多,R2阻值过小,也都可能增强了等幅振荡而无法产生间歇振荡。反之,如果L\(_{2}\)距L1过远,或L\(_{2}\)圈数过少、R2阻值过大、R\(_{3}\)阻值过小,则将连等幅振荡也无法产生。
电源由两节1.5伏干电池串联供电,中点接基极+1.5伏电池E\(_{1}\)供发射极电路,-1.5伏电池E2供集电极电路。电流I\(_{e}\)与Ic均约30至40微安左右(因为α≈1,故I\(_{c}\)≈Ie)。由于耗电极省,故可用最小型的或其他机器上用旧了的干电池。如果采用一组不抽头的3伏电池供电,则可另加两只分压电阻R\(_{4}\)、R5(各1千欧),并将S\(_{2}\)由双刀开关改成为单刀开关如图6。但这种接法将使电源消耗增大,电池输出电流约1.5毫安,比前一种接法的耗电要多许多倍。

晶体管可用П401或ZK306等各种型号高频管。由于采用的是共基极接法,电流放大系数α=\(\frac{β}{β+1}\)。不同的晶体管在共发射极电路中β值可能相差很大,而在这里则α变化很小,始终近于1(例如当β=19时,α=0.95,而β=99时,α=0.99。当β变化5.2倍时,α的变化仅不到5%)。故I\(_{c}\)≈Ie,而I\(_{e}\)≈E1;R\(_{2}\),当电池电压E1与R\(_{2}\)阻值一定后,Ie与I\(_{c}\)的数值也就基本一定,受改变晶体管型号或换用晶体管的影响不大,这也是共基极接法的一个优点。(洪德庚)