近年来印刷接线法在无线电工业上已用得十分广泛。不久以前,这方面又出现了一种有趣的新东西,这就是所谓“栅状印刷接线板”。这种接线板可用来装制各种电子仪器。业余爱好者用它装制印刷电路的收音机也很适宜。

“栅伏印刷接线板”形状如图1所示。它是一块表面蒙有一条条带状铜箔的胶木板。外国常见的产品规格有图1a和b所示的两种。一种尺寸为100×150毫米(图1a);另一种有80×150毫米的和62×100毫米的(图1b)。它除了用来装制整个仪器之外,也可用来装配其中的部分线路。具体尺寸还可根据仪器的大小随意裁取。
采用这种接线板时,接线方法是按如下程序进行:

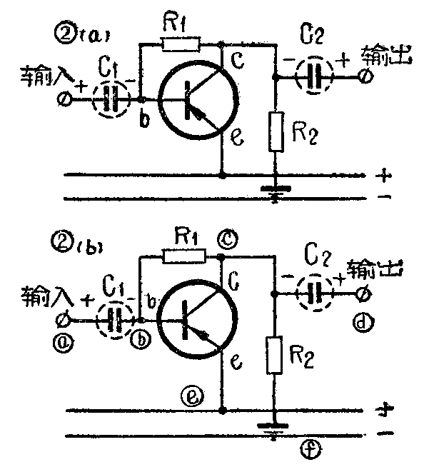
例如装制一级图2a所示的晶体管低频放大器。首先按照原理图把各个连接点标以拉丁字母。然后再数出各个接点所包含的接头数目,列出一个表来。
接 点 a b c d e f
接头数目 2 3 4 2 3 3

根据这个表格便可拟定出接线方案,见图3a。在安排时应仔细考虑,尽可能充分利用板上的铜箔。平行导线间可能产生正回输,在安排时应加以考虑。例如图2b中,输入端的接线;而输出端的导线,电池的负极和公共接地端,在布线时将在57间,就有些“隔离”作用。
然后再画一个接线图,并在各个接点旁边具体标注出各元件引线的名称(图3b)。最后作出接线板的加工图,即绘出所需接线板的形状(图3c),以便加工。
根据加工图把板上的铜片裁切成所需的形状,如图3c的第二和第四条带上各有一断口,这可用磨快的小刀,切去不需要的铜箔。要注意切割后应保证两段之间可靠地绝缘。
在带状铜箔上需要焊接零件的地方钻出孔来。钻孔时最好从有铜箔的一面钻下去。所用的钻头为直径0.8毫米。在元件引线较粗时可钻到1毫米。
装配的零件布置在板的背面,焊接前应先把零件的引线从相应的孔中穿出,量好长度,取出剪短后再从新穿入,然后用锡把它和板上的铜箔焊在一起。焊接时要注意:焊片上的氧化物要清除干净再涂上松香或焊膏。元件的引线上应先用烙铁镀上一层锡,以保证焊接牢靠。所用的电烙铁应当用小一点的烙铁头,烙铁头宽度最好不要宽于铜箔。同时还要留心焊锡不要流到缝里或沾到相邻的片上。
假如需要装配其它组件,如电子管插座和可变电容器等等,可另作一专用的金属底板,把它装在安放零件的一面上,四角用螺钉固定。这时必须注意,该底板与零件间应保持1.5~3毫米的距离。四角上的螺钉不应当和铜箔接触。(吕叔森编译)