本机是专供农村及无交流电地区收听广播而设计的收音机。它的线路是简易型三管高放再生来复低放式。本机有台式和手提式两种外形,可适应不同用户的需要。
生产简易型半导体收音机,一个重要的技术问题是挑选晶体管。简易型可以做成两管的,也可以做成三管的,或四管的。两管机需要较严格地挑选晶体管,同时也不易达到比较理想的收听效果。所以不便于大量生产,也难以使使用者满足。四管机在性能上比三管机略有提高,但成本则比较高。本机正是在克服两管机和四管机缺点的基础上设计出的。它比两管机只多加了一级阻容耦合音频放大级,但性能比两管机提高很多;而且在保持整机有较高性能的情况下对晶体管的要求可以降低,易于组织大量生产。所增加的元件不多,只要加添一只要求不高的晶体管、一只低压大容量电容器和两只1/4瓦电阻。
工作原理

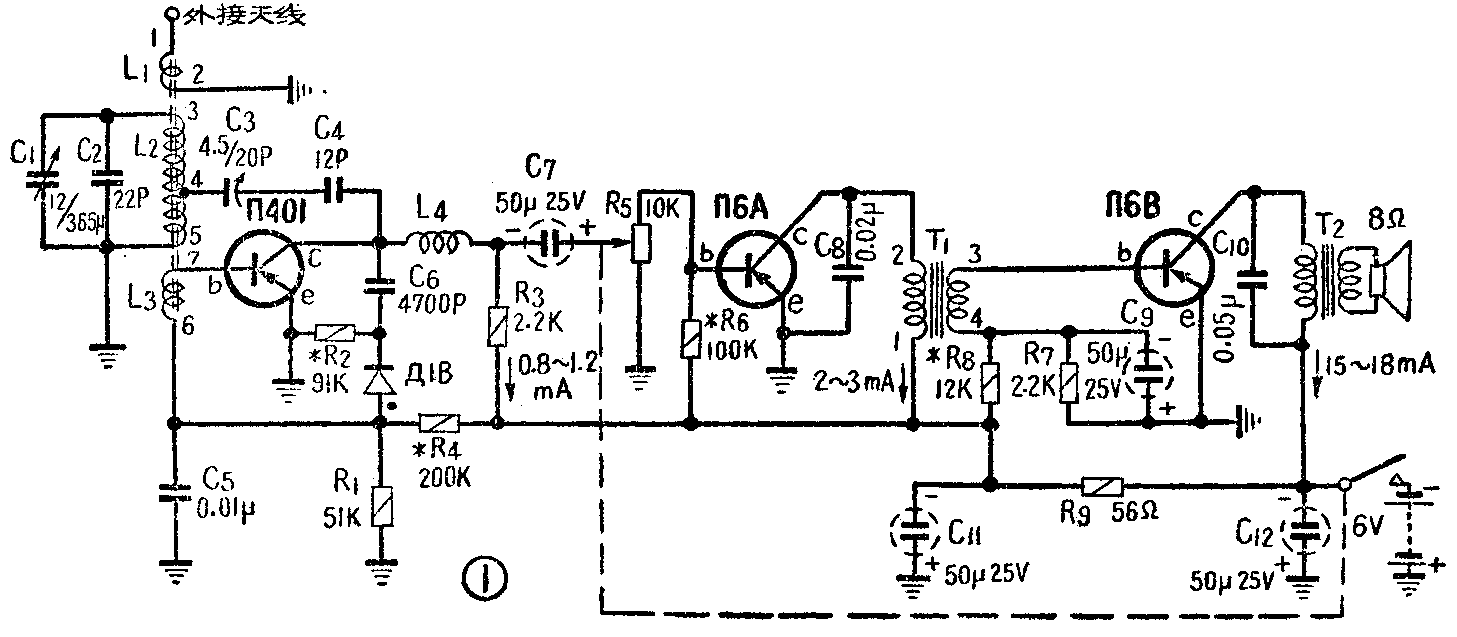
本机电原理图如图1所示。
高频信号从外接天线经L\(_{1}\)耦合或者由磁性天线感应至L2、C\(_{1}\)、C2组成的调谐回路,再经L\(_{3}\)送至П401基极。放大后一部分经C3和C\(_{4}\)正反馈到L2,以提高灵敏度和选择性;另一部分经C\(_{6}\)耦合至Д1B检波。检出的音频信号以R1为负载经L\(_{3}\)加至П401基极作来复式音频放大。放大后的音频信号经高频扼流圈L4,以R\(_{3}\)为负载,经C7、R\(_{5}\)输入至低频放大级,再经一级功放,以国产高灵敏度扬声器为其终端负载。三个晶体管的工作状态分别由它们的基极电路内的偏流电阻R4、R\(_{6}\)和R8来调整,各管集电极电流调整在下列范围:П401为0.8~1毫安;П6A为2~3毫安;П6B为15~18毫安。
本机电路有如下特点:

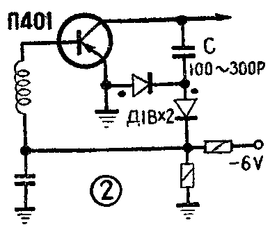
1.检波级:一般简易式均采用倍压极波电路,二极管接成正向,如图2示。这使基极回路电阻较小。这样虽然可以使热稳定性较好,但是由于二极管正向电阻小,使П401集电极高频负载电阻减小,不得不把检波耦合电容减小,这会使该级增益降低。本机把检波电路改为单二极管,而不用倍压,且将二极管反接,再用R\(_{2}\)作为阻抗匹配调整。这样便提高了检波回路(亦即基极回路)电阻和集电极负载电阻的阻值;同时耦合电容C6也可相应地增大至4700微微法。这使得级增益与倍压检波不相上下,而在经济上可省去一只晶体二极管。值得指出的是C\(_{6}\)的容量不能再大,否则就会使来复放大后的音频也耦合至检波级,影响调制度。试验证明,由于反向检波的作用,使R1上的偏压随信号的增强而起正向偏流作用,使强信号时П401不致因饱和而引起大的失真。测试结果表明,这种检波电路的大信号失真比其他电路小。当然,由于П401基极回路电阻增大,其热稳定性也较差,但工厂试制一批样机,在春季室温20℃左右时生产,经历了武汉市最高温度的夏季,收听情况正常。其次是偏流电阻R\(_{4}\)因管子不同而调整的阻值变化范围较大,但在实际生产中并不致造成额外困难。下面将会谈到。
2.音量控制:本机根据晶体管输入阻抗很低,输出电流(电压)与输入电压成指数关系,而与输入电流有线性关系的特点,我们把音量控制接成电流控制电路,这使得控制灵敏,而且变化比较均匀。
3.电源退耦电路的电容量比较大,且加了一节R\(_{9}\)C12滤波电路。这样可以在电池电压降到比较低的时候也不致发生啸叫声。试验证明,本机在这方面的性能是比较好的。
性能指标
本机完全符合最近制订的简易型半导体收音机技术标准。其主要性能为:
1.灵敏度:不低于15毫伏/米(实际产品均不低于10毫伏/米)。
2.选择性:±10千赫时,不低于8分贝(实际产品均在10分贝以上)。
3.额定功率输出:15毫瓦。
4.电源:额定值为6伏,总电流消耗19~21毫安。用四节手电筒电池可使用150~200小时。
由于使用了高灵敏度扬声器,虽然输出功率不大,但放音音量已很足够。当15毫瓦输出时,20平方米的房间内都可以清楚地听到语言广播。
晶体管选用
根据试验分析,本机除了一些不正常的管子(如工作点调不上,噪声大,h\(_{11}\)过大等)之外,d下限值的管子都能使用。由于实际上是不可能都出现全部下限管子的,因而只要工厂生产时进行适当的搭配,就基本上可以全部使用。根据试验证明:把较好的П401与较差的一组П6搭配,或将较差的П401与较好的一组П6搭配,都能得到满意的效果。
调整问题
大家知道,调整晶体管收音机首先要调整各级的偏流电阻,为了适应大量生产的需要,本机的偏流电阻是在焊接装配之前预先用专用设备调好的。随后把各晶体管所需的电阻与该晶体管放在一起,选好的全套管子也放在一起。这里特别指出一点,对于比较差的晶体管П401(如灵敏度低),还可以适当挑选二极管Д1B及电阻R\(_{2}\)与之相配,使它得以最大限度利用。一般挑选Д1B及R2均按获得最高灵敏度进行,它们实际上是使П401的输出阻抗与其高频负载相匹配,以得到最大增益。由实验得知,Д1B的正向电阻在管子正常的情况下越小越好,同时还要求正、反向电阻的比值大。而调整R\(_{2}\)的时候还要注意选择性。因实验证明:加大R2虽可使灵敏度提高(特别是低频端),但却使选择性下降。不过,一般选择性的富裕量较大,因而R\(_{2}\)可以用得较大,在两者兼顾的情况下对大量的П401来说,R2用91千欧较合适;而对个别灵敏度特别低的П401来说,若整机选择性的富裕量很大时,R\(_{2}\)可用得比91千欧大些,以达到提高灵敏度的目的(我们用R2的上限值为510千欧)。在实际生产中它们也都是预先选配好的,所以不会给生产带来额外负担。调整好的偏流电阻,装配、焊接以后,经过批量生产试验,证明都符合选定的工作状态,不需重调。至于其他调试方法与一般机全同。
零件数据
1.磁性天线:用φ10×170毫米4号磁性瓷棒,以7×0.07丝漆包线绕制。L\(_{1}\)为3毫米宽的蜂房式线圈,绕20圈,L2单层密绕50圈,第46圈抽头,L\(_{3}\)与L2相距3.5毫米,单层密绕5圈。线圈出头接向见图3所示。

2.高频扼流圈:电感量≥3毫亨,在φ0.15毫米的塑料线圈管上绕成两节蜂房式,宽度5毫米,每节350圈。
3.输入变压器:用EI8×6硅钢片铁心。初级用0.1毫米漆包线绕2530圈;次级用0.12毫米漆包线绕675圈。初级电感量应大于3亨利。
4.输出变压器:用EI8×6硅钢片铁心。初级用0.17毫米漆包线绕600圈;次级用0.55毫米漆包线绕75圈。初级电感量大于0.25亨利。
收听效果
我们曾选取灵敏度为10毫伏/米的本机,在湖北省接近山区距武汉市分别为275公里、200公里(直线距离)的宜昌、沙市不接外天线试听,收听情况表明中央、湖北、江西、安徽、广东等十几个台都有较好的效果。此外,也曾在京汉铁路沿线试听,日夜均能收听到。
关于选择性问题:简易型收音机由于只有一个调谐回路,虽然邻近波道选择性可以利用正反馈改善;但远波道选择性则无法提高,因此在强电台或省台地区附近收听时有串音现象。经试验证明,离武汉市30公里左右,湖北台已无串台现象;而进入30公里以内,串台现象逐渐加重。但在市内,也不致因串台的影响而不能收听,它可利用磁性天线的方向性将收音机摆在避开强台的位置,使本地强台串音减至最小。由上述可知,本机在农村中使用是不会有所妨碍的。
如果在农村再加上外接天线,收听效果就更为满意了。 (瀛柱 广环)