有些超外差式收音机,中波段常会产生这样的现象,即某一个电台的广播节目会在度盘上好几处地方同时出现。干扰其它电台的收音。这种现象和由于选择性不好而发生的串台是不同的。通常由于选择性不好而发生的串台是连续的,成片的,当用手去捏天线拖线(不加室外天线)时,串台声音更大。而上述的串台现象则是在度盘上隔开的几处出现的,当用手去捏天线拖线时,串台现象往往会消失。这种串台现象通常称做“谐波干扰”。它常常是出现在使用高灵敏度的收音机收听本地强力电台的时候。
谐波干扰产生的原因
这种现象是如何产生的呢?简单地说,它是由于超外差式收音机中的信号频率谐波同本地振荡频率谐波相互组合的结果。我们知道,超外差收音机的基本原理就是:外来的信号频率f\(_{s}\)和本机振荡频率fo经过混频产生一个中频f\(_{i}\)(一般为465千赫),而送往下级进行放大检波等过程的。用公式表示就是:
f\(_{o}\)-fs=f\(_{i}\) (1)
上式只表明是由于f\(_{o}\)与fs的基波相差而产生中频f\(_{i}\)的。事实上,频率为fo的本机振荡电压同频率为f\(_{s}\)的信号电压经过变频管的非线性作用,还会产生一系列的谐波:2fo、3f\(_{o}\)、4fo……;2f\(_{s}\)、3fs、4f\(_{s}\)……,这些谐波也同样能够彼此相互组合。其中,对某个电台来说,fs是固定的,不随调谐而变。但f\(_{o}\)是随调谐而变化的。在调谐过程中,只要fo的某次谐波与某个电台频率f\(_{s}\)的某次谐波相互组合合适,就有可能产生一个中频或者是接近中频的频率,这个组合频率的信号如果足够强大,经过中放、检波和低放各级后,就会被听到。但此时听到声音的电台,已经不是在该电台原有的度盘刻度上出现,而是移到了其它位置,这个位置决定于相互组合的二谐波的频率。这样就产生了所调谐波干扰点。
上述作用一般式可表示为:
±mf\(_{o}\)+-nfs=f\(_{i}\) (2)
式中,m=1,2,3……,n=1,2,3……,若f\(_{i}\)=465千赫,那么(2)式又可写作:
±mf\(_{o}\)+-nfs=465(千赫) (3)
将上式经过简单的推导可知,在收音机度盘上可能出现的谐波干扰点的频率为:
f=\(\frac{465±nf}{_{s}}\)±m-465(千赫) (4)
例如:天津台1070千赫,公式(4)中取负号,并令m=1,n=2,代入可得f=1210千赫。即在度盘的1210千赫处可能收听到1070千赫天津台的广播。又如公式(4)中仍取负号,令m=n=1,代入得f=140千赫,但这一点是在中波范围以外,因此不需要考虑。由上例可知,m、n可能等于任何正整数,因此可能有很多谐波干扰点,但只有出现在收听波段范围内的有影响。
上面对产生谐波干扰的现象进行了初步说明,现在再以实际电路来进行具体的分析,找出原因,并给出可能解决的一些措施和办法。

从下面的分析就可以知道,产生谐波干扰的原因与收音机输入回路的设计有着密切的关系。在中波段,一般超外差收音机的输入回路(图1),其各个元件的数值大致是这样确定的:L\(_{2}\)是根据波段复盖及双连可变电容器的最大和最小电容量来确定的。而LA则是按照天线回路的自然谐振频率f\(_{A}\)来求得。假若天线按标准天线考虑,那么天线电容CA约在150微微法至300微微法范围内变化。另外,又为了使输入回路的电压传输系数均匀,一般f\(_{A}\)取在波段最低频率(535千赫)的70%处,也就是370千赫。一个谐振回路知道了谐振频率和电容数值后,就可以根据谐振频率与电容、电感量的如下关系公式求出线圈的电感量来。一般设计天线回路时CA是按最小电容量即150微微法来计算,因此
L\(_{A}\)(微亨)=\(\frac{25330}{C}\)A(微微法)f\(_{A}\)\(^{2}\)(兆赫)
=\(\frac{25330}{150×(0.37)}\)\(^{2}\)≈1230微亨。
但是,在实际收音时,往往与这样的假设条件有很大出入。首先,一般超外差收音机灵敏度都比较高,很少使用标准天线或室外天线,而只使用1至2米的天线拖线,即可满意收听。因此C\(_{A}\)实际上只有30微微法到40微微法。此外,又为了提高中频波道衰减,现在大多数超外差收音机在天线回路里都附加有一个中频陷波电路(图2的L1C\(_{1}\)),借以尽量抑制465千赫附近的外界干扰和噪声。很明显,这样一来,天线回路就组成了一个复杂的谐振电路,可能在较多的频率上谐振。这种谐振电路的阻抗随频率变化的情况大致如图3所示。从图中可以看出,这种复杂的谐振在f1、f\(_{2}\)、f3三个频率上谐振,即有三个谐振点。其中f\(_{3}\)为465千赫,它就是L1C\(_{1}\)的串联谐振频率,这时阻抗最小,起到了陷波的作用。另外阻抗最大的两个谐振点f1和f\(_{2}\),是这个复杂谐振电路的两个并联谐振点,与前面所谈的fA相当。f\(_{1}\)和f2的大小则与C\(_{A}\)、LA、 L\(_{1}\)和C1这四个参数都有关系。根据理论分析,f\(_{1}\)和f2可由下式求得:

公式(5)中取负号为f\(_{1}\),取正号为f2。例如:若C\(_{A}\)=40微微法,LA=1230微亨,L\(_{1}\)=1170微亨,C1=100微微法(L\(_{1}\)C1的乘积应满足谐振于465千赫),代入(5)式计算可得,f\(_{1}\)=310千赫,f2=1090千赫。由此可以看出,f\(_{A}\)再不是前面所要求的370千赫了,而是变成了310千赫和1090千赫(图3)。其中310千赫是在波段以外,可以不必考虑。而1090千赫却正巧落入波段之内。刚巧在这一点附近也正是电台比较多的地方。例如天津台为1070千赫,河北台为1280千赫,中央台有1000千赫等,这些电台都接近于f2(1090千赫),也就是说,它们都趋近于谐振状态。因此,它们的信号强度在天线回路里就都会增强很多倍。又因为天线回路是非调谐的,所以谐振状态是恒定不变的。也就是说,载波接近于f\(_{2}\)的电台,始终能使天线回路上产生出很强的信号电压,它的强度是不随调谐回路的调谐而改变的。这个电压耦合到次级(调谐回路)后,仍有足够的强度,经电子管的非线性作用,所产生出的信号频率的谐波还有足够的强度,它们再与本机振荡频率或其谐波相互作用,就会产生谐波干扰点。例如天津台的频率为1070千赫,它的二次谐波为2140千赫,当本机振荡频率调到1675千赫(度盘指针指到1210千赫)时,正好和天津台的二次谐波差一个中频(2140-1675=465千赫),于是在度盘上1210千赫(1675-1210=465千赫)处就出现了天津台的谐波干扰。
抑制谐波干扰的途径
通过以上具体电路的分析,可以知道谐波干扰是由于输入回路设计不当,使天线回路谐振频率f\(_{2}\)落入波段以内所引起的。如果能将输入回路加以改进,使天线回路谐振频率f2移到波段以外,使其远离电台密集的地方,那么频率与f\(_{2}\)靠近的一些电台就不可能通过天线回路产生强的电压,谐波干扰现象就可以大大减轻。移动f2有两种可能:(1)移到波段的低端以外;(2)移至高端以外。从上面公式(5)可以知道,f\(_{2}\)是和L1、C\(_{1}\)、LA、C\(_{A}\)四个参数有关的,这四个数值增大时,f2降低,反之则f\(_{2}\)上升。但以上四个参数中,CA是天线电容,考虑到一般实际使用情况,不宜用附加电容的方法来加大它。若附加电容,则会降低波段高端的灵敏度。而L\(_{1}\)C1的数值单独有一定的要求,因为它本身担负着抑制外界465千赫干扰的作用,所以L\(_{1}\)C1的数值也不宜变化太大,否则对465千赫的抑制作用不好,一般C\(_{1}\)取标称值68微微法或100微微法为宜。这样能够变化的就只有LA了。要降低f\(_{2}\),看来好像只要加大LA就行了,实际上由理论计算可以征明,由于L\(_{1}\)C1与L\(_{A}\)的并联作用,即使LA增至无限大,f\(_{2}\)最多也只不过移到770千赫(按CA=40微微法,L\(_{1}\)=1720微亨,C1=68微微法计)。因此只有提高f\(_{2}\)的方案才是可行的。我们在输入电路的设计中就采用了后一个方案,将LA减小,使f\(_{2}\)大致落在1800千赫左右,这样作获得了比较好的效果。采用这种输入回路,在收音时,噪音小,原有的谐波干扰点大部分都已消失,就是原有干扰最强的点,也只剩下很微弱的声音了,不细心调对,不易察觉。
上述电路,在天津产品海河牌356型收音机上,作为一项质量改进已经采用。现将各元件数值及其制作方法介绍于下,供作参考。
电气参数:C\(_{1}\)=68微微法,L1=172O微亨,L\(_{A}\)=300微亨,CA取40微微法(天线拖线按1米至1.5米计),f\(_{2}\)大致为1800千赫左右。
线圈结构及其制作方法:

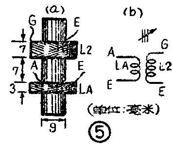
(1)陷波线圈L\(_{1}\):结构尺寸见图4a。导线用直径为0.08毫米的三股单丝漆包线,绕组为蜂房式,折弯系数为2。分两段,共绕350圈,每段175圈。两段按同一方向连续绕,中间线不切断。骨架材料为聚苯乙烯,在一端内加有尺寸为M6×1×12的Man1型的螺纹铁淦氧磁心,作调感之用。电容C1可用云母的或者瓷介的,体小性能稳定为宜,无耐压的限制。

(2)天线线圈:结构尺寸如图5a。L\(_{A}\)导线用直径为0.11毫米的单股单丝漆包线,绕组为蜂房式,共绕155圈,折弯系数为2。LA与L\(_{2}\)之间的耦合系数为0.1左右。L2和振荡线圈的数据及其制作方法,请参阅本刊1963年第3期关于“宽蜂房式线圈”一文的介绍。
抑制谐波干扰的方法,除上述合理设计输入电路以外,对于一般家庭现有的超外差收音机,若存在这种现象,可采用以下简便方法,同样可以收到良好效果。
(1)在大城市或者距电台比较近的地方,用1至2米拖线作天线,能够满足收听时,不接室外天线。这样不但可以减小外部干扰噪声,并能防止信号过强,产生谐波。
(2)在天线引出端与铁底壳之间加一个100微微法至250微微法的电容器,纸质、云母和瓷介的都可以,耐压没什么要求,具体数值可由实验方法决定,甚至再大些也可以。加上电容后,谐波干扰和噪声都会大大减小,声音变得清楚。但灵敏度也要降低些,然而对一般大城市和近电台的地方,仍可满意收听。
(3)在天线引出端与铁底壳之间加一个2千欧至10千欧的电阻,炭膜、炭质的均可,瓦数不限,体小为宜。借以压低天线回路谐振点的峰值,以减弱信号产生谐波的程度。
(4)加大天线线圈L\(_{A}\)与调谐线圈L2(图5)之间的距离,以减小二者之间的耦合系数。
(5)另外也可作如下几种试验:减弱本机振荡,这可在振荡线圈两端并联一个适当电阻;带有陷波器的输入电路,将它去掉,看效果如何;将原有的天线线圈L\(_{A}\)适当的拆去一些圈数等等。
以上几个方法,综合使用效果更为显著。(李世英)