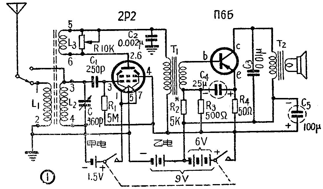
这架收音机的线路见图1。它是由一只电子管2P2作再生式栅极检波;另一只低频晶体三极管Π6B作一级低放。由于2P2管的控制栅极带有正电压(它的栅漏电阻接到乙十),因而乙电只用9伏便能满意地工作。这就是一般所说的低乙电工作状态。

信号从天线线圈L\(_{1}\)进入,通过磁感应送到次级线圈L2和C组成的调谐回路,经过调谐选择,选出需要的电台信号。然后通过电容器C\(_{1}\)加到控制栅极进行检波。检波后的低频信号从2P2屏极输出,经过L3送到级间耦合变压器T\(_{1}\)初级,再传到次级,加到Π6B基极上,经过它作低频放大后,通过输出变压器使扬声器放声。
在这同时,电子管也对高频信号放大,放大后从屏极输出的高频信号又通过线圈L\(_{3}\)回送到调谐回路,从而加强了高频信号,得到再生效果。这里用电位器控制高频电流大小,以控制再生强度。C2是高频旁路电容器。电阻R\(_{2}\)是Π6B的偏流电阻,改变他的阻值可以调整晶体管的放大工作状态。R3用来使晶体管工作稳定。C\(_{4}\)的用途是避免信号电流流过电阻R2、R\(_{3}\)和R4造成损失。R\(_{4}\)是用来稳定工作点用的。
Π6B放大电路用6伏电源,从2P2的乙电池里取出来。C\(_{5}\)是防止电池快用完时产生啸叫声而加装的,25~100微法之间的都可以。
为了分别控制甲、乙电电源电路,电源开关是用双刀单掷的。
电子管的输出阻抗要和晶体管的输入阻抗很好地匹配,收音机才能发挥最高的效率。采用变压器交连,就能达到这个目的。T\(_{1}\)我们是用现成的配合2P2输出管用的输出变压器,将次级拆下,改用0.19(36号)漆包线绕350匝,层间不垫纸。如果自制可以用普通收音机输出变压器的铁心。绕法是;先绕次级,用0.19漆包线绕350匝;后绕初级,用0.12(40号)漆包线绕3800匝,次级层间不垫纸,初纸层间垫不垫都可以。
T\(_{2}\)可以采用市售的专供晶体管用的小型输出变压器。自制可用上述同样铁心,先绕初级,用0.15(38号)漆包线绕1000匝,后绕次级,用0.27(32号)漆包线绕70匝;初、次极线圈的各层间都不要垫纸。但T1和T\(_{2}\)的初级与次线线圈之间都要用绝缘纸隔开。
线圈L\(_{1}\)、L2、L\(_{3}\)绕在一根M4型10×140毫米的磁性瓷天线棒上,绕法见图2。L\(_{2}\)要贴紧磁捧绕在中央,线头不要搞错,免得不起再生。L1和L\(_{3}\)都用0.31(3O号)漆包线,L1绕10匝,L\(_{3}\)绕30匝。L2用七股旧中频变压器绕线三根绞合成21股线,绕40匝。如果自制,可以用21股0.12(40号)漆包线绞合而成(绕L\(_{2}\)总共约需2米长的线)。

再生控制也可以采用另一种方法。如图3用100微微法的可变电容器控制,再生也很平稳。

装好后,照图4将一100千欧电位器串联5K电阻接入代替R\(_{2}\),并在输出变压器一端和6伏电池公共负极之间接入一只0~10毫安电流表,变动100千欧电阻,使电流表指在8毫安左右,这时扬声器中发声最响。如没有电流表,也可以大致根据声音最大最清楚来决定。然后量出电位器和串联5K电阻的总阻值,换入等值固定电阻后,收音机就装好了。调整时为了便利起见,可以接上机外天线。

本机零件排列和外壳设计,可根据各人具体条件自行设计。
这架收音机不接天、地线,方向性很强。在无锡试听,能收到本地的两个电台,用5寸3.5Ω永磁扬声器放声很响亮。加接一根5米高、5米长的室内天线和一根地线以后,能收到中央、上海、江苏、浙江等10个左右电台,在50平方米的屋内任何一个角落听报告,能一字一句听清楚。将天线接在图中上面一位置时,灵敏度强,选择性稍差,接在下一位置则相反。
这架收音机由于简单,没有加高放和来复,因而对零件质量要求不高,很容易装成,适合初学无线电爱好者试装。
另外线圈也可用售品336到线圈,线圈上焊片编号和本线路一致,但这时收近地电台也要加接一根一米长的垂直天线。实验表明,如果电子管改用1A2或1K2收音效率不如用2P2好。
晶体管用任何Π6型或其它型低频晶体三极管都可以,只要变动一下R\(_{2}\)的阻值。乙电降低到6伏,2P2灯丝用一半也能工作,但灵敏度降低不少。
本机总共耗电约150毫瓦,比晶体管二管机要多些,但只用一只低频晶体三极管,省去了高频晶体管,装起来是很方便的。(张雨农)