修理交直流两用电源收音机,电子管如何代换使用是关键问题,本刊1963年第4期“交直流两用收音机的故障和修理”一文中曾有介绍。这里补充介绍几种简便实用的代换办法,特点是收音机耗电可以减少,效果也比较好。
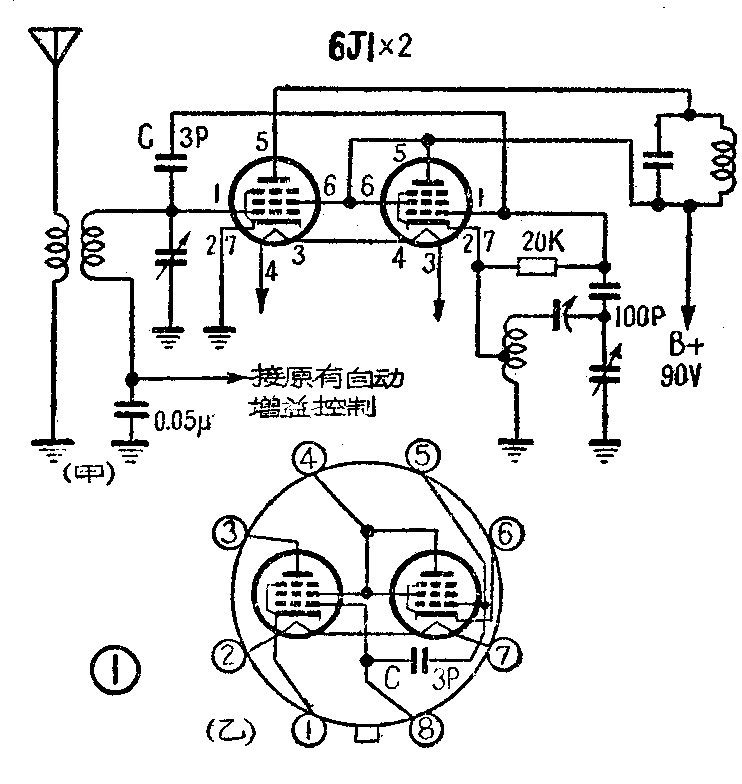
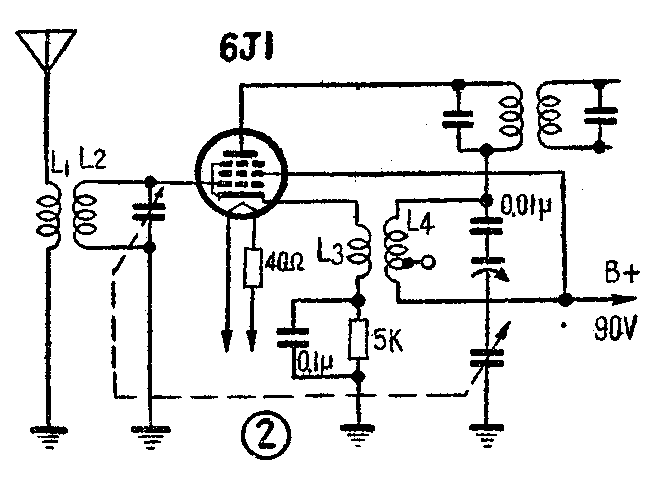
这种机器的电子管,除了整流管以外,都可以国产6J1(6Ж1П)管代替。6J1的额定灯丝电流为0.175安,实际上用0.15安供电加热也能工作,代换时可以省去了加接分流电阻的麻烦,节约电源消耗。今以修理由12SA7、12SK7、12SQ7、50L6及35Z5等电子管组成的五管机为例,图1是变频管12SA7损坏以6J1代换的一种方法。图中使用两只6J1,一只担任本机振荡,另一只用作混频。振荡级采用三点式振荡电路,混频级为单栅输入。把两只6J1如图1乙所示焊在一只GT式八脚管腰上,其中振荡耦合电容C可在两管的信号栅上各接出一条绝缘导线,互相绞合3~5圈而成。使用时将管腰直接插在12SA7的位置上,即可满意地工作。这个方法的好处是收音机的原电路不需任何改动,广播段和短波段都能工作得很好,而且变频增益比原用12SA7时还有所提高。如果收音机原来只有中波一个波段,可以按照图2使用一只6J1代换。这时电路改为自差式变频电路,比原变频电路要增加几个元件。其中L\(_{3}\)是在原来的三点式振荡线圈(L4)旁边,用0.15毫米左右的纱包线乱绕35圈,调试时可适当地增减,以求得最平稳的振荡。图中灯丝引出的两个箭头应串接在原12SA7的灯丝位置上。灯丝电路中的40欧电阻为降压电阻,使灯丝电压降低为6伏。


中放管12SK7损坏时,换用更简单,只要按图3的接法将一只6J1焊在一个GT式管腰上就可以了。灯丝电路内不加降压电阻,也可应用。若原机的中放管是12BA6一类的小指型管,可以将6J1直接插入,不须作任何变动。多数情况自动增益控制电路也无须更动调整。

当检波、电压放大管12SQ7损坏时,可按图4方法,将6J1接成为三极管使用,并另用晶体二极管来代替检波用的小屏极。这时要注意:若原机是把二小屏并联使用时,可按图4的连接方法,只用一个二极管就可以了。若原机是把两个小屏极分别使用的,就要用两只晶体二极管将4、5两脚分别连接,或将原电路加以修改。代替12SQ7的另一方法是利用烧断一组灯丝的双三极管6N2。6N2的两组三极部分的灯丝是并联的,灯丝总电流是0.345安,其中一组灯丝被烧断后,剩下一组的灯丝电流应为0.1725安。用0.15安来点燃就可以很好的工作。用它来代替12SQ7的三极部分是很理想的。

功率输出管损坏时,用两只6J1并联来代替(图5),可得到较好的效果。代换时也可以采用将两只6J1接在一个GT式管腰上的方法。当用五极接法并联使用时(灯丝串联),灯丝电路内要接一250欧10瓦的降压电阻,阴极电阻降为90欧。为了获得较好的匹配,原输出变压器次级可拆除3/5。这样改变后可以得到近0.5瓦的功率输出。

整流管35Z5损坏时,可用一只晶体二极整流管ДГЦ-27或ДГЦ-26来代替,这样比较用两只ДГЦ-24经济,并可如图6将二极管和灯丝降压电阻同时焊在GT管腰上使用。(刘铁城)