用两根不同材料的电极放在潮湿的土壤中就可以构成一个“地”电池。这种电池的质量与土壤的性质及电极的尺寸、材料有关。在肥沃而潮湿的土壤中就比在沙土或干燥的土壤中好。此外,增大电极的面积能够降低电源的内阻,所发出的功率也大。视所用电极材料的不同,电池的电动势可能在0.8~1.1伏范围内变化。如两根电极配用锌和碳,或铝和铜,或是锌和铜时,可获得最大电动势。图1是用锌、碳作电极(碳为6C型电池中的碳棒,锌片的尺寸为170×910毫米)、在潮湿淤泥中构成的一个地电池的输出功率P和负载电流I的关系曲线。当负载电阻接到这种电池上后,负载上的电压开始时是下降的,经过15~30分钟之后才达到稳定值。图上电压(U)随电流(I)变化的曲线就是过了这一段时间后测定的。图1所示数据并不完全适用于各个具体情况,但由图中可以看出,为了使地电池给出最大功率,收音机必须根据一定的电流和电源电压值进行设计。

如要全年使用地电池,电池的电极应埋在1~1.5米深的地下,彼此距离为几十厘米;或者装在地下室的土地里,这样可避免电极周围土壤结冻而使地电池失效。由正极(碳、铜)引出的引线可用裸铜线;负极(锌、铝)引线要用铝线或是外皮绝缘的铜线。否则用裸铜线将使锌和铜或铝和铜之间短路,形成一个活泼的附加电池,从而使地电池的质量显著下降。电极和引线间要焊牢或接牢。
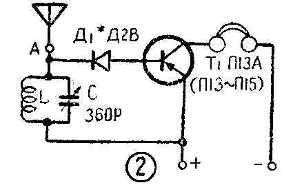
下面研究几种用地电池供电的收音机线路。

图2所示收音机比矿石机要响亮的多。回路线圈用七股0.07毫米漆包绞线在直径10毫米、长140毫米的磁性瓷天线棒上绕45圈。电容器C用一般360微微法的单连电容器。天线也可以用高10米、长40米的室外天线。耳机可以用一般的售品,采用线圈直流电阻为800~1000欧的,可以响些。在强力电台附近,晶体管可能工作在饱和状态,集电极电流截止,出现非线性失真(广播声音微弱,而且嘶哑),此时可以在耳机上并联一个10千欧可变电阻,调节这个电阻,使失真最小,响度最大。如果需要并联的电阻不超过2千欧,也可以不接电阻,而将几付耳机并联,结果响度会更大些。
二极管Д\(_{1}\)可以用任何型号的,但一定要是点接触型的。为了提高响度,最好用万能表选择正向电阻最小的应用(也可根据听觉来选择最响者)。晶体三极管П13~П15可以用国产П6Б等代替。

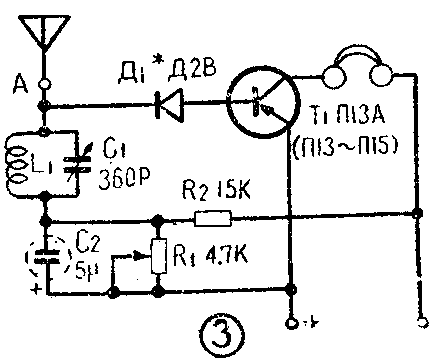
如收到的信号比较弱,在晶体管上加一个辅助偏压可以提高响度和放音的清晰度(图3)。这样可以使工作点脱离极小的集电极电流区,在这个小电流区电流特性i\(_{c}\)=f(ib)是非直线性的,晶体管的放大系数β也很小。电阻R\(_{1}\)的数值根据电台响度最大来确定。应用这个电路,可使输出电压平均提高到两倍;晶体管的放大系数β(标准情况下)越大、信号越弱,好处越大,有时可提高到5倍。

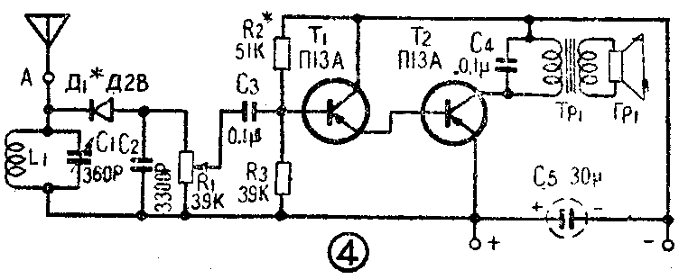
图4所示线路可用耳机收听,也可以放扬声器。从检波器负载上(R\(_{1}\)C2)取得检波后的电压,加给级间直接耦合的两级低频放大器。由于晶体管T\(_{1}\)处于很稳定的工作状态,整个线路的工作是足够稳定的。音量调节器R1可避免接收强信号时放大器过载,所以它的位置是在收听广播时根据必要的响度和收音的不失真来调节。输出变压器TP\(_{1}\)采用Ш—14型铁心片(中心柱宽度14毫米) ,叠厚14毫米。可先绕初级线组。并可采用叠绕法。此收音机可根据0.5伏、1毫安电源设计;也可用0.6伏、2毫安电源设计。在第一种情况下,变压器初级绕组用0.18毫米漆包线绕470圈;次级绕组用0.55毫米漆包线绕63圈。在第二种情况下,初级绕组用0.23毫米漆包线绕380圈;次级绕组用0.55毫米漆包线绕73圈。在第一种情况下收音机的灵敏度为4毫伏;而在第二种情况下灵敏度为3毫伏。第二种情况下输出功率大,而灵敏度也高,这是因为晶体管T1工作在大静态电流状态,这时放大系数β也大。扬声器要用灵敏度高的。如扬声器的音圈阻抗Z不等于6欧,则次级绕组的圈数要乘以一个系数\(\sqrt{Z}\)/6;并且如Z<6欧,上述变压器的铁心窗口尺寸就很充裕,可以适当增大次级绕线的线径。选择R\(_{2}\)的方法很简单,可以用1.5伏干电池一节通过一个大约100千欧的电位器使收音机得到必需的电源电压。然后改变电阻R2的数值,使接在T\(_{2}\)集电极电路内的毫安表指到1或2毫安为止,这时R2的数值便合适了。选择R\(_{2}\)也可以直接由地电池供电,并通过听觉来选择。为此可用一电阻为100千欧的可变电阻代替R2,调节R\(_{2}\)(R1放到音量最大)以获得不失真的最大音量,然后测出可变电阻调到的数值,再用同阻值的换进去。如去掉电阻R\(_{1}\)、R2、R\(_{3}\)和电容C2、C\(_{3}\),把二极管直接接到晶体管T1的基极上,此收音机的灵敏度可提高为原来的2~3倍,但这时收音机的直流工作情况完全决定于信号载波的电平,收音机对信号值来说处于临界状态、当信号的增加超过了正常值时就大大地增加了输出级的偏压,有半个波被限幅,因而音量降低,放音质量也差。

更完善的用扬声器工作的收音机可按图5所示电路装制。可用上一种收音机的电源资料进行设计(见表1)。电阻R\(_{2}\)按最大响度选择,电阻R4和R\(_{6}\)可根据表中数据用毫安表选择,方法同上。调整收音机也可直接由地电池供电根据听觉来判断。此时电阻R2、R\(_{4}\)和R6先暂时分别用1兆欧,220千欧和22千欧电位器代替,反复调节电阻R\(_{1}\)、R4和R\(_{6}\)几次,使收听语言信号时得到最大的不失真响度。电阻R2仍根据最大音量决定。调整好了之后,三个电位器均用固定电阻换入,它们的值可向较大值方面采用整数。


所有上述收音机的通频带为200赫~8千赫,非线性系数不超过10%。对于收音机的开关建议用图6的线路,当П\(_{1}\)投到下面的接点闭断收音机电源时,天线自动接地。如果地电池用了几个月之后,电压低于收音机计算值时,则可增加电极的面积,或者不得已时降低输出级的消耗电流。(赵文义编译自苏联“无线电”杂志1963年第10期)