收音机的选择性,是指一台收音机能从天线上收到的无数信号中间选取有用信号的能力。和灵敏度一样,它也是评定收音机质量的重要指标。
收音机的选择性是这样测定的。首先,测出收音机对信号频率完全谐调时的灵敏度(测试方法见本刊1963年第9期“提高灵敏度的措施”一文)。然后将信号频率改变±10千赫,不改变收音机的调谐,再测此时的两个灵敏度。这后两个灵敏度数值分别和前一个灵敏度数值之比,用分贝来表示,就是选择性数值。选择性的测试频率通常选为1000千赫。譬如有一台收音机,1000千赫的灵敏度为300微伏,而当信号频率偏调到1010和990千赫时,灵敏度分别下降到6000和6350微伏,则该收音机的选择性在+10千赫时为201og
决定选择性的因素
中频变压器本身的选择性是决定收音机选择性的主要因素。每个中频变压器对于偏离谐振频率±10千赫的邻近波道,一般至少有10—15分贝的选择性。这个数值跟中频变压器线圈的Q值,以及它的两个线圈之间的耦合程度有关。线圈Q值越高,耦合越松,则选择性越好。其次,收音机的输入电路对选择性也有2—5分贝的增益。这个数值跟输入电路线圈的Q值有关。它的Q值越高,则选择性越好。整机的选择性是两级中频变压器的选择性和输入电路选择性之和。因此普通收音机的选择性都在20分贝以上,高质量的机器可达30—40分贝。但是,选择性也不能无限制地提高,原因是收音机必须保持一定宽度的通频带(一般为6—7千赫)。如果选择性太高,通频带就必然很窄,这对收音机的放音质量是不利的。
怎样调中频变压器
收音机的选择性,除了决定于中频变压器以及调谐线圈等元件本身的质量以外,还和调整有很大关系。怎样调整才能使选择性达到理想的指标呢?现在先从调中频变压器的方法谈起。

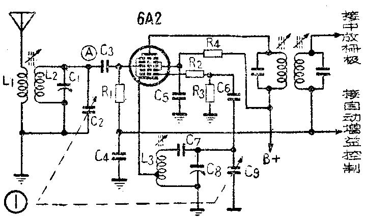
将高频信号发生器的输出经过一个200微微法的电容接到变频管信号栅(图1),地线和收音机底板相连。收音机波段开关放在中波段位置,双连电容器动片全部旋进去,使输入回路接近和中频谐振,并将C\(_{9}\)临时短路,使本机振荡停振,同时将收音机音量开到最大。调节信号发生器产生465千赫调幅信号(调幅频率为400赫,调幅度为30%)。逐渐增加信号发生器的输出,使耳朵能从扬声器中听到一点信号声为止。再在扬声器上接一交流电压表,以指示输出电压。中频变压器的调整是从后向前逐级进行,即从第二级中频变压器的次级开始,再初级,进而到第一级的次级、初级,用无感解锥来回拧动中频变压器线圈中的铁粉心(对于调电容式的中频变压器则用普通解锥调节微调电容器)。这时的操作是一边旋动解锥,一边注意察看输出电表,要在铁粉心的活动范围内找到输出电压的峰点,并且仔细地调在峰点上。这样依次将四个谐振回路都调在峰点上(注意:任何一个回路没有调到峰点上,都会影响选择性)。由于中频变压器初、次级之间会相互牵制,因此以上的操作至少要反复进行两遍。另外在调整过程中,随着收音机的输出增加,应当随时将信号发生器的输出减弱,使收音机的输出电压始终保持在1伏以内(在中频变压器调整完毕时,高频输入电压应在100—300微伏左右),不宜过大。否则由于输出电压过高饱和,调节铁粉心时输出变化很迟钝,找不到真正的谐振点。中频变压器调整完毕,可以检查一下收音机对中频的选择性。信号发生器输出仍接原位不动。先测试一下收音机的中频灵敏度,然后把信号偏调±10千赫(即调到455和475千赫),再测出两个灵敏度数字,按照前述公式,可计算出收音机的中频选择性。一般收音机两个中频变压器的选择性总共至少要有20分贝。
调中频变压器可能发生的问题
1.某一线圈的铁粉心调节起来根本不起作用。毛病可能是线圈内部发生短路。在这种情况下,整机的灵敏度一般也一定是很低的,可以换一只中频变压器试试。有些中频变压器(如华北厂产品友谊牌)所用铁粉心上带有一个塑料螺帽。如果螺帽和铁心开胶脱离,也会发生这种现象。
2.调节某一线圈的铁粉心,输出变化很迟钝。这可能是线圈内部有断股现象,或者线圈受潮,Q值降低所致。可将中频变压器打开检查一下。
3.调节某一线圈,铁粉心拧到极端位置还达不到峰点。这多是由于回路中的电感、电容变值所致。补救办法,可在回路中原有的电容器上并联一只20~30微微法的瓷管电容器。
4.调整时发生啸叫。这是由于有了中频寄生振荡。应当首先将它排除,然后才能调好。产生中频寄生振荡,不外乎以下几个原因:①引线太长,布线不合理,第一、二两级中频变压器以及输入电路的引线靠得较近,因而引起正反馈,产生振荡;②中放管偏压太低,因而跨导过高,以致引起振荡。另外,中放管衰老,极间电容增加,也会引起振荡(国产6K4管常有这种现象);③第一级中频变压器失谐较多,谐振频率太高,和输入电路接近谐振,或者输入电路线圈电感量不适当,最低谐振频率接近中频,也会引起振荡。这时可将双连稍稍拧动,振荡就会停止,待中频变压器和输入回路都调好后就不会再振。
输入电路对选择性的影响
输入电路如果能和本机振荡电路达到频率跟踪,则对整机的选择性提高是大有帮助的。例如要接收1000千赫的信号,本机振荡就应当调在1465千赫的频率上(相差一个中频465千赫)。如果此时输入电路正好也调谐在1000千赫上。则1000千赫的信号在输入电路上得到的增益最大,而1010和990千赫的信号得到的增益都较小,它们与1000千赫信号增益之差,就是输入电路对整机选择性的增益(见图2甲)。如果输入电路不能和本机振荡电路跟踪,也就是说在接收1000千赫信号时,为了使本机振荡电路调在1465千赫而输入电路不能准确地调谐在1000千赫上,那么,选择性必然有一边变坏(见图2乙、丙)。一般收音机整个波段须有三个完全跟踪点。通常我们采取调节L\(_{2}\)和C1的办法,可以在600和1500千赫两点上达到完全跟踪。这第三个完全跟踪点要选在1000千赫附近,才能使整个波段的平均失谐量达到最小,收音机的选择性也就最好。1000千赫的跟踪情况可用铜、铁测试棒来检查(测试棒制作方法参见本刊1963年第9期“提高灵敏度的措施”)。将1000千赫的高频信号从收音机天线端输入,信号强弱要等于该频率点的灵敏度要求。收音机调谐好以后,分别用铜、铁棒靠近输入线圈,注意输出电压的变化。结果会有下面的三种情况:

1.如果铜棒或铁棒靠近时输出都减小,表示电路完全跟踪,这是最理想的情况。
2.如果铜棒和铁棒中间有一个使输出增加,但增加量不大于原来读数50%。这时可采取拨动双连电容器花片的办法来调整。将电容器动片全部旋出,可以看到最外侧的一片是分成为三个花片的(图3)。将其中的C小片向两侧拨开,约可减少电容量5—10微微法。这部分容量主要对1000千赫附近有影响,因此可以改变1000千赫的跟踪情况。要注意的是,凡铜棒靠近线圈时输出增加(即简称铜棒失谐),应当拨双连中输入电路一连(C\(_{2}\))的花片。反之,如果是铁棒失谐,则应拨动本机振荡的一连(C9)。

3.如果铜棒或铁棒失谐输出增加超过原读数50%,拨片就难以奏效了。可以采用调节垫衬电容C\(_{7}\)的办法来解决(C7的容量对跟踪点位置有很大影响,典型的设计,对360微微法的双连,C\(_{7}\)通常用390微微法;对495微微法的双连,通常用510微微法)。可将C7的容量增加或减少10%然后再重新调节L\(_{8}\)和C8,使收音机的接收频率和刻度盘相符。这时再检查一下1000千赫的跟踪情况,一定会比原来大有改善。要注意的是,凡是铜棒失谐,应将C\(_{7}\)的容量减少,相反,铁棒失谐则应将C7的容量增加。
1000千赫的失谐解决以后,整机的选择性就可以测定了。选择性的提高,不仅要求分贝数高,而且±10千赫的数值要对称。按照以上调整方法,如果调整得好,其结果不仅是可以获得优越的选择性,实际上也是从调整上尽可能提高了收音机的灵敏度。(严艺)