同步分离部分的作用
在电视台里,电视摄像机摄得的图像由电子束扫描而顺序分解成像素,在电视接收机里,则由电子束顺序扫描将接收到的像素拼排出图像。在电视传送的整个过程中,双方电子束的扫描必须一致。当摄像管中扫到某场某行的某一点时,显像管中也要扫到同一场、同一行和对应的点。这种作用叫“同步”。这样荧光屏上重显图像的几何位置才能与原景物一致。否则,重显图像就会失真,或根本不能观看。为了保证同步,应该给双方的扫描系统同时送入专门的同步信号。同步信号包括行(水平)同步信号和场(垂直)同步信号两种,分别在行正程和场正程终了时送入,以使摄像管和显像管中的电子束同时开始下一行和下一场的扫描。因此,行同步信号的频率等于行扫描的频率,即为15625赫,场同步信号的频率等于场扫描的频率,即为50赫。

为了产生同步作用,在电视台中需要有“同步信号发生器”。这种设备能产生下述各种信号:(1)电视台摄像机中所需的同步信号。图1a为行同步信号,图1b为场同步信号,它们各用一根同轴电缆送到摄像机里去控制摄像管中电子束的扫描运动。(2)供电视接收机用的复合同步信号。其基本形状如图1c所示,它同时包括了行同步信号和场同步信号。当电视机把它们接收下来后,再设法把它们互相分离开来。为此,必须使行同步信号和场同步信号之间存在某些差别,从图1c可以看出,这种差别就是信号宽度(持续时间)不一样。其中行同步信号较窄(相当于一行扫描持续期的8%),而场同步信号较宽(相当于25个行扫描的持续期)。应该指出,为了简单起见,这里是用逐行扫描方式中的复合同步信号来说明最基本的道理,其实在现代采用的隔行扫描制度中,复合同步信号,尤其是场同步信号的形状要复杂得多,在这里就不介绍了。(3)复合消隐信号,其中包含有行消隐信号和场消隐信号,分别用来在电视机行扫描逆程和场扫描逆程时封闭电子束,以免光屏上出现回扫亮线。以上的几种信号都是脉冲电压,由于它们都是受同一个信号源的控制,所以它们之间的时间关系是非常严格的。
在电视台中,复合同步信号、复合消隐信号和图像信号被混合在一起,然后用一条无线电通道发送出去。当然,复合同步信号应该在不传送图像信息的时间间隔中发送,为此就把它迭加在消隐信号的上面,形成如图1d的全电视信号。当电视机接收到这个信号后,就要从中分别取出场同步信号和行同步信号,然后分别送到相应的扫描振荡器去对振荡器进行“同步”,这一点正是本文所要叙述的“同步分离部分”的作用。同步分离部分中主要包括两个部分:(1)幅度分离级。它的任务是利用同步信号具有最大的振幅这一特点(如图1d所示,同步信号振幅在75%—100%的高度),把复合同步信号从全电视信号中分离出来。(2)波形分离电路(或称频率分离电路)。它的任务是利用场同步信号和行同步信号宽度不同的特点,从已被分离出来的复合同步信号中分别取出行同步信号和场同步信号。此外,为了减少干扰对同步稳定性的影响和改善同步的准确性,它还可能包括限幅放大器或其他特殊电路。
幅度分离级

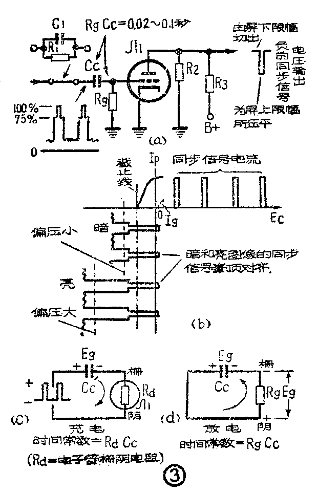
在全电视信号中,同步信号具有最大的振幅,因此利用限幅器就可以把它单独切割出来。由于全电视信号通过电容耦合电路后会失去直流分量,导致亮图像和暗图像的同步信号顶端不再处于同一电平上(图2),因此会使同步信号的切割发生困难。如果限幅电平调整到能刚好将亮图像的同步信号全部切出(图2b中水平线1),那么在暗图像时切出的同步信号幅度将变小或没有。反过来,如果对暗图像合适(水平线2),那么在亮图像时就可能将消隐信号或甚至图像信号都切割出来,这样对同步作用均有不良影响。所以,在切割以前应该首先恢复直流分量,使亮、暗图像的同步信号顶端能够对齐。因此,幅度分离级实际上包括了两个部分:(1)采用栅漏偏压的方法进行直流恢复;(2)利用屏极限幅作用把同步信号切割出来。

图3a是三极管幅度分离级的典型线路,其工作情况如图3b所示。全电视信号以负极性(这时同步信号是正的)加到栅极,在同步信号到来时,栅压激励至正值,因而产生栅流使Cc迅速充电到某一电压Eg(图3c),相当于在栅极上加一个负偏压。同步信号过去后,Cc将经Rg放电(图3d),但因时间常数RgCc很大,所以在两个同步信号之间的时间内,Cc上的电压不会有显著变化。即栅极上的负偏压不会有显著变化。显然,在亮信号时因其正向电压较大,故产生的负偏压也较大,使信号向左移较多。反之在暗信号时负偏压较小,故信号向左移得较少。这一调整作用就会使得不论图像内容如何。同步信号的顶端均箝位于栅压大约为零的地方(图3b),因而不但是同步信号而且消隐信号也互相对齐了。这时如果将屏压降低使得栅截止电压比同步信号的幅度小一些,于是就只有同步信号来到时才有屏流流通,因之在屏极产生了同步信号输出。也就是说,利用屏极下限幅而切割出同步信号。由于屏极上限幅的作用则可将同步信号顶端(在屏极的输出电压则相应于下端)起压平作用,因而使它的幅度更恒定,杂波干扰影响更小。一般屏压降得低一些可以使屏极上、下限幅作用较好,而且允许输入信号电压较小而不致切出消隐或图像信号。输入信号一般均由视频放大器末级引出,因为这时信号幅度已足够大,可以不另加放大级就行了。此外输入信号的极性也要正确,否则,切割出来的将不是同步信号而是图像信号。
使用五极管作限幅级比三极管有下列优点:(1)增益较高;(2)其屏栅电容较小,因此渗入输出的图像信号较小;(3)屏极上限幅作用更为显著。当然,这里的五极管应该是锐截止式的,其帘栅极电压和屏压一样应降低。
分离级的高频响应约宽达1兆赫左右,以保证同步信号有陡峭的上升沿,从而获得准确的同步,为此其屏阻约自10—50KΩ左右。低频端则应通过50赫的场同步信号。
波形分离电路

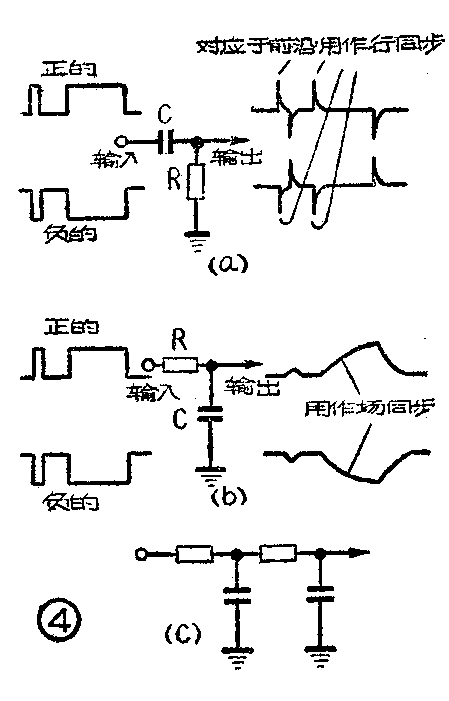
分离出来复合同步信号以后,还需要利用行同步信号和场同步信号宽度不同的特点把这两种信号分开,以便送到相应的扫描振荡器中去。为了分出行同步脉冲,一般使用由电阻电容构成的微分电路(图4a,请参阅1963年6期“RC电路”一文),当输入端加上复合同步信号时,则输出端将得到和同步信号前沿和后沿相应的极性不同的尖脉冲(图4a)。显然,持续期很宽的场同步信号不见了。这样就分出了行同步信号。行同步时系利用与前沿相应的输出尖脉冲。如果输入的复合同步信号是正的,这个与前沿相应的尖脉冲就是正的,应送到行扫描振荡器的栅极。如果输入的复合同步信号是负的,这个尖脉冲就是负的,应加到扫描振荡器的屏极。这里时间常数RC的数值应比行同步信号的持续期(约5微秒)要小得多,通常应该小于1微秒左右。但是,在采用抗干扰自动同步电路的电视机里,由于有惰性同步作用,故时间常数可以远比上述的大得多。此外,为了减少下级输入电容(它与R并联)的旁路作用,电容C最好为该输入电容的10倍以上。
为了分出场同步信号,可以采用图4b的积分电路。它的时间常数比行持续期大得多,在行同步信号来到期间的充电时间很短,但放电时间却很长,因而输出端没有显著的电压。场同步信号的持续期比较长,所以在场同步信号期间,输出电压将会达到原信号的最大值,于是达到分出场同步信号的目的(图4b)。为了获得准确而稳定的隔行扫描,通常都采用两节积分电路(图4c),而每节的时间常数在30微秒左右时较好(如红宝石机中),有的机器还采用三节积分电路。
干扰杂波的限制
良好的电视机常用许多方法来减少干扰杂波的影响。外来干扰一般多是短暂脉冲。分离场同步的积分电路对持续期较短的脉冲有“辗平”作用,输出干扰电压很小。因此受干扰影响也较小。但是在行同步方面,因为它的微分电路能将持续期很短的脉冲分出,所以易受干扰影响。因此,限制干扰的问题就主要在行同步方面。采用五极管时,屏极上限幅的作用较显著,故有助于削减干扰杂波的幅度。许多电视机在振幅分离级后还有一级限幅放大器,其功用在于切除过大的干扰杂波并获得前沿陡峭而幅度恒定的同步脉冲。由于图3a中RgCc的时间常数较大(0.02~0.1秒)。在短暂干扰脉冲来到时栅压增大不够快,故压制作用较少。而当栅压一旦因干扰脉冲而有所增大时,则在干扰过去后,栅压减低也较慢,故后面的同步信号振幅将有所减低。为此常常如图3a所示加入一个时间常数很小的电阻电容并联电路(红宝石机中R\(_{1}\)=510K,C1=270P,R\(_{1}\)C1=138微秒。)和原来RgCc构成所谓“双重时间常数电路”。当干扰来到出现栅流时,C\(_{1}\)很快充电使偏压激增,因而干扰输出减少。当干扰过去后C1经R\(_{1}\)迅速放电,故总的偏压仍由RgCc供给,对电路正常工作无影响。此外,为了限制干扰,可采用各种各样电路,例如北京牌行同步分离级便是如此。但最有效的方法则是采用所谓“惰性抗干扰同步电路”。
实际电路

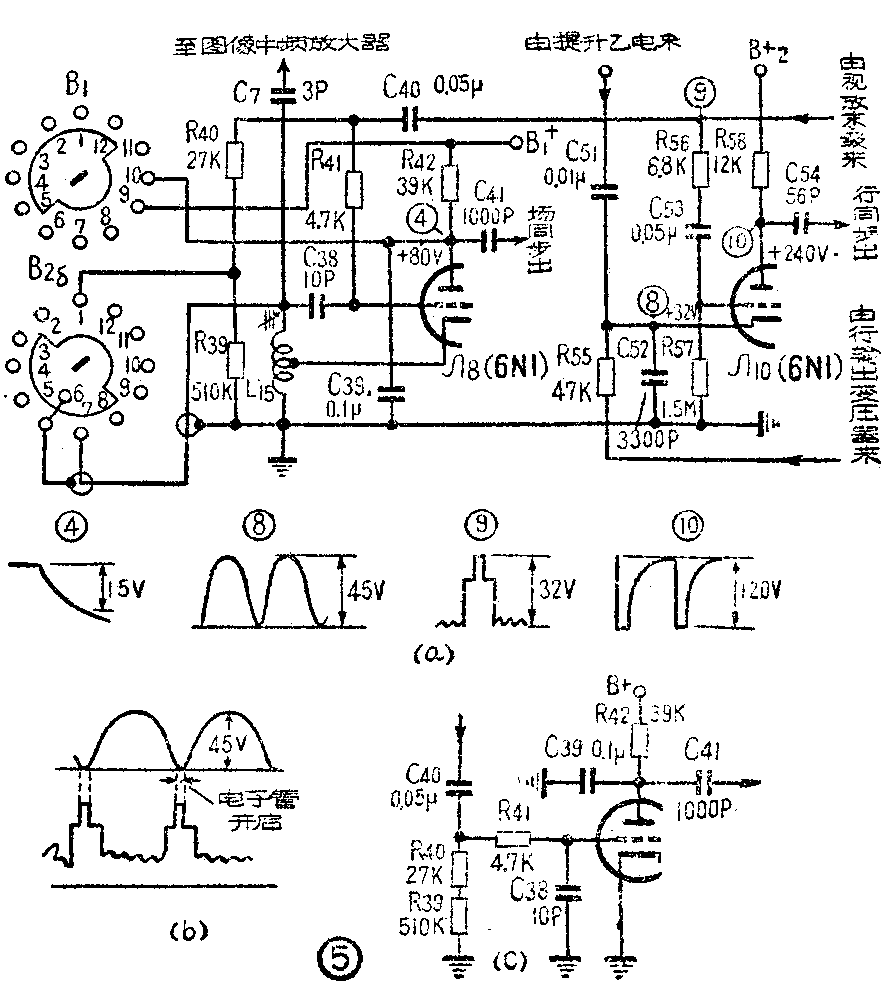
北京牌电视机的同步分离部分如图5a所示,这里行和场采用分开的幅度分离级,故是比较特殊的。行同步幅度分离级由Л\(_{1}\)0(6N1)的左边三极管担任,电路的特点在于由行扫描输出变压器一绕组上经R55、C\(_{52}\)以及由提升乙电(其行频纹波相当大)通过C51、C\(_{52}\)各取出一部分电压迭加而成脉冲电压⑧(见图)并加到阴极,因之使本机的行同步系统具有一定的抗干扰能力。由于在阴极上经过这样的处理,所以使得电子管几乎在行扫描的整个过程中都是被截止的,仅在同步信号⑨到来时才被脉冲电压⑧的尖端所开启(图5b),以便在屏极得到输出的行同步信号电压。因此,大部分干扰是不能通过的,只有它伴随着同步信号到来时才会通过,但这种情况是很少的。这里R56为隔离电阻。C\(_{33}\)、C57相当于图3a中的Cc、Rg、R\(_{58}\)为屏负载电阻。其输出行同步信号电压为负的(见图5a中⑩的波形),所以应加到扫描振荡器的屏极去进行同步。C54和振荡器屏极电路的等效电阻组成微分电路。场同步幅度分离级由Л\(_{8}\)(6N1)左边三极管担任,这一级的特点是在接收调频广播节目时,由开关B1\(_{б}\)转换成为第二本地振荡器。图中是在接收电视节目时的位置,这时B1中的“9”“10”开路,R\(_{2б}\)中“1”不与地相接,但“7”则通过“6”而与地相连,因而L15被短路。这时的等效电路如图5c,这里C\(_{4}\)0R40R\(_{39}\)相当于图3a中的CcRg,原来在接收调频节目时充当栅漏电阻之一的R4;这时一方面起着隔离电阻的作用(在“电视”接收时减少该级输入电容对视频放大器末级的旁路作用,在“调频”接收时则避免C\(_{4}\)0对该级所形成的振荡器的栅极起旁路作用),另一方面和C38形成一时间常数很小的高频滤波器,它对持续期长的场同步信号无影响,但是有一些滤除高频干扰的作用。R\(_{42}\)为屏负载电阻,和C39一起组成时间常数很大的积分电路,分出场同步信号。因为输出的场同步信号电压④是负的,所以也被加到场扫描振荡器的屏极。C\(_{41}\)为交连电容。在接收调频广播节目时,B2б中“6”“7”开路,故L\(_{15}\)不再被短路,“1”接地而使R39短路,B\(_{1}\)“9”“10”相连而使R42短路,屏极对高频来说通地。于是L\(_{15}\)与分布电容组成一电感三点式振荡电路,由C38R\(_{41}\)R40产生栅漏偏压。振荡电压频率为40兆赫,经C\(_{7}\)加到图像中频放大器的第二级,然后和频率为33.5兆赫的调频节目中频信号(不是27.75兆赫)一起在视频检波器中差频,得出65兆赫的调频信号,被送到伴音通道去。(黄锦源)