最近利用四只晶体三极管试装了一台超外差式收音机,特点是中放和低放级采用来复式线路,所以用管较少,但从灵敏度、选择性、音质和音量各方面看,效果还比较满意。现将制作情况介绍给大家。
电路原理
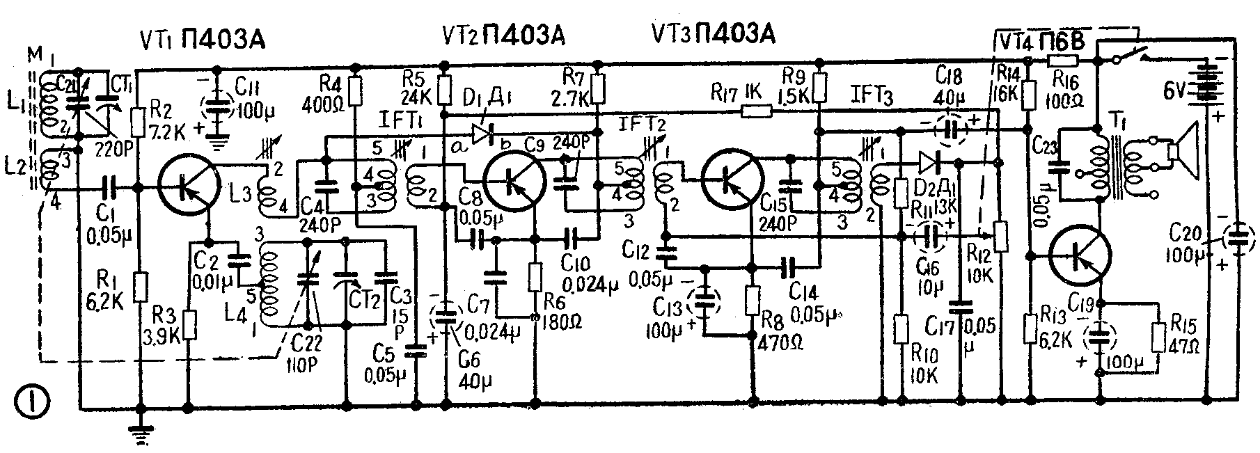
本机只用高频管П-403A三只(是按手头有的管子选用的,可以П-401或П402代替),低频管П6B一只。另用Д1型二极管两只。电路原理见图1。VT\(_{1}\)为变频管,振荡部分接成为标准的共基极调发射极反馈振荡器。它的工作点由偏流电阻R2确立。R\(_{1}\)为基极电路中的分流电阻,可以提高工作点的稳定性,降低环境温度变化对收音机的影响。本机振荡器调谐回路中的电容器C3,是为满足波段复盖之用,其数值在调机时决定。R\(_{4}\)、C5为变频管退耦电路,用以避免高频信号流经公共电源而引起寄生振荡。
VT\(_{2}\)和VT3为两级中频放大。VT\(_{2}\)的偏压由三部分构成:由R6产生的发射极自给偏压;由R\(_{5}\)产生的偏压,以及由D2检波后经R\(_{17}\)送回的自动增益控制偏压。R17与C\(_{6}\)构成自动增益控制的滤波电路,它的时间常数选为0.04秒。在C6上并联有C\(_{8}\),它的一端是直接接到VT2的发射极上,以保证中频信号能够顺利地加到VT\(_{2}\)的基极与发射极之间。R7与C\(_{1}\)0组成第一中放级的退耦电路。
信号经第一中放管VT\(_{2}\)放大以后,由第二中频变压器IFT2馈至第二中放管VT\(_{3}\)。IFT2的次级一端接至VT\(_{3}\)的基极,另一端为了避免使中频信号经过R8,也经过C\(_{12}\)接至VT3的发射极。R\(_{9}\)和C14是第二中放级的退耦电路。
经VT\(_{3}\)放大以后的中频信号经由IFT3馈至检波二极管D\(_{2}\)。R12和C\(_{17}\)是检波器的负载。检波后残余的中频信号经由C17入地;直流分量则由R\(_{17}\)馈至VT2基极作自动增益控制;音频分量则由C\(_{16}\)馈至VT3的基极再作一次低频放大。按照这样安排,VT\(_{3}\)不仅作为第二中频放大级,同时还兼作第一音频放大,一管两用,减少了晶体管的使用数量。
经VT\(_{3}\)放大以后的音频信号,由R9两端取得,再经C\(_{l}\)8馈至末级。VT3的偏流供电电路由R\(_{11}\)和R10构成。VT\(_{4}\)的则由R14与R\(_{13}\)构成。实验证明,一般情况下R14与R\(_{13}\)不需很多调整,照图中元件数值装用,即可工作。这也说明这种加有分流电阻的偏流供电电路对工作点的稳定作用是较好的。
VT\(_{4}\)工作于甲类放大状态。输出变压器配合飞乐503-Bi型扬声器(音圈总阻3.5欧),降压比为12∶1。C20、R\(_{16}\)和C11组成电源供电回路的去耦电路,以避免产生汽船声等寄生振荡。本机试验结果表明:即使6伏电池组的内阻增大到82欧,也不会产生寄生振荡。
本机的自动增益控制电路,除上述部分外,还有由D\(_{2}\)担任的附加控制电路,作用是进一步防止由于附近强力电台信号过强,而使中放级产生过荷失真。其作用原理如下:
当接收一般信号强度电台时,由D\(_{2}\)产生的自动增益控制偏压较小,放中放管VT2的集电极电流较大,放大倍数也较大。由于VT\(_{2}\)集电极电流大,在R7上产生的电压降也较大,因此二极管D\(_{1}\)的b点电位高于a点电位 (即处于加反向电压的状况下),此时二极管D1不导电。
当接收强力电台时,由D\(_{2}\)产生的自动增益控制偏压使VT2的集电极电流减小,使VT\(_{2}\)增益降低。而VT2集电极电流减小,会使R\(_{7}\)上的电压降减小,因此使D1的b点电位低于a点,使它处在加正向电压的状况,于是导电。D\(_{1}\)导电后,阻抗降低,这时它就好像一只低阻值的电阻与电容C10(0.024微法)串联后跨接于第一中频变压器IFT1的初级而成为变频级的负载,使中频变压器的谐振电阻降低,因而使馈至第一中放级及以后各级的信号强度减弱,这样便不至于引起中放各级过荷失真。
实际制作
1.零件的选择: 本机扬声器选用5时“飞乐”503-Bi型恒磁扬声器,原因是:①这种扬声器比2\(\frac{1}{2}\)吋的小型扬声器灵敏度高,末级可以采用单管输出,而声压却与采用21;2吋扬声器及两管推挽输出的几乎相同。这样就可以又省去一只低频管;②5吋扬声器的低音效果较好,有利于收听音乐节目。
中频变压器及振荡线圈选用上海产品小型的一套四只。每只线圈用颜色区分:灰色为振荡线圈,红色为第一中频变压器,白色及绿色分别为第二及第三中频变压器。各线圈均为可调铁粉芯式。线圈内不附有谐振电容器,需要外加。每只线圈上有1至5接线端子标号。具体接法见电路图(图1)。

双连电容器选用复旦超小型双连,其电容量为10~220微微法和9~110微微法。
晶体三极管采用П403A型三只和П6B型一只。用П403A的优点是每级增益可以稍高些;又因为它的集电极电容较小,作中放时有可能不用中和电路(本机未用中和电路),这样安装就比较容易。换用П401、П402,则各级偏流电阻要另行调整,也可能需要加上中和电路才能解决中放级寄生振荡。
磁性天线采用M4Φ10×140毫米磁棒,用旧中频变压器拆下的七股绞合线在磁棒一端绕60圈作为L\(_{1}\)(单层绕);另用单股28号纱包线在磁棒同一端上离开L1的3毫米处绕7圈作为L\(_{2}\)。绕好后用蜡封固。
输出变压器T\(_{1}\)采用市售推挽、单边两用输出变压器,初级全部对次级\(\frac{1}{2}\)的变比为12∶1。用时宜选效率较高的口字型硅钢片铁心的一种。
D\(_{1}\)、D2用Д\(_{1}\)型二极管即可。
电池采用大号1.5伏手电筒电池四节,以求耐用及便于更换。
2. 装配:全机装于140×260毫米的安装板上再装入木箱内。零件安装情况示意见图2。扬声器装在中部。电池组装在一侧,以便更换。音量控制及双连电容装于另一侧。零件安排是围绕扬声器按照原理电路顺次排列的。布局时应考虑以下问题:①中放各级管于及元件要与变频级及磁性天线距离远些,以免发生耦合,产生寄生振荡。②磁性天线与恒磁扬声器彼此不能太靠近,否则磁性天线灵敏度要大大降低。简便的试验办法是先将扬声器暂时固定,用手拿着磁性天线寻找适当位置。手松开后,如果磁棒能被扬声器吸去,表明此位置不合适。要选磁棒不被吸去,或手握磁棒不觉有明显吸引力的位置。③中频变压器和振荡线圈尽可能远离扬声器。因为它们都是磁心线圈,易受扬声器磁场影响。试找位置时,也采用上述方法。④第三中频变压器次级到二极检渡管D2之间的接线越短越好,这样可以防止强力电台信号可能由此窜入产生干扰。

3. 调整:一般说来,晶体管收音机的调整比电子管收音机要复杂些。采用来复式电路的晶体管超外差式机就更难些。要调整的有:
(1)调各级直流工作点 本机偏流供给采用有分流电阻的电路,因而各级直流工作点变化较小。各级偏流的调整可以通过改变R\(_{2}\)、R5、R\(_{11}\)和R14而实现。调整时可分别在该级的集电极回路中串以直流毫安表观察。各级的集电极电流分别调到:变频级0.6~0.8毫安;第一中放级0.8毫安;第二中放级约1.5毫安;末级约6毫安。连同其他部分电流消耗全机总耗电约为10~12毫安。
第一中放级加有自动增益控制,故其集电极电流I\(_{c}\)应调整到一个适当数值。Ic太小则本级的放大倍数太低;I\(_{c}\)过大则使自动增益控制的作用变得不明显。
第二中放管因未加自动增益控制,并且兼作第一低放管,I\(_{c}\)稍为大些较好,这样全机放大倍数可以大些,音质也可好些。
末级一般不须怎样调整,即能达到要求的工作点。
(2)调中放级 用高频信号发生器,经一0.05微法电容将1千赫调制的465千赫信号加于VT\(_{3}\)基极与地线间。调整IFT3的磁心,使扬声器输出的1千赫信号最响,或在扬声器两端跨接交流电压表,到表的读数最大为止。
然后将上述465千赫信号仍经0.05微法电容接至VT\(_{2}\)的基极与地线间,调整IFT2,使输出最大。此时信号发生器输出的信号强度要比前一步为小,以免VT\(_{3}\)过荷。
最后,由VT\(_{1}\)的基极引入465千赫信号(信号强度应比前两步更减小)。过荷限制管D1此时可暂不接上,调整IFT\(_{1}\)使输出最大,调好后再接上D1。
在调整中放各级时如果出现寄生振荡,应先利用中和等办法消除寄生振荡,然后再进行调整。
(3)调三点跟踪 首先检查本机振荡器是否工作。振荡线圈L\(_{3}\)的2和4脚如果接反,本机振荡器就不工作。检验方法:①将变频级R4烫开,串以直流毫安表,转动双连电容,观察毫安表读数是否有变化。大体上,读数有变化表示本机振荡器在工作。②将本机移到另一台中波收音机(电子管的或晶体管的均可,灵敏度稍为高一些的)附近,两台收音机同时均工作,转动本机双速电容,如转至某点时,另一台机中听到叫声,则表示本机的本机振荡器在工作。这是因为本机的本振信号经磁性天线反向发射而被另一收音机收到。
如果本机振荡器正常,则可调波段复盖。此时将高频信号发生器的信号串以82欧电阻后接至框形天线(380×380毫米)。信号频率为500千赫。本机的磁性天线轴线垂直于框形天线线圈平面的中心。双连完全旋入,调整信号发生器输出及本机的本机振荡线圈磁心,使收到信号。然后使信号发生器开出600千赫信号,再旋出双连使收到信号。增减磁性天线的圈数,或移动线圈在磁棒上的位置,同时并微调本振线圈磁心,使输出音量最大。
再将信号发生器旋至1650千赫,双连完全旋出,调整C\(_{T2}\)或C3容量使能收到信号。然后信号发生器再开出1400千赫,旋进双连使收到信号,同时调整C\(_{T1}\)使输出最大。为获取最佳跟踪,上述600千赫及1400千赫的调整工作可重复进行几遍。以调到600千赫、1000千赫、l400千赫三点的灵敏度大致相同为最好。至此本机调整工作即完毕。通过试验表明,另一组附加自动增益控制器能有效地解决强力电台引起本机过荷失真的问题。当不接D1时,收听本地强力电台有失真情况出现,加上D\(_{1}\)后立即可以消除。
本机在北京市区收听,本地、外地电台分隔清楚。本地电台的方向性作用很小,磁性天线即使竖放,音量变化也不大。接收外地电台时,磁性天线的方向性则很明显,这样可以减弱干扰便于接收弱信号电台。(罗德寿)