近几年来,我国无线电工业迅速发展,各收音机制造厂设计制造了大量类型不同、质量优良的广播收音机。为了更广泛地满足群众不同需要,在品种上,除了已有的三、四个电子管的普及型收音机外,我们还应当多生产一些结构简单,价钱更便宜些的简易型收音机,以适合广大人民群众选购使用。本文介绍一架电子管交流两灯机,就是为了适应上述需要设计试制的。它的线路简单,造价低廉,制作方便,具有一定的性能水平,适合于有电地区的城市及郊区农村收听本地电台或是本省及邻省电台使用。
电路原理及特点

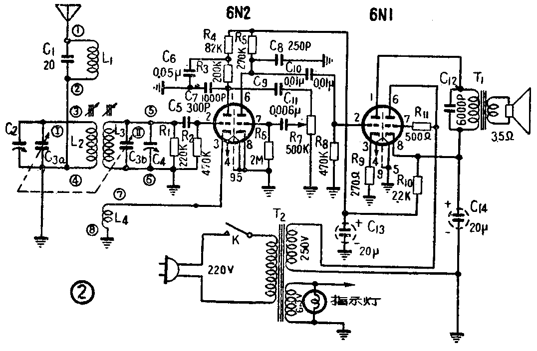
本机采用双三极管6N2及6N1各一只。它的方框图如图1所示。双三极管6N2的左半部做栅极检波兼低频电压放大,右半部做低频电压放大。双三极管6N1左半部做低频功率放大,右半部用做电源整流。

图2为本机的电路图。信号经天线送至电感L\(_{1}\)。L1与L\(_{2}\)成电感耦合。L2,C\(_{3a}\)构成谐振回路Ⅰ,L3与C\(_{3b}\)构成谐振回路Ⅱ。L2与L\(_{3}\)成电感耦合。C3a与C\(_{3b}\)为同轴双连电容器,用以完成回路Ⅰ和回路Ⅱ同时调谐于一电台时的统调。C2和C\(_{4}\)分别为C3a和C\(_{3b}\)的补偿电容器。这样,这些元件构成为双回路调谐的输入电路。
信号经过输入电路的选择后,送入双三极管6N2的左半部,进行栅极检波。C\(_{5}\)、R2为检波器的负载。检波后的低频信号又加在这个电子管左半部的栅极上,进行低频电压放大。R\(_{3}\)为放大时的负载电阻,C7为高频旁路电容。放大后的信号经由C\(_{9}\)耦合加在6N2右半部分的栅极上,再次进行低频电压放大。放大后又经C10、R\(_{8}\)耦合送入6N1的左半部作功率放大,然后由扬声器输出。
6N1的右半部用做电源整流,交流电压经电源变压器加至它的屏极和栅极上。R\(_{11}\)为栅极保护电阻(最小为500欧)。C14。R\(_{1}\)0及C13构成电源整流部分的滤波电路。
本机采用栅极检波,较一般收音机多了一级低频电压放大,即有两级低频电压放大。为避免两级低频电压放大器共用电源引起反馈叫声,增加了一级退耦电路,由R\(_{4}\)、C6构成。
在本机原有基础上,为了进一步提高收音机的灵敏度和选择性,6N2管左半部的阴极加有再生线圈L\(_{4}\),与L3成电感耦合。R\(_{1}\)为高频阻尼电阻,可以使整个波段内灵敏度均匀一致。
本机的特点为输入电路采用双回路调谐,提高了邻近波道选择性。采用工作于小信号情况下的栅极检波器,提高了整机灵敏度,而且非线性失真很小。
一般两灯机,例如用6U1(七极管部分交频,三极管部分栅极检波)和6N1(一半低频功率放大,另一半电源整流)的外差式电路(或高放式电路),其各级增益的分配约为输入电路4倍,变频15倍,栅极检波兼低频电压放大14倍,低频功率放大25倍,总放大量即为4×15×14×25=21000倍。而本机各级增益分配为输入电路4倍,栅级检波兼低频电压放大14倍,低频电压放大60倍,低频功率放大25倍,总放大量即为4×14×60×25=84000倍,较上述两管外差式灵敏度高4倍。可见本机是充分地利用了两只双三极管的放大作用的。
装置及元件数据

电子管、变压器、线圈等主要元部件的排列装置,可参照图3所示。电子管6N2因担负前级的低频电压放大,容易感应产生交流声,所以应装置在离电源变压器较远,又与其他相关元件接线较近的位置。
L\(_{1}\) 用 0.1单丝漆包线 绕310圈,头①尾②;
L\(_{2}\) 用5×0.07单丝漆包线 绕130圈,头③尾④;
L\(_{3}\) 用5×0.07单丝漆包线 绕130圈,头⑤尾⑥;
L\(_{4}\) 用5×0.07单丝漆包线 绕 5 圈,头⑦尾⑧;
L\(_{2}\)和L4的电感量用两只磁心调节,磁心规格为华北厂产品M6×1×12。
双连电容器用2×360pf的(复旦或宇宙)。若用其他形式双连时,L\(_{2}\)及L3需适当调整。
电源变压器可用一般两三灯机变压器(绕制数据参见本刊1962年第1期第15页)。当然,如有现成五灯收音机电源变压器,也可使用。
输出变压器,应按照6N1的要求绕制,可用EI—12迭厚12毫米的铁心,初级用0.12漆包线绕4000圈,次级用0.45漆包线绕73圈。
调试
装配焊接完毕,检查接线正确无错以后,可以开始调试。插上电子管,接通电源,待电子管阴极烧红后,用手触摸电子管6N2左半部的栅极,如扬声器发出响亮的咕咕声,说明低放、功放等部分工作正常。如有仪器时,可自6N2左半部栅极输入音频信号(400赫),若扬声器音圈两端电压为0.42伏,而输入音频信号电压小于3毫伏,说明各级工作均正常,可以按以下步骤进行调试。
如无仪器时,可借助收听电台调整。

再生强度与L\(_{4}\)的圈数有关,可随需要进行调整。如灵敏度较低,可增加圈数,但不应引起啸叫。有叫声时可以拆减圈数。若低频端已不叫而高频端仍有叫声,可减小阻尼电阻R1,反之,增大R\(_{1}\)。
整机性能及收听效果
我们试制了上述两灯机样机一架,经过测量,主要性能如下:
灵敏度:600千赫2000微伏
1000千赫1400微伏
1500千赫1000微伏
选择性:1000千赫偏调+10千赫9分贝
偏调-10千赫11分贝
谐波失真(输入频率:1000千赫,输入信号强度:
5000微伏,调制频率:400赫,调制度:
60%,输出功率:100毫瓦):
6.4%。
在北京郊区和市区试听,一般在室内接一根约2.5米的天线(如在钢筋水泥楼房内则须将天线伸到窗外),可以收到很多电台,并且可以分隔清楚,基本无串台现象。同时与普及型四灯机进行比较,几乎四灯机可以收到的电台,本机均可收到。可见本机是可以满足一般使用要求的。(张显光)
