把全电视信号加到显像管的栅阴极之间时,由于控制栅极电压变化,电子束强度就相应地改变,于是在荧光屏上就出现了图像。如图1所示,适当选择显像管栅偏压的大小。可以使得消隐信号位于显像管的截止线上(图中a点),这时电子束被封闪,光屏呈现黑色(a’点),因而不会出现回扫线。图像信号的灰色部分到来(图中b点)会使栅压升高,于是栅极瞬时电压比阴极负得少些,电子束就有一定强度,在光屏上打出的亮点相当于图像中的灰色(b’点)。当图像信号达到最大峰值时(c点),电子束最强,光屏的相应的部分就出现最白色。全电视信号的大小是用峰—峰的电压值来表示的(见图1)。很明显,同一个电视信号被放大得越大,c、b、a各点的电压就相差得越大,而光屏上相应各点的亮度(c′、b′、a′)就相差越大。这时图像中的黑白对比分明,或者说图像的对比度大。相反地,如果加到显像管栅阴极间的全电视信号过小,那么,信号中表示不同图像亮度的各点(例如c、b两点)的电压就相差不多,光屏中相应点的亮度也就相差不多(对比度小),重显的图像就不明显不真实了。由此可见,图像的对比度决定于全电视信号的大小,电视机中的“对比度”旋钮就是用来调节全电视信号的大小的。

图像的对比度和图像的亮度并不是一回事。图像的亮度主要决定于显像管直流栅偏压的大小。例如,在图1中如果电视信号大小不变(峰到峰值不变),但是显像管的负栅偏压加大,那么,整个电视信号在图中的位置都要向左移,光屏上重显图像中所有各点(例如和信号上c、b点对应的点)都要变暗,也就是重显图像的亮度变小。相反地,如果显像管的负栅偏压减小,那么,整个电视信号都要向右移,重显图像中所有各点都要变亮,也就是重显图像的亮度变大。电视接收机中的“亮度”旋钮,就是用来调节显像管直流栅偏压,以改变图像亮度的。
来自视频检波器的全电视信号,数值只有零点几伏到几伏。但是,为了使重显图像获得足够的对比度,推动显像管的全电视信号约需20~50伏左右。因此,在电视机中都需要有一只视频放大器,以把检波后的全电视信号放大到20~50伏,再去推动显像管。这就是视频放大器的主要功用。在多数的电视机中,视频放大器还有另外两个作用,其一是对6.5兆赫第二伴音中频信号稍加放大,送到伴音通道,其二是把全电视信号送到同步分离级去。
几点要求
对视频放大器的要求是:(一)输出信号电压应足够大。(二)图像信号加到显像管时极性要正确,才能获得一正像,这在上一期“视濒检波器”一文中已谈过。(三)频带要宽。视频放大器是一个宽频带放大器,它要均匀地放大约由25赫到6兆赫的交流电压。高频分量相应于图像水平方向的细节。高频失真会使水平方向上黑白界限不清晰,使图像中的细小部分(如眉毛、眼睛等)看不清楚。低频分量相应于垂直方向的底色及较大面积的黑色、白色部分(如人脸、衣服等)。低频失真会使相应部分色调不均匀、模糊、对比度不足或同步不良。(四)失真要小。在这里,有三种失真都要尽量减少。①频率失真,这已如上述。②非线性失真。它会使得图像黑色和白色的相对亮度重显得不正确,产生对比度失真。③相位失真。它在音频放大器中是无关重要的,因人耳对它的感觉不灵敏。但在电视中,这点很为重要,它能使重显图像的内容在光屏上从正确位置移开,人眼对此很敏感,结果使图像模糊。
基本电路
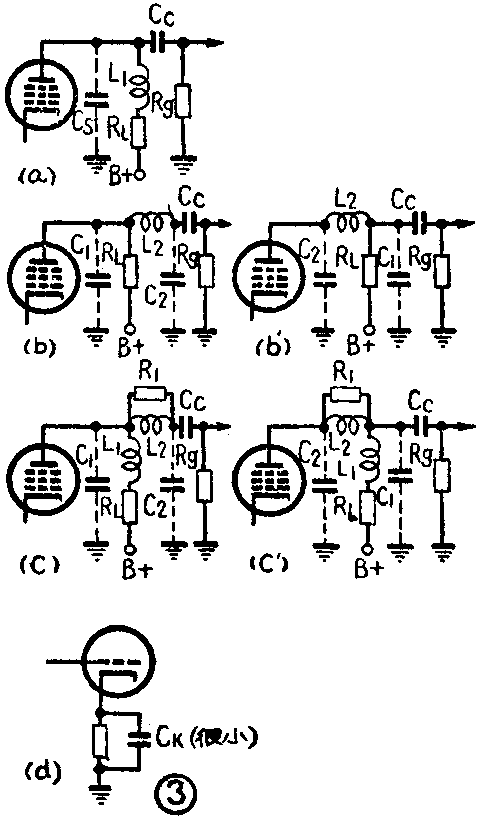
由于放大的频带这么宽,而且各种失真又必须很小,因此不能采用具有显著选择性的放大器。一般均采用频带特性良好的阻容耦合放大器,其基本电路和音频放大器相似(图2)。但简单的阻容耦合放大器还是不够理想的,因为它的放大量在高频端和低频端都有很大的衰减。

在高频端的衰减是由于负载电阻R\(_{L}\)被电容CS(图2)所旁路的缘故。这个电容包括了Л\(_{1}\)的输出电容,接线分布电容和Л2的输入电容。它的数值不大,约在15~30pf之间,在低频和中频时没有影响,但在高频时则有显著的旁路作用。
为了向高频方面扩展频带,一方面要尽量减少C\(_{S}\),另一方面可以减小RL。R\(_{L}\)越小则频带越宽,但增益同时减少。电视机中使用的RL通常为3~4千欧左右,这时频带可达1.5或2兆赫左右。这显然还是不够的。但RL如再小时则增益将过分降低,因此还需要采用高频补偿的方法。
图3a是所谓并联电感补偿电路。L\(_{1}\)和CS、R\(_{L}\)构成一低Q值的并联谐振回路,在被衰减的高频端谐振,于是使负载阻抗增加,从而提高了高频增益。只要元件选择恰当,就能够在所需的频带内获得均匀响应。L1的数值约由数十微亨至数百微亨左右。图3b是所谓串联电感补偿电路。L\(_{2}\)把CS分成C\(_{1}\)和C2,因和RL并联的C\(_{1}\)电容量小了,故可稍增大RL以提高该级增益,或者在R\(_{L}\)不变时增大频带。适当地选择L2的数值,使它和C\(_{2}\)在开始衰减的高频端发生串联谐振,这样由C2加到下一级的信号电压便大大增加,因之改善了高频响应。当C\(_{1}\)=\(\frac{1}{2}\))C2时可得到较好的补偿效果。R\(_{L}\)要放在电容量较小的一侧,因此如果L2右侧电容小时,R\(_{L}\)就要放在右侧,如图3b′所示。其补偿结果则和图3b完全相同。图3c和图3c′是同时采用以上两种方法的复合补偿电路,它的补偿作用比前两种方法更有效。和L2并联一只阻尼电阻R\(_{1}\)的目的,是不让高频升得太高,以免产生峰起而使图象的黑白交界处出现多边现象。图3d表示另外一种补偿方法。这里的阴极旁路电容非常小,对高频来说等于短路,而在低、中频时,其阻抗相当大,引起负反馈而使增益减小,高频相对的被改善了。

放大器低频端的衰减是由于耦合电容C\(_{C}\)、帘栅极旁路电容Csg和阴极旁路电容C\(_{K}\)所引起(图2)。在频率很低时,这些电容的阻抗显著增加。CC上的降压在低频时变大,将使R\(_{g}\)上的输出电压减小。补偿的方法是采用直流耦合以取消CC,或增大C\(_{C}\)的容量和Rg的数值。但要注意C\(_{C}\)太大则漏电也大,并会因体积增大而增加分布电容。Rg太大则会引起电子管工作的不稳定。C\(_{sg}\)和CK在低频上的衰减作用是由于阻抗增大所引起的负反馈作用。补偿方法是加大它们的数值(例如Csg加大到20μf以上,C\(_{K}\)加大到200μf以上),采用固定栅偏压因而取消阴极偏压等。另一种补偿低频失真的方法,是在RL下面接入一个去耦网络R\(_{d}\)Cd(图2)。在高、中频时,C\(_{d}\)的阻抗很小,起去耦滤波作用。在低频时Cd阻抗增加,和R\(_{d}\)一起使负载阻抗提高,以提高了低频增益。
由于相位失真和频率失真都是由电路中电抗元件引起的,因之二者之间有着紧密联系,采用了以上的办法来补偿频率失真的同时,也就改善了相位失真。
在一般电视机中,多把视频放大器的输出信号加到显像管的阴极,这时输出信号是负极性的。
如果通过视频放大器的6.5兆赫第二伴音中频信号不太小,它就会在显像管光屏上产生干扰。因此有些机器在视频放大器和显像管之间加入一6.5兆赫吸收回路以减小干扰。
把全电视信号引到同步分离级时,该级的输入电容附加到视频放大器的屏极电路,将使高频响应变坏。因此常在电路中接入—只较RL为大的隔离电阻,以减少这种影响。为了获得宽的频带和高的增益,视频放大器应使用极间电容小而互导很高的电子管。又因为负载电阻较小而输出电压比较大,所以管子应能给出较大的屏流。由于三极管在工作时的有效输入电容很大,所以一般都采用五极管。
为了调节加到显像管的全电视信号的大小,以得到合适的对比度。在具有自动增益控制的机器中(如红宝石牌),通常是在视频放大器的阴极接入没有大电容旁路的电位器来调整负回授,以变化该级增益,从而改变输出信号的大小。在没有自动增益控制电路时(如北京牌),为避免强信号时中频末级过载,多在高频部分或图像中放级改变负偏压的大小以达到此目的。为了改变图像的平均亮度,通常在显象管的栅极或阴极接入一只电位器以调节直流偏压的数值。
关于直流分量
电视传送的各个图像,它们的平均亮度可能是不相同的。例如,传送舞台上的日景时,图像的平均亮度就比传送夜景时大得多。全电视信号中的直流分量(参看图4a)代表所传送图像的平均亮度,它和显像管上的固定栅偏压叠加在一起,决定了光屏上重显图像的平均亮度。如果让信号通过耦合电容,则此直流分量将失去,信号将在某一平均电平的上下涨落(图4b),由于各个图像的亮暗不同,将使黑色电平有所变动。把这样的信号加到显像管去,重显图像的平均亮度就和原来的不符。如果调整亮度调节旋钮使亮图像的消隐电平位于显像管的截止电压,因而相应于黑色(图4C),那么,对于暗的图像,则它的消隐脉冲不在截止线上,故光屏不会发黑,于是看到了可厌的回扫线。同时暗图像重显时要比原来图像亮了,对比度范围也因此而缩小。相反地,如果把较暗图像的消隐电平调节到截止电压上,那末较亮图像的黑色部分将要进入截止区而不再在光屏上出现。

为了保存直流分量,可以采用不要耦合电容的直接耦合放大器,常见的是使用一个这样的放大级(加红宝石牌)。使用两级时对电源要求很高,所以比较少见。另外,也可以仍然使用阻容耦合放大器,但同时设法在显像管输入端使用一个特殊的电路把失去的直流分量重新恢复。
为了降低成本,近代电视机多放弃以上方法,仍然采用交流耦合而任凭直流分量失去。虽然这时屏幕上图像的平均亮度和原来的不符,对比度范围也小了,但观众对此一无所知。他们更注意的仅是图像黑白之间的相对对比程度。亮度变暗或变亮了,可以调节亮度旋钮来加以改变。至于回扫线问题,则从垂直扫描电路(有时还从水平扫描电路)引出一个脉冲,加到显像管的栅极或阴极,使显像管电子束在回扫期间被截止,因而屏幕上看不见讨厌的回扫线。
实际电路

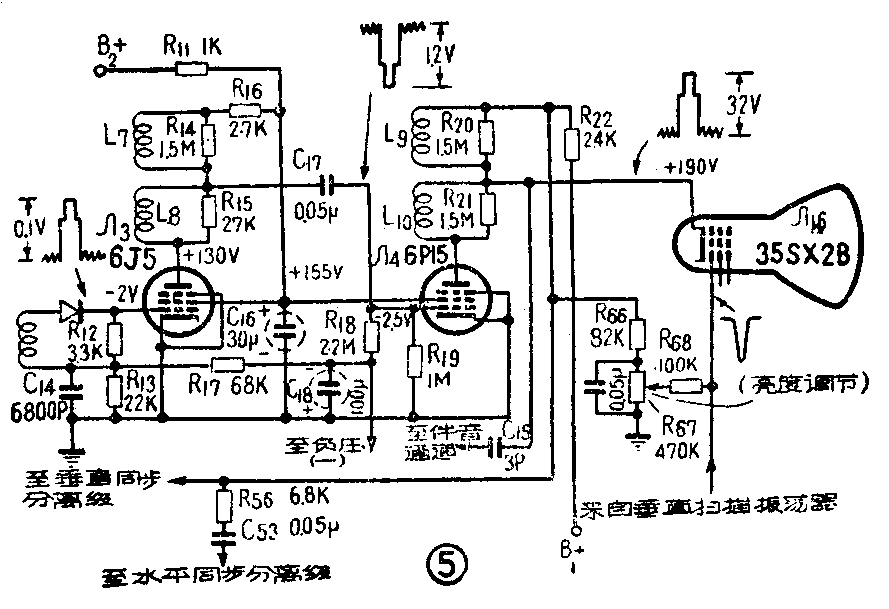
北京牌电视机的视频放大器有两级,如图5所示。第一级Л3使用一只6J5(6Ж5П),其输入信号为负极性的。屏极电路是采用串、并联复合高频补偿,L\(_{7}\)是并联补偿电感,L8是串联补偿电感。R\(_{15}\)为阻尼电阻(R14仅作线圈支架用),R\(_{16}\)为屏极负载电阻。R11C\(_{16}\)组成屏极电路及两级帘栅电路的去耦滤波网络(这里省去了图2中的Rsg)。信号放大后经耦合电容C\(_{17}\)加到末级Л4(6P15,即6П15П)的栅极。R\(_{19}\)为该级的栅漏电阻。两级放大器均采用固定偏压,这就除去了产生低频失真的阴极电容。Л3的偏压由R\(_{17}\)引入,而Л4的则由R\(_{18}\)引入,C18为偏压滤波电容。Л\(_{4}\)的屏极电路也采用串、并联复合补偿,屏极负载为R22。其输出信号是加到显像管Л\(_{16}\)的阴极,所以是负极性的。R67为亮度调节器,和它并联的0.05μf电容起旁路的作用,R\(_{66}\)为降压电阻;垂直扫描电路在R66上产生一个负脉冲电压,加到显像管栅极以消除光屏上的垂直回扫亮线。6.5兆赫第二伴音中频信号通过C\(_{15}\)加到伴音通道去。全电视信号除加到显像管外,还分别加到水平同步分离级和垂直同步分离级。R56就是隔离电阻。整个放大器的增益约为320倍,频带达5兆赫以上,并在4~5兆赫之间故意做成峰起(上升),以增进图像细节的清晰度。(黄锦源)