在发报时使用半自动键,可以减轻报务员的劳动强度,提高工作质量和加速信息传递。但是在一般半自动键电路中,差不多都使用两三个昂贵的特殊继电器,而且这些继电器在高速发报时不够稳定。
下面介绍的无继电器电路克服了这些缺点,它的发报速度为每分钟50~300个电码,这个速度可由一个旋钮调整。整个电路有三个输出端:1—接到电台中栅极或抑制栅极键控处;2—接入电台中载流小于30毫安的键控电路;3—音响输出(接耳机)。
电路工作原理

半自动键的原理电路如图1所示,三极管V\(_{1}\)(6N1)的左一半接成阴极耦合的间歇振荡器,在它栅路中的电位器R2用来调节振荡频率(即发报速度)。供电电源经过R\(_{1}\)和R2,接到电子管栅极,这样可以使振荡器栅极输出电压UC\(_{1}\)的波形更接近于锯齿形。当电键K处于中间正常位置时,V1的左管屏极开路,不能发生振荡;如果把K掷到“划”一边时(令接点1与3相接),则V\(_{1}\)左管屏压有最大值;K掷到“点”一边时(令接点1与2相接),电源电压经R5加到屏极,所以屏压低于“划”时的屏压,振荡也相应减弱,V\(_{1}\)栅极上的锯齿形电压的幅度较小。

V\(_{1}\)的右半边接成阴极输出器,用以消除后级对间歇振荡器的影响。当电键工作时,阴极输出器栅极将加有幅度很大的负脉冲,为了避免这些脉冲受到限幅,将V1右管阴极经负载电阻R\(_{6}\)接至电源负端。V1栅极电压经阴极输出器后,在B点输出电压的波形UB如图2a所示,图中幅度较大的代表K掷向“划”一边时的输出电压,幅度小的代表K掷向“点”一边时的输出电压。这个电压经过限幅电阻R\(_{7}\)加到双向限幅放大器的栅极上。这一级由双三极管V2(6N2)的左管担任。它的阴极加有负电压UK,负压数值的大小可由R\(_{8}\)来均匀地调节。R9是限幅器的负载电阻。这一级的屏极与下面两级(6U1担任)的栅极是连接的,所以它的屏压就控制着下两级的屏流。
阴极输出器输出的电压经限幅电阻R\(_{7}\)后,加到V2左管栅阴极间的电压U\(_{CK}\)的波形如图2b所示,脉冲大于-UK的部分已被限幅器削去,图中标出的UC20是V\(_{2}\)的截止栅负压。可以看出,相当于“划”的大振幅锯齿形负脉冲使V2左管截止较长的时间,相当于“点”的则使V\(_{2}\)左管截止较短的时间。截止时,V2左管A点的屏压U\(_{a}\)升到了电源电压(图2C),这时6U1的七极部分和三极部分都将导电;当UCK上升到U\(_{C2}\)0以后,V2左管开始通流,U\(_{a}\)开始下降,当UCK等于零时,U\(_{a}\)降至-Uao,这时6U1七极和三极部分都不导电。图2C所画的就是V\(_{2}\)左三极管输出的屏压曲线,亦即6U1七极和三极部分导电的时间曲线。
V\(_{2}\)的右边三极管与V3的帘栅和第一栅部分接成了不对称的多谐音频振荡器,它们栅回路中的电阻比屏回路中的电阻小得多,这样可使电子管的增益系数较低,并使输出波形较接近于正弦形。R13用来调节音调。发报时,这级的振荡永不停止,但是只有当V\(_{2}\)左三极管的屏极有正脉冲输出时,6U1七极和三极部分通流,音频电压才能从耳机输出,“输出1”、“输出2”的两端也才能将键控电路开通。在脉冲间隙时间内,无信号输出,形成电码符号的间隔。由此可见,当把电键K掷向2和3的两端时,输出端就能以长短不等的时间周期地形成通路和断路,从而不断发出“点”和“划”的电码符号。
整流器采用有中端抽头的倍压整流电路,正压电源部分消耗的电流不超过10毫安,负压电源耗用电流为3毫安。
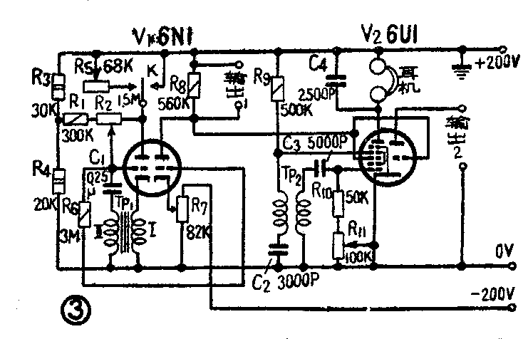
图l的电路是较为复杂的,适用于快速发报。若每分钟只发150个以下的电码时,电路可简化如图3。在这个电路里取消了阴极输出器,限幅器栅极上的电压是从间歇振荡器经由3~5兆欧电阻R\(_{5}\)直接加上的。音频振荡器是由V2(6U1)七极部分组成间歇振荡器电路,适当地选择C\(_{3}\)的数值可以得到满意的音调调节范围。这时,半自动键用两只电子管即可作成。

零件和电路的调整
这两种电路的调整步骤大致相同,现以图1电路为例来说明电路装成后的调整方法。
在检查整流器工作正常后,首先调整音频振荡级。将电位器R\(_{8}\)旋在图中上端,这时V2左管屏压U\(_{a}\)为正值,6U1通流,当音频振荡器装置正确时,在耳机内应听到声音。然后将R8旋低直至耳机内听不到声音为止,再调整其它各级。限幅器和阴极输出器无需调整,此后即开始调整间歇振荡器。将电键掷向3(“划”)的一端,在耳机内应能听到音频信号。然后再调整R\(_{8}\),使音频脉冲持续时间为间隔时间的三倍。如果耳机内听不到音频信号,可将间歇振荡器变压器的一个线圈两端调换一下。在“划”的时间长短调整好以后。即可将电键掷向2(“点”)的一端,调节R5,使音频脉冲持续时间与间隔时间大致相等。调节好后在电位器旁注上记号,调整工作就完成了。
图中所注零件数据可在30%的范围内变动,不致影响电键的正常工作。图1和图3中变压器T\(_{P1}\)可用E形16×22毫米硅钢片心绕制,线圈Ⅰ用0.12毫米漆包线绕500圈,线圈Ⅱ用同号线绕2000圈,每隔200~300圈垫一层绝缘层。图3中音频间歇振荡器的变压器TP2。可绕在任一种无铁心的支架上,屏回路和栅回路线圈各用0.1毫米漆包线绕2000圈左右。(金以丰根据苏联“无线电”1960年9月号编译)