一般五灯收音机都有附加插口,可以加接拾音器播放唱片。如果直接加接话筒作为扩音机使用,由于话筒输出电压很低,不足以推动低放级,所以音量低弱,难以达到扩音的目的。要使五灯机成为收、扩音两用,通常办法是加设一级电阻耦合式的前置电压放大级,以提升话筒输入的音频电压。这样做有以下缺点:(1)需要在收音机原有零件外,另加一只电子管和相关的电阻电容,以及增加退耦电路所必需的许多零件。但是原有变频和中放两级的电子管却都闲置不起作用。而且在原机底板上打孔。加装管座和零件排列等问题也不易解决。(2)由于多了一级低放,接线和零件排列不当,很容易引起正反馈,发生啸叫或汽船声,使放音失真。
这里介绍笔者突验的一架收音、扩音两用交流五灯机,特点是扩音时采用载频调幅放大电路,五只电子管都能充分发挥作用,一般的五灯收音机几乎都可以改装,增加零件不多,装制容易。
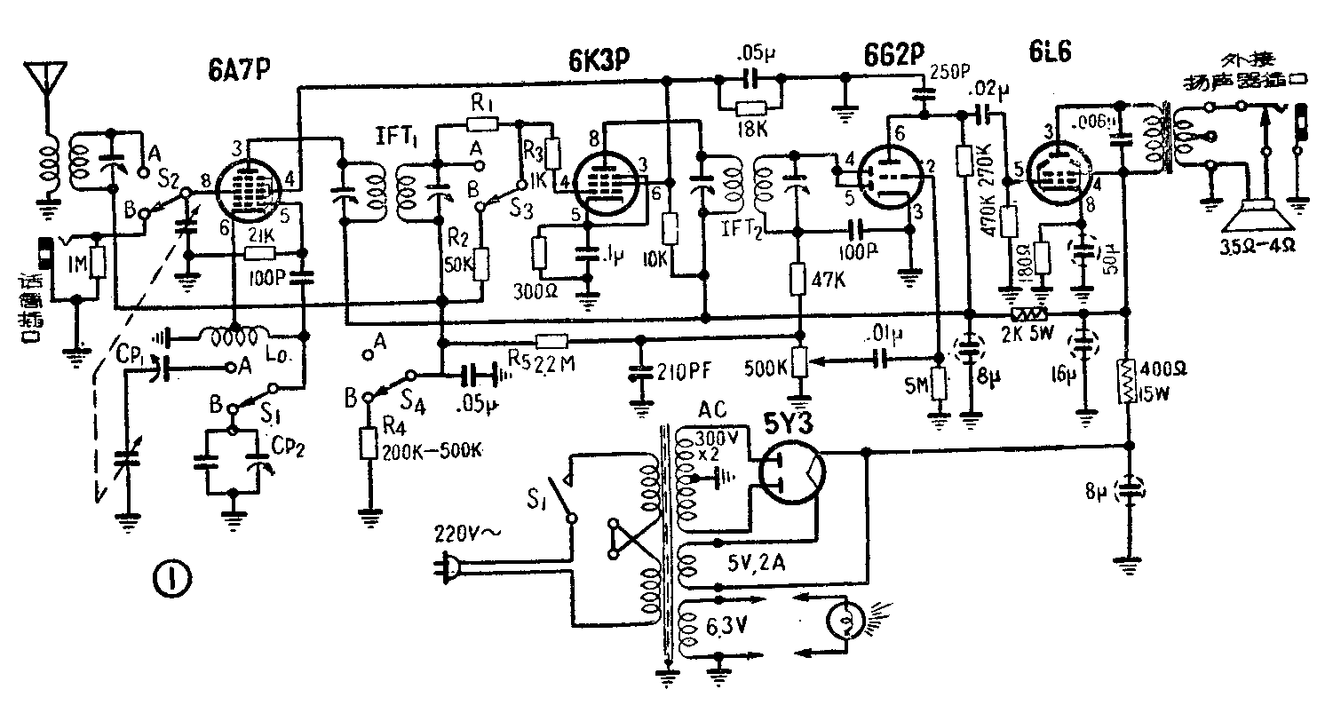
这架两用机的实验电路见图1。它的工作原理是这样的:当四刀双掷波段开关S\(_{1}\)、S2、S\(_{3}\)、S4接在A点时,电路结构和一般超外差式收音机相同,可以收听广播节目。当开关接在B点时,话筒通过S\(_{2}\)接到原变频管6A7P的第三栅上。同时,通过S1的换接,收音机原有中波振荡线圈L\(_{0}\)就不接可变电容器,而和新增加的电容器Cp2相接(C\(_{p2}\)是由一只固定的和一只半可变电容器并联,容量约为700—750微微法),组成振荡回路,产生465千赫的等幅波作为载频,由自第三栅注入的话筒音频电压对这一载频进行调幅。在电子管的屏负载(IFT1的初级)上得到已调幅信号,以后就和接收广播信号一样,经由中频放大、检波和两级低频放大,使扬声器发音。从原理上推算,要使扩音机达到正常的功率输出,在第一级低放以前,话筒信号电压应当提升100倍左右。在这里,调幅级增益约为25到50倍,中放级增益也有40倍上下,除去检波级衰减后,仍能满足需要。

本电路在试验过程中曾发现有下列几个问题,在实验中得到解决。
(1)调幅级(6A7P)不宜加用自动增益控制,否则会产生音量小、失真等现象。原因是本机振荡产生的载频电压相当强,而第三栅注入的音频电压很低(仅为数毫伏),载频调制度很低。但自动增益控制负压却与载频电压成正比,由此而产生的强大自动增益控制负压会影响调幅工作的稳定,并使本级增益降低。为此必须将它取消。图1中将S\(_{2}\)扳到B时,6A7P管第三栅即通过1M电阻直接通地,取消了自动增益控制。
(2)中放级需要加接自动增益控制负压,而且负压值必须适当,不宜过高或过低。如果不接控制负压,或负压过低,由于前级输入的载频电压很高,会使中放级过荷,引起寄生振荡啸叫和严重的失真现象。控制负压过高,又会使中放级增益降低太多,并使输出波形失真。在初次试验时,曾发现当本机振荡回路调谐到恰当的中间频率时,中放管6K3P上的自动增益控制负压高达-30伏。这数值接近于可变放大系数管(6K3P、6K4等)的屏流截止点,使它工作于特性曲线的弯曲部分。为此需要采取措施,将中放管的栅极自控负压维持在适当值上(据实验最佳值为-5至-6伏),使音质和增益得以兼顾。

(3)检波级(6G2P的二极部分)不宜施加过高的信号电压。在实验过程中,为了达到上述第(2)项要求,先曾采用图2电路,利用分压电阻(40千欧)来供给中放管较低的栅负电压。这样虽然也能使负压控制在-5至-6伏范围内,但加至检波管小屏上的检波电压过高。例如,用电子管电压表测量 两点负压为5伏时,检波管输出负压,即 两点间高达250余伏,这还是交流信号电压经半波整流后的平均值,其峰值尚不止此。这样不但会使检波管过荷,而且由于检波管屏极比阴极负这样多,工作点落在很大负值处,检波后的信号电压会造成很大失真。因此加在检波管小屏上的载频电压必须加以限制,保持在一个适当值上。

为了满足(2)(3)两点要求,突际采取的措施如图1线路所示。中放级输入端加有由分压网络构成的衰减器,对前级输入的载频电压振幅适当削弱,以稳定以后各级的工作。当选择开关S\(_{3}\)接通A点时,这部分的等效电路如图3所示。这时R1短路,R\(_{2}\)开路,均不起作用。中放管栅回路中仅有一个阻值很低的串联电阻R3(作用在于抑止中放级自激,免除寄生振荡,阻值为500~1000欧),这时线路与一般收音机没有差别,对外来广播信号无衰减。

当开关接在B时,实际电路如图4所示。前级传来的中频信号电压加在G、F两端,由以R\(_{1}\)及R2组成的分压网络进行衰减,仅抽取信号电压的一小部分(R\(_{2}\)上的电压降)加在中放管的栅极进行放大。结果检波管检波电压约为25伏上下(检波后的平均值,下同)。这样检波级就可以保证得到波形良好的音频输出。这时,检波得到的直流负压成分也相应减小,经滤波后再经适当衰减(其分压网络由R5、R\(_{4}\)组成),输至中放管栅极作为自控负压。当R4为500千欧时,中放管可获得的自控负压约为-5伏。电路中R\(_{2}\)阻值选用50千欧。至于R1的阻值,由于各式中放级线路的增益不同,以及电子管新旧程度等因素,变化很大(自10千欧至500千欧),要在调机时实验决定。当收音时,S\(_{4}\)接到A,R4开路不起作用,自控负压全部加在变频级和中放级上。
调试步骤
全机装好以后调试步骤如下:
(1)先将开关拨向A,依一般超外差式收音机调试方法调整。末级管用6L6,屏压为250伏时,最大音频功率输出可达6瓦。要注意调整各中频回路,使它正确地谐振在465千赫上。
(2)将开关拨向B,先调本机振荡回路。用电子管电压表(内阻为10兆欧以上的)接在音量控制电位器两端(电位器上端为底板为电压范围先拨在较高的一档上),然后仔细调节C\(_{p2}\)的半可变电容器。振荡器起振时,电压表将有读数。当调至某一点可使电压表得到最大指示时,表示振荡回路已产生465千赫的等幅载频。开始试验时,R1可暂用较小的阻值(20千欧至30千欧)。如果调节中电压表没有指示,应当检查C\(_{p2}\)是否完好合适。
(3)调节C\(_{p2}\)电压表指示到达最高点时,察看指示电压是否在25~30伏范围内。若低于25伏,可将R1换用10千欧、5千欧等较小值。若降至5千欧还不能到达25伏,就应检查各中频变压器是否统一谐振在465千赫。同时还要注意,各谐振回路调得过于尖锐时,易使中放级自激,产生振荡。这时扬声器会发出啸叫或汽船声,电压表指示突然上升很大,而且闪跳不止。解决方法可适当增大R\(_{3}\)变更中放级零件和引线的安排,或将第二级中频变压器IFT2调偏少许,以使自激振荡停止。
若电表指示超过30伏,可将R\(_{1}\)换用较大阻值(50K,100K、250K等),至接近25伏为止。
(4)经过上述调整,电压表指示 达到25~30伏范围后,将电压表移测R\(_{4}\)的两端。如阻值合适,可量得5~6伏的负电压。如过高或过低超过20%以上时,应调整R4及R\(_{5}\)阻值改正。
各部分电压符合要求以后,将动圈式话筒插入话筒插口,一面将音量控制徐徐开大,一面对着话筒说话,扬声器即可发出宏亮声音。仔细微调C\(_{p2}\),可使发音更为清楚动听。最后再用电压表测量上述各部分电压,如无多大变化,调试工作即告完成。
用途
这架两用机很适合在人数不多的学校或机关单位作有线广播,或在小型会场作扩音使用。曾试用在800人上下的会场里,效果相当满意。在供会场讲演应用时,须另配备8欧10瓦或12.5瓦反射式永磁扬声器两只,并联接在机上的外接扬声器插口,机内扬声器即自动开路,不再放音。使用时应勿使话筒与扬声器距离太近,以免产生声反馈。可将外接扬声器分置会场两角,高度在2米以上,指向会场中心,当音量控制旋钮旋到一半位置时,音量已足够使全场的人都能清楚地听到。
本机末级使用6L6集射四极管,它的负载阻抗在这种电路中应为2500欧。若采用6P1或6P6P作末级放大时,最佳负载阻抗为5000欧,应依此配用输出变压器。在实际装制中,如果利用一般五灯机木箱及底板则原有的加接拾音器插孔可改作本电路的外接扬声器插口。话筒输入可在靠近变频管的适当位置另行开孔加装插口。两个插口的机内引线均须使用金属屏蔽线,以保证隔离良好,避免产生反馈啸叫和交流声。(阮亭)