这架干电池三灯机结构小巧,用电省,使用的电子管和零件普遍易购,很适合无电源地区的爱好者制作使用。
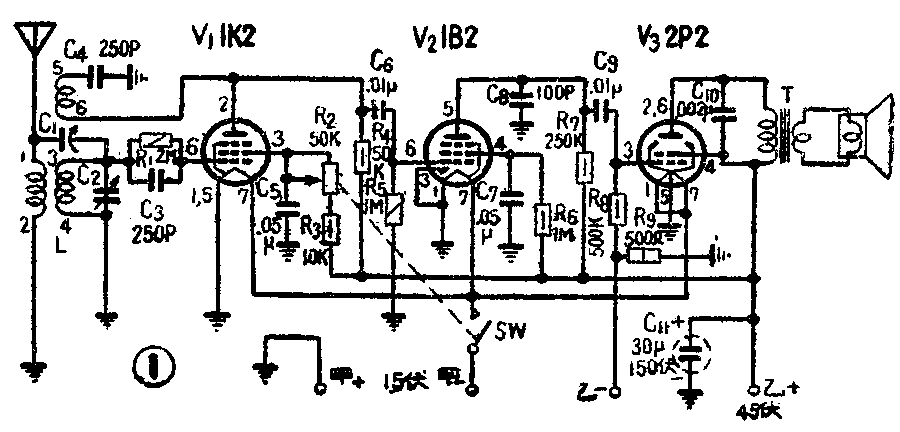
收音机是再生放大式的,线路如图1。它用一只1К2(1К2П)管作再生检波,1只1B2(1Б2П)管作电压放大,一只2P2(2П2П)管作功率放大。再生调节是利用50К电位器变动1К2管的帘栅极电压来实现的。这种方法经过实践比较,再生控制确实比其他接法稳定,并可兼作音量控制。

收音机中的零件应当尽可能选用质量比较好的,它会影响到收音机的性能效果。本机调谐线圈L用美通336小型蜂房线圈。调谐电容器是复旦360P单连可变电容器。其他固定电容器,C\(_{3}\)、C4、C\(_{8}\)均用小型云母介质的。C6、C\(_{9}\)、C10也用质量较高的纸质电容器。C\(_{11}\)为电解电容器,这里选用铝质外壳的一种。电阻大部分均采用优质炭膜式的,以保证收音机工作稳定。
为了得到较好的音质,扬声器采用永磁电动式的。T为输出变压器,应当选用配合2P2管使用的,其阻抗初级为15~20千欧,次级为3.5欧。自制用叠厚截面积为16×16毫米的E型硅钢片铁心一副,初级用0.12毫米(40号)漆包线绕4000圈,次级用0.47毫米(26号)漆包线绕56圈。绕好后应在融化的石蜡里浸一遍,可以防止霉雨季节的断线现象。这点在南方比较潮湿的农村环境中是很必要的。
在制作方面,本机零件都装在一块70×80毫米小木底板的上下两面,底板垂直放在机箱内。这样C\(_{2}\)在下端,R2在上面,布线可以短捷,并可避免零件相互交叠产生交连。整机安装和布线如图2和图3。


一般干电池再生式收音机,电源接线连同天线、地线和扬声器的接线等共有8根,使用起来比较凌乱,一旦错接,有烧毁电子管的危险。现把扬声器放在箱内,电源接线单用一只废五脚管腰分脚焊好,管座装在另外的电池盒上,地线接在电池盒的甲+端。这样,收音机向外引出的只有一根天线和一个电源插子,使用上十分便利安全。
全机装置完毕后,也要经过简单的调整。
由于调谐线圈选用的是体积较小的高总阻式线圈,在收听900—1500千赫波段电台时,刻度非常狭窄,调节不便,所以就在天线与调谐线圈(线圈的1和3端)之间跨接上一只50P的半可变微调电容器C\(_{1}\),作为拉复盖之用。适当地调节C1可以把1500千赫的电台拉到较高的一端去,使刻度盘上电台分布能够比较均匀(这时也要注意550千赫一端电台是否变动失调)。经过这样调整,使用上就很方便了。
R\(_{9}\)是功率放大管的代丙电电阻。它的作用不仅是使功率放大管在正常状态下工作,同时还起着保护电子管的作用。这只电阻接在乙电负极和甲电正极之间,这样万一乙+和甲电相碰时,乙电不至短路,而通过电子管灯丝的总电流也不至超过容许值,因而可防止烧坏电子管。
由于充分利用空间,以及采用小型的扬声器,所以机箱体积很小,仅为210×120×80毫米那么大,用三合板胶制,突际制成外形如上图。当然它的式样形状可随各人喜爱设计。
本机的灵敏度和选择性都不差,在浙江慈溪收听使用,天线仅用几米长的胶质线挂在屋檐下,白天能收到浙江、中央、江苏、上海及省内其他电台的节目,晚上尚有福建、安徽、辽宁、江西等许多电台也可以听到。装置半年多来,性能稳定,用电很省,费用经济,很适宜在农村里使用。(谢春桥)