(刘瑞堂)在设计和制作晶体管外差式收音机时,晶体管的高频输出、输入阻抗是个很重要的参数。例如在设计中放电路(图1)时,第一级中放和第二级中放之间是用中频变压器耦合的,需要通过变压器初次级的阻抗变换使得前级的输出阻抗和后级的输入阻抗相匹配。在电路里,由于第一级中放晶体管的输出阻抗比变压器初级中频回路的谐振阻抗低,因此初级线圈要有抽头和管子匹配。另外,第二级中放晶体管的输入阻抗比前级的输出阻抗低,因此变压器次级的圈数要少, 才能达到匹配,功率增益才能最高。

设计中频变压器时,就需要知道晶体管的中频输出、输入阻抗的数值,而晶体管的这项高频参数一般特性表中是没有的。要想直接测量出这个参数,就要用高频电桥等专门的测量仪器,这对一般无线电爱好者来说是很困难的。这里介绍一种间接的测量方法,它可以测量并计算出晶体管的中频输出、输入阻抗,误差不大于10%,能够满足一般使用要求。


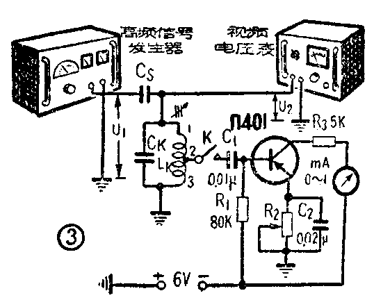
图2和图3分别为测量晶体管中频输出、输入阻抗的具体电路,它们是利用Q表测量Q值的原理,用较小容量的电容器 C\(_{s}\)作为分压电容,用晶体管的输出或输入阻抗分别作为中频谐振回路(CK、L\(_{K}\))的负载,先后测量出中频回路的无载Q值QO,和有载Q值Q\(_{L}\),然后间接算出晶体管的中频输出、输入阻抗。在电路中,CK、L\(_{K}\)谐振回路是采用一般电子管收音机用的中频变压器,分压电容Cs最好选用5~10微微法的固定电容,可变电阻R\(_{2}\)为2~3千欧,在测量时,调节R2使晶体管集电极电流保持在550~700微安的范围内。电路最好屏蔽,以免外界干扰影响测量。
测量和计算的步骤
一、输出阻抗的测量 按图2电路接好。
1.先把开关K断开,将高频信号发生器(ГCC—6)频率调到465千赫,输出电压U\(_{1}\)为100毫伏左右。
2.将C\(_{K}\)LK回路调到谐振,使视频电压表上的读数U\(_{2}\)达到最大值,按下式算出谐振回路的无载Q0值和谐振阻抗R\(_{K}\):
Q\(_{O}\)=U2·C\(_{K}\)/U1·C\(_{S}\) (1)
R\(_{K}\)=ρQ0=2πf\(_{0}\)LKQ\(_{0}\)=Q02πf\(_{0}\)Ck(2)
3.把开关K接通,这时C\(_{K}\)LK回路失调,这是由于有了晶体管的容抗并联所引起的,因此要调节L\(_{K}\)使CKL\(_{K}\)回路重新谐振,使U2达到最大值U\(_{2}\)',按下式计算出有载QL值和晶体管的输出阻抗R\(_{0}\)。
Q\(_{L}\)=U2'·C\(_{K}\)/U1·C\(_{S}\) (3)
晶体管的输出阻抗
R\(_{O}\)=RKQ\(_{L}\)/Q0-Q\(_{L}\) (4)
二、输入阻抗的测量 按图3的电路进行测量。晶体管的基极通过C\(_{1}\)及开关K接到线圈的抽头2上,其圈数比n13:n\(_{23}\)为10:1,即抽头系数ρ=O.1。
测量步骤和计算方法与测量输出阻抗时相同,先断开开关K测量Q\(_{0}\)和RK,然后接通K测得Q\(_{L}\),最后按下式计算出晶体管的输入阻抗。
R\(_{i}\)=ρ\(^{2}\)RKQ\(_{L}\)/QO—Q\(_{L}\) (5)
举例 现在我们取一只Π401晶体管,按上述方法测量和计算它的输出、输入阻抗。电路参数为:C\(_{K}\)=240微微法,CS=10微微法,U\(_{1}\)=100毫伏,Ic=700微安。
开关K断开时,调谐C\(_{K}\)LK回路测得电压U\(_{2}\)=460毫伏。
接通开关K后,重新调谐C\(_{K}\)LK回路,测得回路加负载后的电压U\(_{2}\)'分别为150毫伏(测输出阻抗时)和155毫伏(测输入阻抗时)。
再用前面的公式进行计算:
1.Q\(_{0}\)=U2C\(_{K}\)U1C\(_{S}\)=460×240;100×10=110
2.R\(_{K}\)=Q02πf\(_{0}\)CK=157千欧
3.测输出阻抗时,Q\(_{L1}\)=U2'C\(_{K}\)U1C\(_{S}\)=150×240;100×10=36
测输入阻抗时,Q\(_{L2}\)=U2'C\(_{K}\)U1C\(_{S}\)=155×240;100×10=37.2
4.晶体管输出阻抗R\(_{0}\)=RK·Q\(_{L1}\);Q0-Q\(_{L1}\)=76.5千欧
5.晶体管输入阻抗R\(_{i}\)=\(\frac{ρ}{^{2}}\)·RK·Q\(_{L2}\)Q0-Q\(_{L2}\)=0.12×157×10\(^{3}\)×37.2;110-37.2=800欧。