本刊1961年第4期曾发表“半导体自动排灌站”一文。经过一段时期的实验,现在有不少改进。为了答复一些读者的询问,这里把改进后的电路及制作、运用有关的资料作一补充介绍。
电路原理

整个控制电路如图1所示。晶体管继电电路的“开通”或“闭锁”,是由传感器的金属片H\(_{1}\)~H3间是否被水接通来控制的。我们都知道,晶体三极营的基极与发射极之间必须加上正向电压,集电极才会有较大的输出电流。否则集电极输出电流极小,晶体管处于“截止”或“闭锁”状态。若将三极管T\(_{1}\)的电路简化成图2,不难看出,当H浸入水中后,基极b通过电阻R1接到电源负极,而发射极与电源正极相连,对P-N-P型晶体管而言,这样在发射极与基极之间便加上了正向电压,因而发射极电流I\(_{e}\)与集电极电流Ic显著增大,使三极管“开通”。与此相反,当H未侵入水中时,基极与电源断开,因而集电极电流与发射极电流都极小,三极管处于“闭锁”状态。

三极管T\(_{2}\)的工作是由T1来控制的。当T\(_{1}\)闭锁时,T1的集电极和发射极间相当于开路,对T\(_{2}\)的工作没有影响,因此T2开通,它的集电极电流可达7~10毫安,使继电器RL吸动。当T\(_{1}\)开通时,由于T1集电极电流增大,在R\(_{2}\)两端产生一个很大的电压降。从电流方向可知,这个电压降使T2基极电位升高,从而使T\(_{2}\)基极与发射极间的正向电压减小,使T2的集电极电流减小。在适当选择R\(_{2}\)数值的条件下,T2的集电极电流可以减到很小(0.5毫安以下),即T\(_{2}\)处于闭锁状态,使继电器RL不能吸动。
调整R\(_{1}\)、R2阻值,可改变电路的灵敏度。电路中的R\(_{3}\)、R4是作稳定T\(_{2}\)的工作点用的,可减小温度变化的影响。
整个电路的动作程序如下:
(1)如果被控制的水位(例如水田、水塔中的水层高度)达到最高限定水位时,H\(_{1}\)H2H\(_{3}\)金属片均浸入水中,A、B两点接通。根据前述原理,T1应“开通”,T\(_{2}\)“闭锁”,RL处于释放状态,因此接点y1不能接通。这时因三相交流接触器的吸引线圈K的电路被切断,开关K\(_{1}\)~K3被弹簧拉开,所以水泵电机停车。
(2)水位逐渐下降时,H\(_{1}\)与H2之间首先因断水而被切断。但是这时H\(_{2}\)H3仍在水中,H\(_{2}\)通过K4接到A点因此T\(_{1}\)基极电路仍处在接通状态,情况与程序(1)相同。
(3)水位继续下降,低于最低限定水位时,H\(_{2}\)与H3间因断水而被切断。这时T\(_{1}\)基极电路切断,T1呈闭锁状态,因而T\(_{2}\)三极管开通,继电器RL吸动,接点Y1闭合线圈K的电路,线圈K即吸动开关棒,开关K\(_{1}\)~K3闭合水泵电机的电源,开始送水,使水位不断回升。
(4)水位回升时,H\(_{2}\)与H3首先被水接通。但是由于K\(_{4}\)已被吸引线圈K拉开,T1基极电路被K\(_{4}\)切断,T1仍然处于闭锁状态,T\(_{2}\)开通,水泵继续工作。
(5)当水位升到最高限定水位时,H\(_{1}\)H2H\(_{3}\)均又侵入水中,电路回复到程序(1)的状态,水泵停车。
控制电路中的PT\(_{1}\)是热继电器。它的作用是保护水泵电机不过载运行。如果电动机过载,电动机电流必然超过额定值,流过PT1的电流就会使其中的双金属片弯曲,通过脱扣机构顶开常闭接点PT2,切断吸引线圈K的电路,K1~K\(_{3}\)复原,开断电动机的电源,防止电动机长时间在过载下运行而烧毁。
零件的选择与制作
(1)晶体管T\(_{1}\)T2可选用任何一种小功率低频三极管,如Л\(_{6}\)、2N109等都很适用。晶体管的电流放大系数β最好在30以上。
(2)继电器RL这个继电器的直流电阻不宜过大,一般可在几百欧到4K之间选用。1K以上的有成品出售,例如可采用中国继电器厂出品的GDZ—401等型号。继电器在未安装前应先进行检验,观察其动作电流与吸力是否符合要求。如果灵敏度不够,则应加大电源电压或调松继电器衔铁的弹簧。
(3)三相交流接触器 接触器的规格应根据水泵电机的输出功率大小而定。开关接点容许通过的电流应不小于电动机的工作电流,而且应带有常团的辅助接点(即K4),例如QC-20型(上海出品,20是指接点容许通过的最大电流为20安培)。
(4)热继电器 热继电器是与接触器合并组成“电磁开关”成套供应的。如果单独选用,可采用TK2-1型(KПM型)。热继电器的脱扣电流应根据实际保护需要选定。为求简单起见,也可不用热继电器(这时应将PT1、PT2处全部短接)。
(5)单刀双掷开关 应选用有0位的单刀双掷开关,否则要用单刀三掷开关代替。总之要使其有“停止”、“自动”“手动”三个位置。
(6)水位传感器 H\(_{1}\)H2H\(_{3}\)传感器必须自制,制作方法可参照图3。也可根据实际情况自行设计。

H\(_{1}\)H2H\(_{3}\)用不锈钢片做成环形,套在玻璃捧上。环的高度约1厘米,内径略大于玻璃棒外径,环腰的宽度约1毫米(没有严格要求)。金属环由可调节高度的厚橡皮及橡皮筋托住。根据不同需要,调节H1H\(_{2}\)H3间的距离,H\(_{1}\)调节在欲控制的水层的最高限定水位,H2调节在最低限定水位,H\(_{3}\)和H2间的距离应为2-3厘米。
在作田间水位控制时,H\(_{1}\)H2H\(_{3}\)均安装在保护罩内成一整体,以便牢固地安装在田间。
此外,导线与不锈钢环相联必须采用焊接,并在焊接处涂漆保护。不能借用螺丝或铆钉使导线与钢环相连,这样容易产生电腐蚀。
(7)电源电压 晶体管电源可用2号或4号电池串联,也可用硒整流器整流供给。电源电压为15~22.5伏,根据RL的阻值选定。一般RL为2K可选用15伏。
安装与调整

晶体管继电电路的零件排列与布线可参照图4进行。安装时R\(_{2}\)先暂用100K电位器串联20K电阻接入,待调整后换用固定电阻。R3可选用500K~1M的固定电阻,R\(_{4}\)选用100Ω-2O0Ω的固定电阻(均为1/2瓦炭膜电阻)。安装完毕后,进行以下调整。
调整时在图1×处串联一只毫安表(0-10mA),ABC接线柱暂不连线,然后接通电源(开关SW\(_{1}\)可利用电位器R1上附带的开关)。首先调节R\(_{2}\)使RL工作,这时电流约为7-10mA(在灵敏度许可范围内,尽可能调小发射极电流,以节约电能)。 然后在AB接线柱上分别连接一根导线,并将这两根导线直接碰触(这时R1电位器应放在阻值较大的位置)。当导线碰触时,T\(_{1}\)应开通而T2应闭锁,电流表上的读数应下降至0.5mA以下。如果碰触后电流下降不大,应调节R\(_{2}\)。最后将AB上二导线放入水中试验,如果灵敏度有所降低,可减小R1阻值,并再细调R\(_{2}\)。调整完毕,R2即可用相应的固定电阻代入。
调整时,AB二导线在水中的距离至少应大于 H\(_{1}\)与H3之间的距离,使结果与实际应用情况相符。
灵敏继电器的衔铁动作应“干净利索”,不“拖泥带水”。适当调整衔铁弹簧与接点y\(_{1}\)的间隙,即能达到目的。

水泵机组的主电路可按图5连接。接好后,先将开关SW\(_{2}\)扳在手动控制件置,电动机应转动,然后再将开关SW2扳在自动控制位置。
将传感器安装在实地,通过控制线与水泵机房内的控制电路相连。如果由于控制线过长等原因而降低灵敏度,可再调小R\(_{1}\)阻值。
传感器与电路相连的控制线有三根,相互间不能漏电,不然会引起水泵机组错动。
应用
在工厂、企业、农牧场给水站都可应用这种装置来自动控制水塔水量,也可以应用于农田水沟、水渠水位的控制,或者用于自动保持稻田的水层。
由于排水与灌水是两个相反的过程,因此用来控制排水时,图1中RL的接点y\(_{1}\)应改用常闭接点y2,而K\(_{4}\)则应改为常开接点。
涉及自动排灌站正常工作的有关问题还很多,兹对一些重要问题作一简要说明:
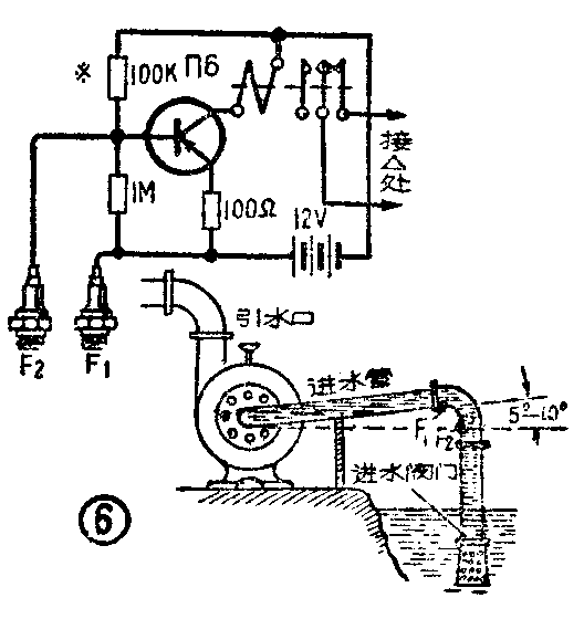
(1)水泵(离心泵)在无引水情况下空转,不但不能完成自动给水的任务,而且对泵体有害。因此吸水管的阀门必须良好,漏水很少,并且要作定期检查,避免日久因漏水太甚,使泵壳与吸水管内的“引水”太少而抽不出水。从实际运行经验来看,使进水管平放或向下倾(如图6),能在较长时期内保持“引水”。

(2)为求稳妥起见,可以装一无水自动保护器(图6),电路原理与前述相同。传感器可安装在进水管F\(_{1}\)F2处(或将F\(_{1}\)移在泵体内)。由于进水管不能漏水,因此装配必需严密,可采用汽车上用旧的火花塞当传感器。这里只需一只晶体管即能满意地工作。继电器RL2的常闭接点应接在图1中记号△处。当进水管无水时,切断线圈K的电路,使电机水泵不能工作。
(3)水泵功率如果很大,在几十千瓦时,由于电动机不能直接启动,因此主电路中接触器应调换。根据实际需要采用磁力控制的星一三角启动器,或磁力补偿启动器。(俞祖山)