超外差式电视接收机的高频部分,主要由高频放大级、本机振荡器和混频级组成。它的方框图见图1。这里是例举接收第二频道时的工作过程。从天线接收下来的高频信号,频带宽度达8兆赫,其中图像载频为57.75兆赫,伴音载频为64.25兆赫。它们经高频放大级放大后,被加到混频级,和本机报荡器送来的92兆赫的振荡信号混频,得出34.25兆赫的图像中频信号和27.75兆赫的伴音中频信号,然后送到中频放大器中去。这里输入调谐回路和高放-混频级间调谐回路一起,组成高频部分的通频带,对信号进行选择。它们和振荡器的调谐回路一起调谐,以选择接收不同频道的信号。一般这三个回路都是用一个共同的旋转轴进行统调。另外在本机振荡回路中加一只微调电容器,以便稍微地改变振荡频率来获得准确的中频信号。

电视接收机的高频部分通常被单独地装在一个金属小盒中,俗称高频头。这样做是为了生产和修理上的方便,并可保证良好的屏蔽。
从前面的叙述可以看到,电视机高频部分的主要功用是:(1)选择所欲接收频道的信号;(2)将选出的高频信号初步放大;(3)将图像和伴音高频信号分别转变为频率较低的两个中频信号;(4)排斥其他不需要的干扰信号,特别是镜像干扰和那些频率落在中频放大器频带内的干扰信号。
和收音机比较起来,对电视机高频部分的要求要严格得多。这些要求是:(1)放大时必须保证很宽的通频带,约达8兆赫;(2)由于通频带这样宽,会通过较大的杂波,而这些杂波又会同信号一起被以后各级放大,影响特别大,所以高频部分的杂波电平应当很低,要能保证足够高的信号杂波比;(3)选择性必须良好;(4)本机振荡信号漏到天线或中放级的效应要很小,以免经天线发射出去影响附近的电视机,或使中放级过载;(5)天线系统和接收机的输入电路必须匹配,以免高频信号在天线馈线中来回反射,影响图像质量和出现“重影”;(6)工作特性应当稳定;等等。

在电视接收机中,为了接收不同频道的广播节目,通常用频道转换开关来换接输入回路、高频放大器及本机振荡器回路的元件。图2示应用很广的鼓形转换开关。对应于某一频道的各个线圈嵌入圆筒形架子上以后,它们的接点露在圆周外面,纵向排成一行。转动圆筒架子,即可改变接入各回路的一组线圈,使回路调谐到欲接收的频道上。这种频道转换装置的结构牢固,接触可靠,不同频道的调谐回路之间的相互影响小而且替换容易,所以获得了普遍应用。也有用波段开关逐段短路电感线圈,来使各有关回路同时调谐于不同频道的,如图3所示。

高频放大级
电视机高频部分照例都有一级高放,用来满足前述对高频部分的某些要求。首先,大家知道,在接收机中,混频器产生的杂波最大。加一级高放先把输入信号放大,然后再送到混频器中,就可以得到较高的信号杂波比,因而图像背景就较纯洁。其次,有了高放级可以增加接收机的灵敏度,并且由于调谐回路数目增加,选择性也改善了。最后,由于高放级的隔离作用,减小了本机振荡电压经过天线向外的辐射。
高放级的天线输入回路,要保证有足够宽的通频带以通过有用信号,而且要能滤除掉干扰信号。此外,还需要供给天线馈线系统一个电阻性匹配负载。例如对于特性阻抗为300欧姆的扁双线来说,这个负载就是300欧姆。输入电路的形式很多,最常见的是对称式电感耦合电路,如图4所示。图中C1和R1分别为电子管的输入电容和电阻。L\(_{2}\)和C1、C\(_{2}\)构成了一个谐振回路。这个输入回路是单回路的,所以具有单峰响应。

电视机高放级的频带很宽,而且它又是电视机中的第一级,所以要特别对意杂波问题。五极管的增益虽较高,但杂波大;三极管杂波较小,但是增益低,而且由于屏栅极间电容C\(_{ag}\)大,容易产生自激。为了克服这些缺点,近年来许多电视高放级都采用了由两个三极管组成的特殊电路——“阴地一栅地”电路。它的突出优点是,具有和三极管高放级相当的低杂波电平,而增益和工作稳定性又相当于五极管高放级。

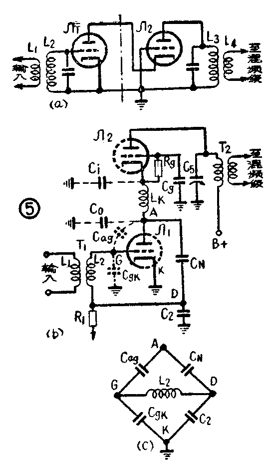
图5a是阴地-栅地电路的交流简化电路。这电路由两级组成,其中第一级为阴极接地电路,第二级为栅极接地电路。从天线来的高频信号加到Л\(_{1}\)的栅极和地之间,经Л1放大后,加到Л\(_{2}\)的阴极和地之间,然后再经Л2 放大,从Л\(_{2}\)屏极加到混频级去。由此可见,第一级的负载就是第二级的输入阻抗。由于栅极接地放大级的输入阻抗很小, 所以Л1的负载阻抗很小,增益很低(接近于1),不会产生自激。虽然栅地级Л\(_{2}\)的增益较大,但是由于接地栅极的屏蔽作用,输出信号不致反馈到输入端去,因而保证了工作稳定。
由此可见,阴地-栅地电路主要是由栅地级来保证增益,阴地级则起了一个阻抗变换作用,把栅地级的低输入阻抗变成阴地级的高输入阻抗。这样,就使输入回路具有一定的选择性,并且可以采用升压变压器来进行阻抗匹配,以便获得传输增益。用变压器升压来提高增益的优点是不会产生附加杂波,这是非常可贵的。
图5b是电视机上实际使用的阴地-栅地电路。为了节省零件和缩小体积,Л\(_{1}\)和Л2用一个双三极管,并把它们串联起来接到B+去。Л\(_{1}\)和Л2的内阻构成了一个分压器,它们的直流屏压都大约等于B+的一半。电容C\(_{g}\)对高频来说相当于短路,从而使Л2的栅极对高频来说是接地的。R\(_{g}\)给Л2 的栅阴极之间提供了一条直流通路。
前面说过,Л\(_{1}\)的屏极负载就是Л2 的输入阻抗,这阻抗很小,所以频带较宽。但是,在高频端时,由于Л\(_{1}\) 的输出电容C0和Л\(_{2}\)的输入电容Ci的旁路作用,增益仍有所下降。为此,这里接入了扼流电感L\(_{к}\),它和C0、C\(_{i}\)组成一个π型滤波器,使得在90~100兆赫间谐振,因此提高了该处的增益,使各频道的放大量得以均衡。Lк是各频道公用的,改变频道时,只需改变调谐回路T\(_{1}\)和T2。C\(_{N}\)是中和电容,它和C2以及电子管极间电容C\(_{ag}\)、Cgk构成了一个电桥(图5c)。当满足条件\(\frac{C}{_{ag}}\)Cgk=C\(_{N}\);C2时,电桥平衡,Л\(_{1}\)屏极(A点)的电压就不会反馈到栅极输入电路。中和电容并不是用来防止自激(前面说过,Л1的增益很小,不会自激),而主要是避免电子管本身的杂波反馈到输入端,以减小杂波,提高信号杂波比。同时还可以防止A点的本机振荡电压耦合到天线中去,以免干扰附近的电视机。
高放级屏极和混频级栅极之间的耦合电路,一般采用双调谐回路,并采用转换电感线圈的方法改变频道。整个高频部分的选择性主要由这一耦合回路决定。它是紧耦合的,所以频率特性出现双峰(图6)。这个双峰曲线和输入回路的单峰曲线构成宽度约为8兆赫的高频部分总合通频带。

混频级
在电视接收机中,变频部分多采用单独的混频级和本机振荡器,而不采用收音机中常用的多栅变频管。这是因为多栅管在频率很高时工作不稳定,互导小,而且杂波较大。混频管可采用三极管和五极管。五极管的增益稍大,但杂波也大;三极管则杂波较小。目前多使用三极管。但是由于现在高放级可以作到有很低的杂波和较高的增益,混频级杂波的影响较小,所以新式电视机中已开始使用五极管。至于在分米波段的更高电视频道中,就需要采用晶体二极管来作混频了。
来自高放级的高频信号和来自本机振荡级的振荡电压通常都加到控制栅极,而不分别注入不同电极,这样可以获得较大的变频增益和较小的杂波。本机振荡器与混频级间的耦合应很小,以减小高频信号电路和振荡器之间的相互影响。注入混频级栅极的振荡电压约为2~5伏左右。
本机振荡器
电视机中的本机振荡器一般采用三点电容反馈式电路(科尔毕兹电路)。因为这种电路比较稳定;在转换频道时只需转换一个没有抽头的电感,比较方便;同时管子的极间电容可以做为振荡回路的一部分。图7示这种振荡器电路。本机振荡频率一般比信号频率高一个中频,它的频率和电压幅度都应当保持稳定。

实际电路

图8为北京牌电视机高频部分(也就是所谓高频头)的原理电路。它利用鼓形转换开关换接两组线圈来变换接收的频道。其中К-1A到К-5A和К1Г到К-5Г是5个电视频道的线圈组,而ЧМ-1A到ЧМ-3A和ЧМ-1Г到ЧМ-3Г为接收三个调频广播节目的线圈组。图中为接收第一频道的位置。整个高频部分都被屏蔽起来,通过插座КП-1和电视机其它部分联接。
电子管Л\(_{1}\)是双三极管6N3(6H3П)。左边接成阴地电路,右边接成栅地电路,构成高放级。它的结构和图5b一样。C2就是图5b中的C\(_{2}\);C3就是图5b中的C\(_{N}\);R3就是R\(_{g}\);C4就是C\(_{g}\);Лp1就是L\(_{k}\)。R2和C\(_{1}\)的去耦电路在这里不是引进自动增益控制电压,而是由插座КН-1的第1脚引进为了控制对比度而送来的负电压,这一电压也同时加到混频级的栅极,这样就可以控制这两级的放大倍数,从而改变对地度的强弱。R1是隔离电阻。
天线来的信号经线圈L\(_{2}\)-1、L2-2的耦合,加到高放级栅极,放大后经右边三极管屏极线圈L\(_{2}\)-17,耦合到混频器输入线圈L2—18去。其中L\(_{2}\)-17和屏极侧的有关电容组成初级调谐回路,C5是微调电容,R\(_{4}\)和C6\(_{+}\)的去耦网络。Л2也是双三极管6N3,左边构成混频器,右边构成本机振落器。混频器输入线圈L\(_{2}\)-18和该管栅极侧有关电容组放调谐回路,C9是这个回路的微调电容器。C\(_{7}\)、R5和R\(_{6}\)等供给混频管的栅偏压,R5和R\(_{6}\)连接处通常引出一个测试点,C10是旁路电容。混频级屏极电路采取并联馈电方式,直流由电阻R\(_{1}\)0送到电子管屏极,中频信号用隔离电缆线由插座КП-1的第8脚送到中频放大器的输入端。应当注意,混频级的负载也是一个调谐回路,但它不是接在高频部分,而是接到第一级中放的输入端。C14为旁路电容;R\(_{7}\)为防振荡电阻。Л2的右边三极管构成图7所示的三点电容反馈式本机振荡器。L\(_{2}\)- 19是振荡线圈。C11和屏-阴极间电容以及接线电容组成图7中的C\(_{2}\),而C8和接线电容等组成该图中的C\(_{1}\)。C8就是所谓“频率微调”电容,用来调节振荡的频率。C\(_{12}\)用来减小振荡回路和电子管间的耦合,以减小电子管工作时由于温度升高所引起的参数变化对振荡频率稳定度的影响。R9和C\(_{13}\)供给振荡器的栅偏压。本机振荡通过L2-19和L\(_{2}\)-18的松耦合加到混频管的栅极,和由高放级线圈L2-17来的信号一起进行混频。(黄锦源)