本文介绍的电桥可以测量10欧姆到10兆欧的电阻和10微微法到10微法的电容。电阻和电容的测量都分为三个量程。电桥用4.5的电池组供电,所需电流为1.2毫安。最低供电电压为1.5伏。

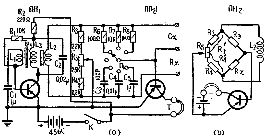
仪器的线路如图a所示。它包括一个音频振荡器、测量电桥本身和一个带有平衡指示器(耳机)的放大器。
音频振荡器是用低频小功率晶体管ПП\(_{1}\)按共发射极电路接成的,振荡回路由变压器的线圈L3和电容器C\(_{2}\)组成。三极管的集电极通过变压器线圈L1与基极耦合。L\(_{1}\)的接法要使三极管的基极电压的相位与集电极电压差180°。另外,还由电阻R1和R\(_{2}\)给三极管基极加了一个负偏压。音频振荡器的频率在1000赫左右。
由变压器的线圈L\(_{2}\)取得振荡器的音频电压,加到电桥上。图b单独画出了电桥电路。R'3(R\(_{3}\)加上R5的一部分)和R'\(_{(}\)R4加上R\(_{5}\)的另一部分)构成电桥的两个臂。另外两个臂是待测电阻Rx和标准电阻R\(_{э}\)(R6、R\(_{7}\)或R8中的任一个,由量程转换开关П\(_{1}\)选择接入)。如果是测量电容,那么这两条臂就应当是待测电容Cx 和标准电容(C\(_{3}\)、C4或C\(_{5}\),也由转换开关П1选择接入)。调节电位器R\(_{5}\)可以使电桥平衡。R5是一个优质线绕电阻,最好是大直径的,它的阻值从1到25千欧都可以用。
如果被测电阻等于标准电阻,电桥的平衡条件是R'\(_{3}\)=R'4。此时电桥的对角线上就没有电流,在耳机里也听不到声音。如果被测电阻(或电容)不等于标准电阻(或电容),那么将电位器R\(_{5}\)的轴从中心位置旋转某一角度,使得R'3R\(_{x}\)=R'4R\(_{э}\),或Rx=\(\frac{R'}{_{4}}\)R'3R\(_{э}\)时,电桥也可以达到平衡。因此,如果电位器R5的轴上套着用电阻比值R'\(_{4}\)/R'3刻度的度盘,那么根据轴的位置就可以确定被测电阻(或电容)是标准电阻(或电容)的多少倍。实际上是在电位器R\(_{5}\)的轴上固定着一个直径为75毫米的度盘,在度盘上画出从0.1到10(包括1)的分度。被测电阻或电容接在相应的接线柱上,转动电位器R5的旋钮,直到在耳机里听不到声音。然后把标准电阻的数值乘上电位器R\(_{5}\)度盘上的读数, 就得到被测电阻的数值。如果是测电容,就需要把标准电容除以度盘上的读数。R3和R\(_{4}\)的阻值应该选得当转换开关П1在两个相邻位置上时,使量程稍有重叠。
音频振荡器中变压器铁心的截面积是1.5厘米2,线圈L\(_{1}\)和L2用0.12毫米导线绕300匝,线圈L\(_{3}\)用0.2毫米导线绕1050匝。
仪器装置在厚0.5毫米的铝底板上, 放在140×110×70毫米的箱里。在面板上排列着电位器R\(_{5}\)的度盘、Rx和C\(_{x}\)的接线端、带有量程指示的转换开关П1的旋钮以及耳机插孔。当耳机插上时就把电源开关K的接点闭合,使仪器的电源自动接通。
在装配时,应该尽量减小标准电容与底壳的寄生电容,否则在测量50微微法以下的容量时,可能会产生较大的误差。如果用金属壳的电容器作为1微法的标准电容, 它的外壳不能与仪器外壳有电的联接。(金易编译)