这仪器适用于自来水厂远距离测量沉淀池内水的浊度,并把测得的数值自动记录下来。在池水浊度超过或低于额定范围时,能自动开动控制加矾的电机,调节加矾量。仪器或加矾器发生故障时,又能自动发出警报,通知值班人员进行检修。仪器的线路简单,耗电极微,在24小时连续使用下,亦无显著升温。
如把变换器适当地改变一下,也可以用于照度、温度、湿度、溶液浓度、压力等的测量、记录和控制。
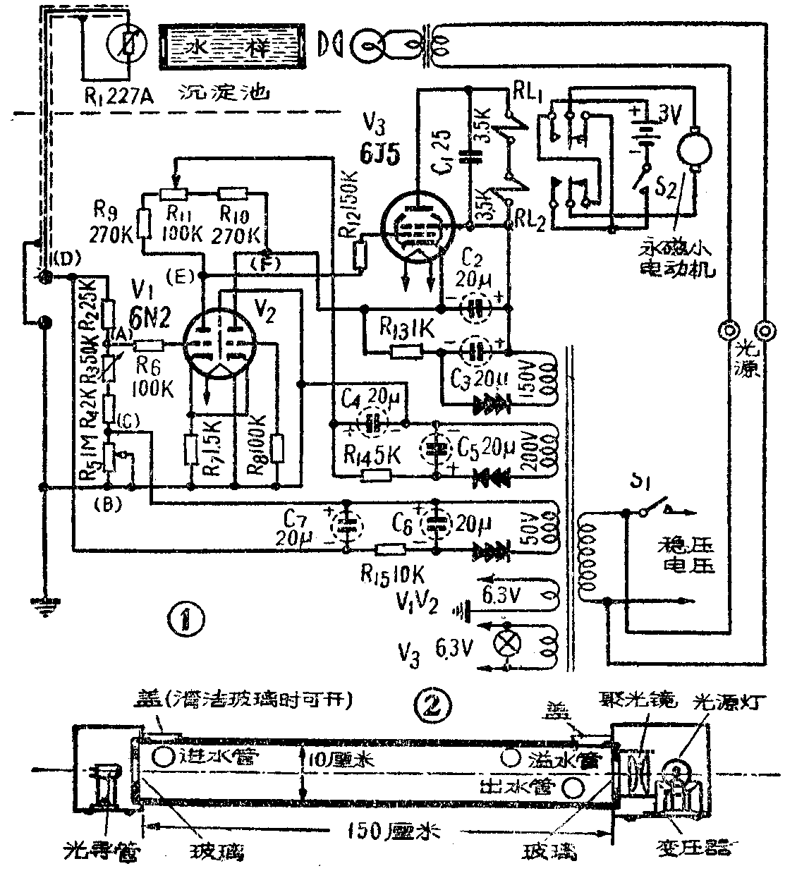
整个机器是由光电转换器、直流放大器、电子继电器、自动记录和自动控制机构等五个部分构成的。原理电路见图1。

变换器内主要元件R\(_{1}\)为227A光导管,置于水样箱(图2)的一端。水样箱的另一端置一光源,从光源发出的光,透过被测水样照在R1上。水样浊度大时,R\(_{1}\)所得的照度小,它的限值就增大,反之,水样浊度小时,它的阻值也减小。因此R1的限值,随着水样的浊度而变化。R\(_{1}\)至R5五个电阻,组成了一个电桥,A、B、C、D为这个电桥的四个顶点。在标准浊度下(标准浊度由生产单位根据情况决定),令桥路A点电位比B点电位低1.5伏。如水样的浊度变化时,R\(_{1}\)的阻值相应地增减,AB两点间电压亦随之变化。
V\(_{1}\)V2(6N2的两个三极管部分)组成了平衡式直流放大器,放大系数根据实测所得约为20。在标准浊度时,使V\(_{1}\)的屏极(E点)的电压略低于V2 屏极(F点)的电压,作为V\(_{3}\)的栅偏压。
电子继电器部分选用互导甚高的6J5(6Ж5П)电子管(V\(_{3}\))。在标准浊度下,V3的屏流为4毫安,V\(_{3}\)屏路里串联有两个继电器RL1和RL\(_{2}\)。调节它们的触点簧片,使在标准浊度时RL1 吸下而RL\(_{2}\) 却释放着。这时永磁电动机内没有电流通过, 不会转动。设电桥AB两点间的电压因水样浊度稍稍变化而产生0.1伏左右的变动,通过直流放大器放大后在EF两点间的电压就要产生2伏左右的变动,而6J5的屏流变化范围可达10毫安左右,使两继电器同时吸下或同时释放,接通了记录器内永磁电动机的电路,使之正转或逆转。
自动记录器及加矾控制器的构造见图3。在池水浊度发生变化时,永磁电动要(1)即开始转动,通过减速装置(2)拖着蜗杆(3)转动,蜗杆上的游标(4)即向左或向右移动。电桥内可变电阻R\(_{3}\) (5)的滑臂(6)装在游标上。滑臂的移动,改变了R3的阻值, 使电桥AB两点间电压恢复原来数值,永磁电动机才不再转动。纪录笔(7)也固定在游标上,游标移动时,纪录笔即在纪录纸(8)上画出线条,把当时的浊度记录下来。纪录纸上的横座标,表示浊度的大小。纪录纸被钟表机构(9)带着以均匀速度移动,其纵座标表示所记录浊度的时刻。在游标上附着一个触点(10) ,当水的浊度超过额定范围时,游标移至右方, 触点就与金属片(11)接触,接通了加矾控制线路。从图4可看出,这时继电器RL\(_{3}\)将吸动, 使加矾器内的可逆电动机正转, 矾液流量因之增加。如池水浊度低于额定范围时,游标向左移,触点与金属片(12)相接触,接通了减矾控制线路,这是继电器RL4将吸动,使加矾器内的可逆电动机逆转,矾液流量因之减少。如果加矾控制部分、交换器或电子管发生故障,游标必将移到最右或最左的位置去,游标上面的触点与金属片(13)或(14)相接触,开通了报警电路,发出警报信号。


电源应从磁铁稳压器取得稳定的电压来供给,见图5。

自耦变压器T\(_{2}\)与电容器C组成对50赫交流电谐振的回路。当输入端接入电源时, 这谐振回路内的电流即达到相当大的数值,使T2铁心的磁通达到饱和状态。因此,当电源电压在相当大的范围内升降时,T\(_{2}\)铁心内的磁通变化率却变动很小,所以在a、b两点间的电压变动也很小,而且这很小的变动,又可从T1次级c、d两端的电压升降互相抵销,使输出端的电压更为稳定。T\(_{1}\)在铁心磁通不饱和情况下工作,其次级c 、d间的电压,与电源成正比地升降,而相位却与a、b间的电压相位相反,适可以抵销a、b间电压的升降变化。为了使光源的光度稳定,稳定电压实有必要。电桥、放大器、电子继电器所需的直流电源,均用单独的硒整流器整流后供给,这比取自分压电阻更为省电。
本机性能的稳定性决定于元件的质量。电阻器全部用1瓦以上的炭膜电阻。6N2的两个三极管部分性能不能相差太大。最好先用较高的灯丝电压(约10伏)点燃24小时(不加屏压),则性能可稳定不少。灯座与接线架的绝缘要十分可靠,在装置时更要注意清洁。光导管的选择是一个关键性的问题。要求选用的光导管在长期通过电流的情况下附值不致跳动。从无光照到在1000勒克斯的照度下,阻值至少有500倍的变动,受温度的影响要小。记录控制机构不难自制,永磁电动机如能改用小功率的伺服电动机(交流的)那就更好。减速齿轮箱可用钟表改制。钟表机构可用电钟芯直接地装进去。
校验的步骤如下:在水样箱内注入标准浊度水样,把尺3的滑臂移至中点,开启电源,把电子和电压表接在电桥的AB两点间,调整R\(_{5}\),使A点电压比B点低1.5伏。插入6N2,把电子管电压表接在6N2的两个屏极上(E、F两点),调整R11,使E点电压略低于F点,然后在6J5屏路内串入一电流表,插入6J5,再调整R\(_{11}\),使6J5的屏流达4毫安,并调节RL1和RL\(_{2}\)的上下限螺丝,使RL1吸下,RL\(_{2}\)释放。试略略转动R5,继电器立刻动作,那就好了。
刻度:制取测量范围内的整数浊度的水样若干种,依次注入水样箱里,看记录笔所指的位置作好记号,然后用内插法画好中间各浊度的刻度。如果嫌它太灵敏,测量范围太窄,可把水样箱缩短或增加光源亮度试之,如嫌灵敏度不足,可把水样箱加长或减低光源亮度试之。
使用方法及注意事项:仪器应置放在干燥通风无阳光直射的地方。水样箱可置于沉淀池旁,用虹吸管在池内吸取水样注入箱内。水样箱上应加保护装置,不使受到雨打日晒。取水样点应根据各厂生产具体情况决定,记录纸应每日定时更换,水样箱要定时清洁。发生警报信号时应立刻关掉所有电源,进行检查修理。(朱蔼初)