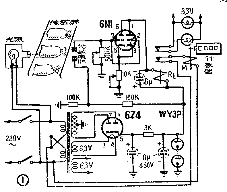
这里介绍的光电计数器,可以自动数传送带上的物件数目。装在展览会入口,可以用来自动统计参观人数。它的电路如图1所示。电子管6N1两个三极部分并联,屏流通过阴极10K电阻供给栅极负偏压。另外,栅极经光敏电阻接到由两个100K电阻组成的分压器,这样就有一部分电流经光敏电阻,500K电位器入地,在栅极上产生一个正偏压。当光敏电阻受到光线照射时,它的电阻减小。于是500K电位器上的电压升高,也就是说正偏压增加,使电子管屏流增加。适当调整阴极电阻和这个500K电位器,就能得到足量的屏流,使继电器RL吸动。继电器RL吸动后,断开电磁铁M的电源。如果光源被人体或物件遮断,光敏电阻的阻值就增大。这时,500K电位器上的电压随着减小,也就是说正偏压减小,使电子管屏流减小。继电器RL因而释放。继电器RL释放后,它的接点闭合,接通电磁铁M的电源,使电磁铁M吸动。因此,当人体或物件依次通过光源与光敏电阻之间时,电磁铁M就一吸一放地动作着,它的衔铁就推动一个棘轮机构,转动计数表,进行计数。

继电器RL并联了一个8微法电容器,防止交流成分通过继电器,避免继电器脉动。继电器RL的另一组接点控制指示灯,由指示灯的明灭可判断工作是否正常。电源部分与一般收音机的相似。为了稳定整流后的电压,加接了两个稳压管WY3P。
这个光电计数器制作比较简易。采用227—B型硫化镉光敏电阻。继电器RL可采用3千欧的直流继电器。我们是用一个旧汽车充电继电器改制的,只要拆去原线圈,改用44号漆包线绕满为止。衔铁用0.5毫米厚的硅钢片剪制,在衔铁一端铆一小铜铆钉作触点,在铁心上也铆一小铜铆钉防止衔铁吸住。改装后如图2所示。

电磁铁M可用6P6电子管的输出变电器改制。把输出端引线拆去,输入端接110伏交流电压。改制后如图3所示。计数表可采用市售的小型5位计数表。由于计数表内输入轴每转一周才走一个字,所以要将计数表拆开,把输入轴与第一位数轮连固,使输入轴每转1/10圈走一个字。输入轴上套一个十齿棘轮,与电磁铁衔铁组装在一起(参阅图3)。
光源用一个普通的40瓦电灯泡,装在一个暗匣内,光线通过放大镜聚集后射出。安装时应使光线对准光敏电阻。
安装好以后,适当调节阴极10K电阻和500K电位器,就可得到满意的效果。(杨剑秋)