编者按:空中电琴的制作者是上海徐汇区少年宫无线电小组的周守正同志,他今年才十四岁。这项作品,在上届全国无线电工程制作评比中荣获一等奖。
任何乐器,包括电子乐器在内,不是要用口来吹,就得用手指来按捺,才能演奏。可是“空中电琴”却可以不用人体的任何部分去接触它,就能随着指挥者的手势演奏出乐曲来。更有趣的是,它还能模仿猫叫、狗叫、鸡鸣、鸟啼等声音和戏曲的唱腔、道白。
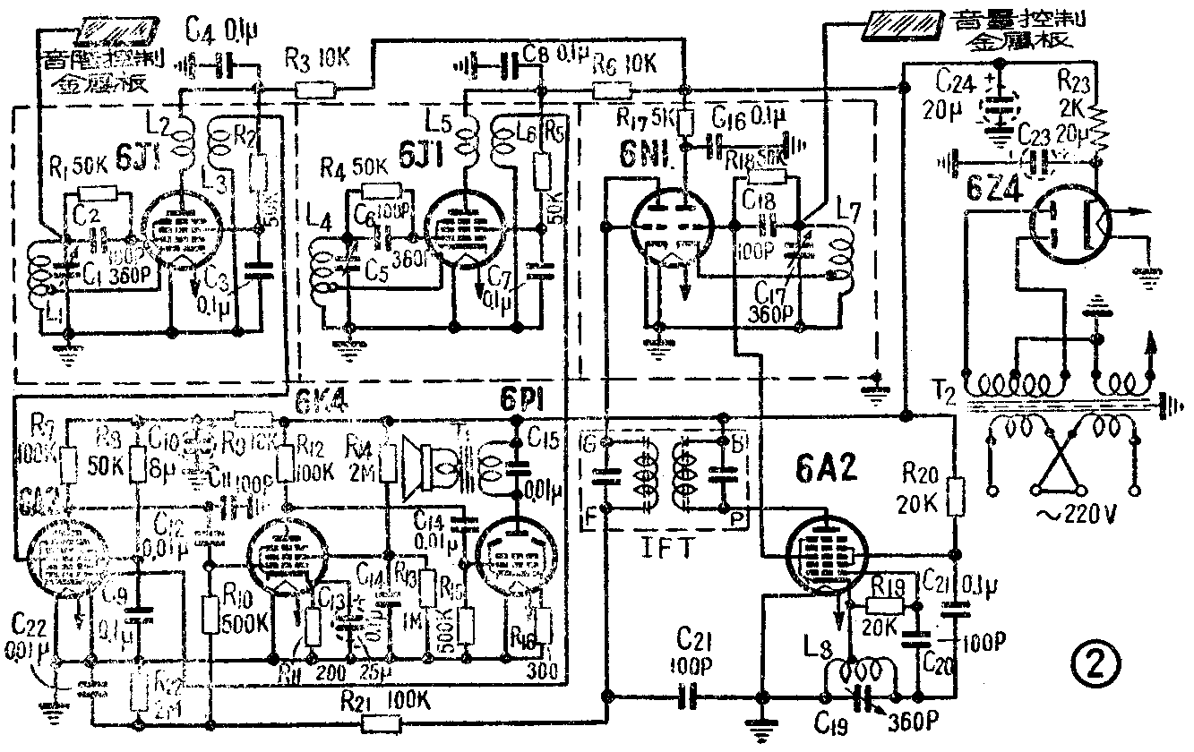
整架电琴是由音频信号发生器、音量控制器、音频放大器和电源四个部分构成的,见图1。音频信号发生器内包括一个可变频率高频振荡器,一个固定频率高频振荡器和一个混频器。两个高频振荡器都采用6J1或6K4电子管,连接成电子偶合振荡电路,见图2。在可变频率高频振荡器的振荡回路L\(_{1}\)C1上连接一声音阶控制金属板,这块金属板与人体间构成了一个可变电容,当人体接近金属板时,这个电容就增大,远离金属板时,这个电容就减小,所以变动人体与金属板之间的距离,可以变动可变频率振荡器所产生的振荡频率。调整两振荡回路,使它们之间的差频落在音频范围内。这两个振荡器的输出,分别用变压器偶合至混频器6A2管的第一栅极和第三栅极,混频后便可得到一个音频信号。对这个音频信号的频率,我们可以用手去接近或离开音阶控制金属板来控制它。


由音频信号发生器输出的音频电压,接至音频放大器电压放大级内变μ管6K4的第一栅极与阴极间,由音量控制器送来的一个直流电压,也同时加于6K4的第一栅极上,以控制它的增益。功率放大级用6P1,工作在甲1类放大情况下,和普通收音机线路基本上是一样的。这里我们省去了阴极傍路电容器,以得到适当的负反馈,使高、中、低各段音频的放大率相差不致太大。
音量控制器内包括高频振荡器、变频器和检波器三个部分。用6N1的一组三极管作为高频振荡器,从它的振荡回路 C\(_{17}\)L7上接出一块音量控制金属板,也可用前述改变金属板与人体间电容的方法来改变它的振荡频率。用6A2管构成的变频器,与普通外差式收音机相应部分的线路差不多。由6N1管一边输出的高频振荡电压加于6A2管的第三栅极,通过变频作用后,得到一个465千赫的中频信号,由中频变压器IFT偶合至6N1的另一组三极管接成的二极管检波器。检波后,得到一个直流电压,把这个电压加于音频电压放大管6K4的第一栅极,以控制这一级的增益。平常调整高频振荡器的频率,使音量控制器输出一个较高的负电压,并使6K4管的板极电流频于截止,因此扬声器里便不会发出声音来。如果我们用手去接近音量控制金属板,高频振荡频率即偏移,通过变频后所得的差频就不再是465千赫了,于是音量控制电压降低,音频放大级的增益就相应地提高,因此扬声器里就能发出声音来。人体愈接近金属板,高频振荡频率偏移愈大,控制电压也愈低,发声也就愈响。所以只要控制人体与金属板之间的距离,就可以适当地控制音量。

电琴所采用的元件,都是常用的,没有特殊的要求。其中C\(_{1}\)C6C\(_{17}\)C19四个可变电容器,最好用固质单联,以减少所占的面积。有几个线圈需要自己动手来制作。L\(_{1}\)L4L\(_{7}\)L8四个振荡线圈都是单独绕制的,而L\(_{2}\)和L3、L\(_{5}\)和L6则分别同绕在一个圆筒上,两线圈间的距离长1.5厘米(见图3)。圆筒可以用纸质的,但须在蜡中煮过。这些线圈的数据,详见下表。IFT即
线圈 L\(_{1}\)、L4 L\(_{7}\)、L8 L\(_{2}\)、L3、L\(_{5}\)、L6
直径 1.5 1.5 1.8
(厘米)
长度 2.0 2.0 1.8
(厘米)
匝数 300 20 500
铜线直径 0.27 1.5 0.18
(毫米)
绕法 乱绕、 间绕、 乱绕。
离地80匝 离地6匝
处抽头。 处抽头。
用普通收音机内的中频变压器。两块金属板用铁皮或铝片制成,它们的面积分别是12×24和12×18厘米,前者用于音阶控制,后者用于音量控制。
底板上下零件的排列见图4。各个高频振荡器都要用金属板隔离。所有各单元都应该用一点接地法来装置。而块金属板至电琴内的接线最好不超过1.5米。

校验的次序是:先插入音频放大级和整流级的电子管,检查一下音频放大器和电源部分的工作是否正常。然后接上音阶控制金属板,插入音频信号发生器的三个电子管,检查二个高频振荡器的工作是否良好。检查时可以用万能表直流电压50伏档直接来测量两上6J1管的第一栅极的电压。如果测得的负电压不太低,表示它们已产生振荡(如用电子管电压表测量,约在20伏以上)。然后旋动C\(_{1}\)C5,使扬声器发出低沉的声音来。试用手接近金属板,音调立刻变高,就是正常的。如音调反而变低,那么就应该减小C\(_{5}\)的电容。试用手在金属板上方40至35厘米处上下移动,如果发出的声音有一至二个音程的变化,那就好了。如音调变动不大,可把C1C\(_{5}\)统统减小再试。倘音调的变动太大,应把C1C\(_{5}\)的电容增大。音频信号发生器校好后,即可插入其余的两个电子管,接上音量控制金属板,着手校验音量控制部分。同样,应该先测试一下它的高频振荡器是否产生振荡,再检查一下变频器的工作是否正常。如果一切都无问题,可用电压表中的负端接中频变压器的下端,表的正端接地线,反复调整C17C\(_{19}\)和中频变压器,以得到最高的直流电压输出。拆去电压表后,扬声器即寂静无声了。试用手逐渐接近音量控制金属板,扬声路内发出来的音量随之渐渐增强,那就合乎理想了。如果嫌它太灵敏,不易连续控制音量时,可增大C17C\(_{19}\)的电容试验。相反,如果一定要把手和金属板靠得很近时才会发出声音来,这就需要把C17C\(_{19}\)的电容调小。假使再三调整C17C\(_{19}\)和中频变压器,仍不能得到较高的控制电压,很可能是中频变压器的质量有问题。倘若控制电压很高,但仍不足抑止到扬声器寂静无声,可在音频信号发生器6A2管的板极与C12间串接一个100K至1M的电阻,或降低两振荡器的板极、帘栅极电压试验。
表演时,应该把音阶控制金属板放在演奏者的左面,把音量控制金属板放在演奏者的右面。演奏者用左手控制音阶,用右手控制音量。当然要能娴熟地演奏出动听的乐曲来,那同掌握任何一种乐器一样,都要经过较长时间的练习,才能做到。(朱蔼初)