在晶体管低频功率放大器中,最常用的电路是甲类单端放大和甲乙类推挽放大。前者把工作点选择在集电极特性曲线直线部分的中点,后者则选择在直线部分的起点上。和电子管功率放大器一样,甲类晶体管放大器的传真度高,但输出功率小,效率低(就是说在消耗同样的电源功率下,转变成送往扬声器的低频信号功率比较小)。而甲乙类晶体管放大器则效率高,设计得好时失真也不大,但对晶体管的对称性要求较高。如果用两个特性并不一致的晶体管组成推挽式电路,那么往往收不到很好的效果。
如果我们把一个直流毫安表串接在晶体管收音机功率放大级的集电极回路中,我们就会发现甲类放大器(如图1)上的直流电流表,不管收音机是否收有电台,也不管收到的电台声音强弱,电流指示数基本上是不变的,一直保持着一定的数值。而甲乙类放大器(如图2)上的直流电流表,随着声音的强弱,电流指示数随时都在摆动,当收音机未收到电台或声音较小时,电流表的读数很小,说明这时收音机所消耗的功率很小,当收音机收有强力台时,扬声器上的输出很大,这时电流表的读数才大量上升。电台广播的节目,它的声音总是有轻有重,而甲类放大器不管声音多轻却消耗同样的电流,因此对比起来甲类放大器的效率就显得低了。
能不能提高甲类单端放大器的效率?这是大家最关心的一件事。尤其是晶体管收音机,它多半采用电池作电源,虽然总的说来晶体管收音机很省电,但能不能做得更省电,节省经常的费用,仍然是一件很有意义的工作。
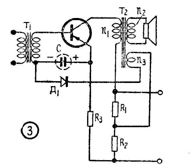
下面介绍一种省电的甲类低频功率放大电路,这种电路也叫作“滑动甲类放大电路”。它是在普通甲类单端放大器的基础上略加修改而成,它的效率几乎可以与甲乙类放大器比美,电路如图3。

在输出变压器T\(_{2}\)的次级上多绕一个次级图n3(一般为n\(_{1}\)的1/4),一端接在基极分压电阻R1R\(_{2}\)的连接点上,另一端通过一个二极管Д1接到基极回路去(Д\(_{1}\)的极性不能弄错。如果晶体管为NPN型,那么三极管的极性要倒过来)。基极电阻R1和R\(_{2}\)是决定晶休体静态工作点的,它的作用和图1中的R1及R\(_{2}\)完全相同,一般调整在集电极电流为1毫安附近,这就是没有信号输入时的电流。一旦有信号输入时,输出变压器T2的次级n\(_{3}\)上就有电压输出,信号强声音大时电压高,信号弱声音小时电压低,这个电压通过晶体管基极回路及Д1进行整流,电流的运行如图4。晶体管加有一定的偏压(由R\(_{1}\)及R2决定),它供给基极回路一个固定的偏流,如果我们将这个固定偏压及其所产生的偏流不去考虑,那么n\(_{3}\)上的交流电压只有当极性如图中所示的方向时,Д1才能通流,此时晶体管的发射结和基极电路作为整流器的负载,并联在负载两端的电容器C将交流成分旁路,而流经负载的直流电流方向是和基极固定偏流的方向相一致的。因此当信号增大时,流经发射结的基极偏流也相应地增大,使晶体管的集电极电流上升,工作点升高;一旦信号减小时,偏流降低,工作点也下降。如果用一个直流电流表串接在集电极回路中,电流表读数就会随着信号的强弱发生摆动。滑动甲类放大器的效率与甲类及甲乙类、乙类放大器的比较如图5,可以看出在输出功率较小时(例如为最大输出功率的1/4或1/2时),滑动甲类放大器的效率几乎与甲乙类接近,只有在最大功率输出时它的效率才等于甲类放大器。而收音机经常处于最大输出功率的机会究竟不是很多的,因此滑动甲类放大器还是能起到提高效率的效果。


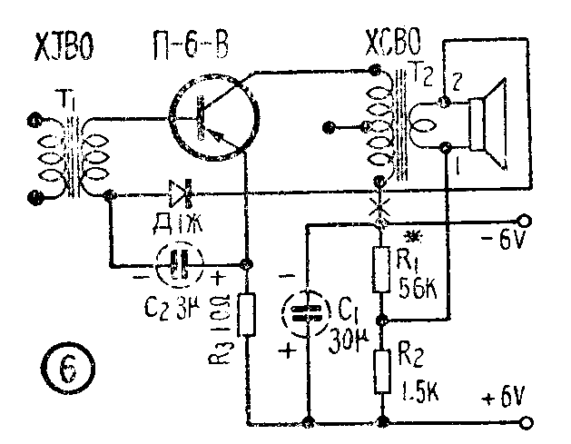
无线电爱好者如想把普通的甲类放大器改换成滑动甲类放大器,可参考图6的电路。

这是一个以П—6型晶体管装成的滑动甲类放大器,输入及输出变压器采用华北无线电器材厂出品的XJBO型和XCBO型,调整时首先固定基极电阻,可在图中画×处串接一个20毫安左右的直流电流表,调整R1的阻值,使电流表的读数为1毫安左右,此值不宜太大,否则效率就会受损失。然后收一个电台听一听。为了使回授的信号相位合适,可先将C\(_{2}\)焊开一端,如果发现在收音时附带有“丝丝”的尖叫声,可将输出变压器次级上1、2两线头对调一下,这时就不应该再有尖叫声,说明相位已经合适,然后再接上C2。C\(_{2}\)不宜太大,否则失真会增加,调整时可适当增减,使失真最小为止。
本放大器的最大输出时的电流约为12毫安左右,当信号强弱变化时,电流表的指针在1—12毫安内摆动。
根据电路的原理,滑动甲类放大器会发生两种类型的失真,其一是由于整流作用所引起,使信号的正半周发生波形失真,另一种是瞬态失真,即当信号强弱发生突变时,由于电路存在有一定的时间常数(主要由C\(_{2}\)决定),往往产生工作点升高跟不上需要。在试验时应适当兼顾,但一般说来失真还不是很大的。(范思源)

