这架能自动调节的收音机是北京市东城区少年之家无线电小组俞兴仁、戴全浮、王德礼等三个初中学生制作的。他们利用课余时间,刻苦钻研,遇到困难不怕,失败了也不灰心,经过两年多坚持不懈的努力,终于实验成功,在上届全国无线电工程制作评比中荣获特等奖。自动调节机构包括声源控制、选项程序控制、自动调谐时间控制和电源定时开关控制等几项设备。本刊上期已经介绍了其中选项程序控制设备部分的情况。现在再把其他三个部分介绍出来,供大家参考。——编者
自动调谐时间控制
在程序控制的第一程序中,由调谐马达带动双连电容器转动,进行自动调谐。每调到一个信号较强的电台时,马达电源自动断开,使度盘指针停留在这一电台上,以供听者选择,历时5~6秒钟后,马达电源又自动接通,使双连电容器继续旋动。这些动作的进行由调谐时间控制设备控制。其电路结构如图8所示。

工作原理 这一部分的控制能源来自收音部分的自动增益控制负电压。把这个负电压接至电子管V\(_{1}\)的栅极,可以控制屏极回路上的高灵敏度继电器。收音机未调谐到电台信号时,无自动增益控制电压输出,这时V1栅极负电压很低,屏流很大,继电器P\(_{3}\)接点吸合,使继电器P4电路接通。收音机调谐到电台信号时,V\(_{1}\)栅极负偏压增高,屏流降低,P3接点释放,使P\(_{4}\)断路。所以继电器P4在有信号时不工作,无信号时接点吸合。
继电器P\(_{4}\)上有A、B、C三组接点。A、B两组控制着由V2、P\(_{5}\)组成的一个电子延时继电器(即调谐时间自动控制器)。C组和继电器P5联合控制着调谐马达的旋转。
无信号时,P\(_{4}\)吸动,它的接点A02\(_{0}\)2,C02闭合。P\(_{4}\)02使V\(_{2}\)栅极接地,同时B02接通电容器C\(_{1}\)的两端,短路放掉它在调谐到电台时所充的电。由于V2栅极接地,因此V\(_{2}\)栅极加上了由R4产生的负偏压,V\(_{2}\)的屏流减小,所以继电器P5不工作,它的接点02闭合。这时C\(_{0}\)2和P5的02把马达电源接通进行调谐。
有信号时,P\(_{4}\)因V1加有负偏压而不能吸动,它的A\(_{0}\)101、C\(_{0}\)1等接点闭合。P4\(_{0}\)1使电容器C1一端接地开始充电,在C\(_{1}\)充电的时间内,P5仍不能吸动,C\(_{0}\)1和P5的02把调谐马达两极短路(参看上期第14页图2),防止马达及其随动机构的惯性使已经调谐好的电台失调,以提高调谐的准确度。电容器C\(_{1}\)充电到一定程度后,电子管V2屏流上升达6毫安,继电器P\(_{5}\)才能工作。这样,利用电容器C1的充电可使继电器的吸动迟延约5~6秒。P\(_{5}\)吸动后,它的接点01闭合,接通马达电源,继续进行自动调谐。调到电台信号消失后,继电器P4和P\(_{5}\)又恢复到无信号时的状态。
为了避免因电源电压变化而影响自动调谐和调谐时间控制的准确度,电子管V\(_{1}\)、V2的屏极高压是经充气稳压管WY4P稳压后供给的。
零件和安装 继电器P\(_{3}\)要求灵敏度高,直流电阻为8000欧、工作电流1~2毫安。继电器P4是电话上用的中间继电器,直流电阻为4000欧。P\(_{5}\)是GDZ—401型灵敏继电器,直流电阻3500欧,工作电流5~6毫安。电容器C1要用优质纸介电容器,以保证延时的稳定和可靠。装置时P\(_{3}\)可竖立安装,使接点不受重力影响,以保证高灵敏度继电器的可靠性。
调整 这部分的调整,主要是继电器P\(_{3}\)的弹簧和接点与铁心之间的间隙。调整得正确时,调谐到电台后,它的接点应能很敏捷地释放。调整前要仔细检查继电器各组接点接线是否正确,特别注意对马达电源有无短路现象,避免烧毁马达电源整流器的晶体二极管。收音部分的灵敏度、选择性对继电器P3的动作有很大关系,特别是选择性的影响很大。选择性不好,自动调谐极容易发生调偏。所以在调整自动调谐前,必须先把收音部分的选择性和灵敏度调整好。

调谐时间的控制,以在5—6秒钟以内为最恰当。调整时在V\(_{2}\)的屏极回路中串接10毫安电流表,变动R3的数值,使它的屏流在5—6秒钟内达到6毫安。然后再按图9方法调整继电器P\(_{5}\),旋动电位器使电流固定在6毫安,再调整弹簧及间隙,使接点正好吸合。
单音频声源控制


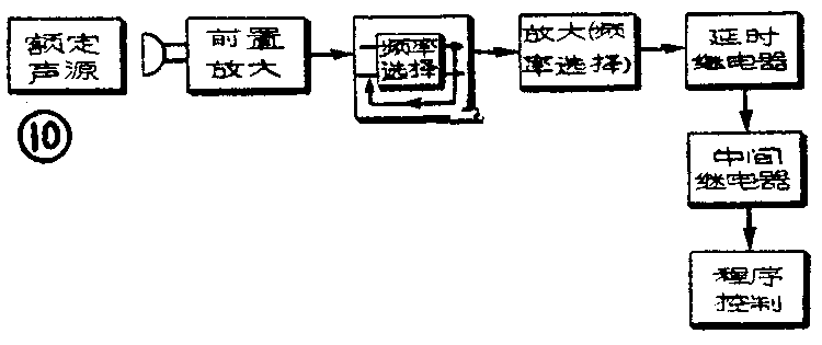
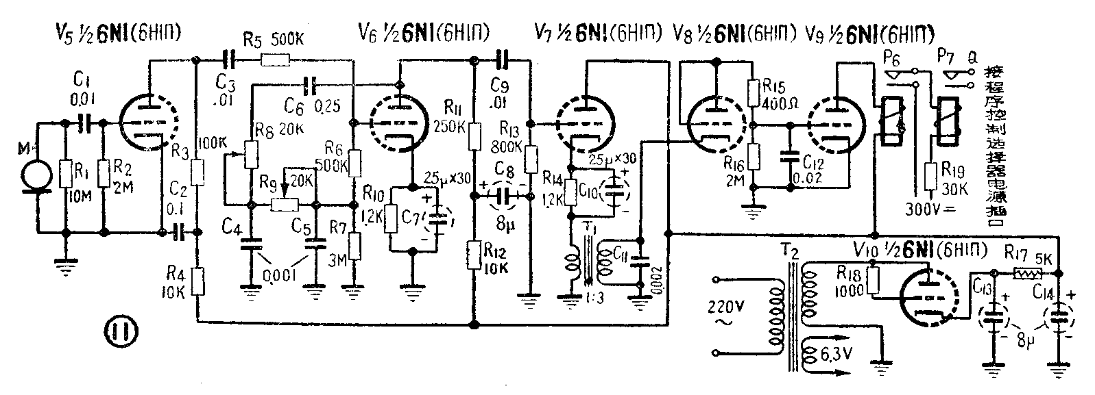
单音频声源控制是利用一定的声音频率在有限距离内进行无线控制的设备。其工作程序是将话筒接受的声音转换成音频电流进行放大,经过频率选择,再经放大来控制电子延时继电器。延时继电器再经中间继电器来操纵程序控制的步进选择器(图10)。频率选择部分要消耗一定的能量,所以采用三级放大,电路结构见图11。

工作原理 电路中前置放大和一般放大器相同,第二级是频率选择部分,采用电子管滤波放大器。在这一级里电子管V\(_{6}\)的输出、输入端加有如图12(甲)所示双节低通滤波器的负反馈电路。滤波器的滤波特性见图12(乙)。变动C4、R\(_{8}\)和C5、R\(_{9}\)可以得到不同的截止频率。因为是负反馈,所以在这里电子管V6形成一个高通滤波器,特性与图12(乙)所示恰好相反,只有高频电流可以得到足够的放大。本机选用截止频率约在8000赫上下,为的是尽可能降低收音机本身发音对声控部分的干扰。
第三放大级采用阴极输出,可使前级滤波放大器的选择性提高。阴极输出变压器的次级与C\(_{11}\)并联构成谐振电路,对高通滤波后的音频电流进行一次调谐选择,调谐后得到约为8000赫的固定音频电流,通过电子管V8进行整流。整流后的电流持续时间与哨声长短有关。一般情况,这个电流持续时间是短促的,直接用来控制中间继电器以操纵步进选择器,往往不能完成动作。所以在第三级以后加装一个延时继电器(延时时间约为半秒钟),以便在哨声信号很短促的情况下,使步进选择器仍能完成动作。在这里,继电器P\(_{6}\)的接点在工作时是分开的。当吹哨时,V8输出已整流的电流,并对C\(_{12}\)充电。这个电流在R16上产生一个负偏压,使V\(_{9}\)屏流截止,P6不工作,于是它的接点闭合,接通中间继电器P\(_{7}\)。哨声停止后,V8没有输出,但由于C\(_{12}\)的放电,P6不致立即恢复工作(延迟吸动)。
零件 话筒是晶体送话器,曾用其他型式话筒试验,效果都不及晶体式的好。负反馈线路上低通滤波器的R\(_{8}\)、R9可用电位器,以便于调整。电容器C\(_{4}\)、C5最好采用质量较好的油浸密封或云母电容器,可提高滤波器选择性。阴极输出变压器T\(_{1}\)可以3∶1低频变压器反转使用,继电器P6为灵敏继电器(GDZ—401型),直流电阻3500欧。中间继电器P\(_{7}\)为直流电阻4000欧、工作电流6毫安的电话继电器。

安装和调整 这一部分放大共有三级,安装时零件布局如不合理,很容易产生反馈,使继电器吸合不能释放。特别是第一级放大应加屏蔽隔离。如发现继电器长时间吸合不能释放,可如图13所示,将R\(_{2}\)改为两电阻串联,取其分压,或转R2改为电位器控制输入,以降低第一级放大的灵敏度。
调整电子管滤波器时可用电子管电压表并联在V\(_{6}\)的屏极负载上,根据哨声调整R8和R\(_{9}\),通过电压表确定其阻值,调到使哨声增益既不是显著降低,也不是大幅度上升的地方,即为截止频率的一点。然后再把电子管电压表并联接在阴极输出变压器的次级两端,变动电容器C11的数值,确定一个对哨声额定频率增益最大的数值予以固定。
延时继电器的延迟时间如不足,可适当增加R\(_{16}\)或C12的数值。
电源定时开关控制
这架收音机的电源可以按照预定时间自动接通开机;经过30分钟以后,又自动断开关闭。定时开机是由小时钟的闹铃设备和一个交流继电器管理。闹钟铃锤部分经过改制成为点开关(见图14),每响一下,开关可以闭合一次。自动关机则受一只双三极电子管(V\(_{11}\))组成的延时继电器控制。这部分的电路结构见图15。


工作原理 闹钟响铃时,点开关闭合,交流电源通过P\(_{9}\)静接点及点开关完成通路,使交流继电器P6动作。继电器P\(_{8}\)上有两组接点,一组控制全机电源,另一组使继电器自锁,所以从第一声铃响开始,电源即可接通。铃停以后,点开关仍旧是断路的,不影响自动关机。
定时关机采用串联的两个长时间延时继电器。电源接通后,电子管V\(_{11}\)第(1)部分屏流流通,继电器P10线圈上产生电压降,电容器C\(_{2}\)通过电阻R3开始充电。充电电流通过R\(_{8}\)产生电压降,使栅极对阴极处于负电位,限制屏流增加。随后,C1充电电流减小,栅负电压也降低,又使屏流相应增加,促使C\(_{1}\)进一步充电。由于这样循环作用,C1充电要经过一定时间才能充满。因此,屏流是渐渐增加的,到达一定数值时,继电器P\(_{1}\)0动作,使V11第(2)部分阴极接通,也按照上述同样原理工作。再经一段时间后,继电器P\(_{9}\)动作,它的接点断开,而使电源关闭。每一继电器最长延时为15分钟,旋动电位器R2、R\(_{3}\)可以调节整个延时系统的工作时间,在3分钟至30分钟范围内任意选择。
S\(_{1}\)、S2、S\(_{3}\)是一个单刀三掷开关,接在S1时为非定时开机,S\(_{2}\)为定时开机和定时关机,S3为定时开机和非定时关机。
零件安装和调整 继电器P\(_{8}\)为交流继电器,电阻R1为限流电阻,大小视继电器需要决定。继电器P\(_{9}\)、P10是GDZ—401型灵敏继电器,直流电阻5000欧。电容器C\(_{1}\)、C2为优质纸介电容器,可用日光灯上的电容器代替。R\(_{2}\)、R3限值很高,可用几个电阻和电位器串联起来使用。
在闹钟内安装点开关,应当注意绝缘问题,否则钟身带电。延时继电器的调整,是在电子管的每个屏回路中串接电流表。电源闭合接通后,动作部分的表针将不断偏转,到15分钟前后停止不再上升。这时的电流大小便作为继电器的动作电流。然后再接图9相同的方法调整继电器P\(_{9}\)、P10的弹簧和接点距离,使它能够按照这个电流大小而动作。(董春升)