问:为什么在电视机接收时,有时在图像中央出现一个亮点,是否电视接收机的故障?
答:这不是电视接收机的故障,而是因为电视台使用的某一架摄像机里的摄像管效能衰退所产生的。如果电视台使用的摄像管效能良好,电视接收机上所接收到的图像就不会出现这个亮点。(毛产平答)
问:有的收音机,长时期使用以后中频会发生自激,换6K4电子管后即正常何故?
答:6K4经长期使用以后,由电子管个别参数发生变化(如互导增加),电路若又接近自激就会发生振荡。一般情况下可在阴板加接300欧电阻,并联0.1微法电容即可避免。(丁启鸿答)
问:收音机的灵敏度有的用“微伏”表示,有的则用“毫伏/米”表示,二者有何不同?
答:采用外接线的收音机,灵敏度用“微伏”表示,它的意思是说当收音机输出达到规定的功率时(国冢标准为50毫瓦),在收音机输入端所需的信号电压是多少微伏。采用磁性天线的收音机,灵敏度用“毫伏/米”表示,它的意思是说当收音机达到上述同样输出功率时,在磁性天线端所需的电场强度是多少毫伏/米。两者的区别是:在测量外接天线收音机的灵敏度时,没有包括进天线的效率在内,而不同天线在同一场强下送到收音机去的电压是不一样的,在测量时并没有考虑这一因素。测量带磁性天线收音机的灵敏度时,则包括了磁性天线的效率在内。(丁启鸿 俞锡良答)
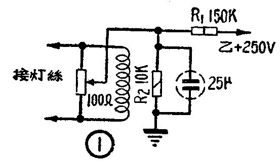
问:1963年第2期“收音机元件的排列和布线”一文中提到为减少灯丝对阴极漏电的交流声,加上10~20伏的正电压不知具体怎么加法?
答:比较正规的方法是在乙电上降压取得,如图1:灯丝两端都不接地,并最好用一只50~100欧的电位器来调整,可以调到交流声输出最低的一点。在普通收音机中,为求装置简单,可以用末级的偏压来代替,因为6PI或6P6P(6V6)的偏压一般在10伏左右,也就够用了。电位器也可以不用,接到灯丝圈中心头,如图2,或更简单接在灯丝线圈的任一边,如图2中虚线,虽然不能调到最低的一点,但也有显著的效果。


问:当甲收音机正在收听电台,旁边有另一台乙收音机调到某一频率时,能使甲机叫啸,或声音模糊,甚至无声,何故?
答:因超外差收音机的本地振荡器频率较高,能往外发射,若乙机的本地振荡器的频率比甲机本地振荡器频率低一个中频或高一个中频,且两机相距较近,甲机就同时收进电台和乙机的本地振荡器发射频率,检波后听到差拍的叫啸声。如刚好是零差拍,就没为啸叫,此时电台信号如比乙机信号强,还能听到电台声音。若乙机信号远大于电台信号,甲机就无声。因为此时甲机在乙机强度很大的等幅波作用下,通过自动音量控制电路使检波以前各级加上很负的偏压,对电台信号灵敏度很低,而且检波负载上也有很负电压,电台信号不能正常检波,所以就听不见电台声音了。这种情形在短波上最明显。在再生式收音机的场合,再生的振荡频率及发射很强,当两机相距较近,而且同时调谐同一电台时,也会发生上述类似的情况。(以上俞锡良答)
问:新出品的美通554-B线圈,只有六个接头,用电池式变须管IA2时应怎样接法?
答:可按附图接线。(冯报本答)
