怎样提高矿石收音机的选择性,对于许多爱好者来说,是个难以解决的问题。特别是设有强力电台的地方,在那里只要这家强力电台开始播音,那么不管怎样调节分线器或可变电容器,在收音机全部调节范围内只能听到它的节目,其他电台都被压了下去。许多书上提到有提高矿石机选择性的方法,例如采用双回路或三回路调谐、减少交速度等。但是实验的结果,往往不能十分满意,不是大电台分隔不清,就是必须牺性灵敏度,甚至会把所有电台都“选择”掉,反而什么也听不到了。最近我们针对这个问题做过实验,得到了一个效果较好的线路。它需要添加的零件不多,方法也较简单。在南京市内收听,可以把江苏省台的声音全部隔除,非常清晰地收听南京市台和安徽省台的节目。
线路的改进

各地存在的严重干扰现象,大都是一个强力电台干扰其他信号较弱的电台。只要能把这个强力电台的信号削弱,其他电台就不难全部清楚地分隔开来。从这样的设想出发,我们采用了陷波器。图1就是这架实验有效的矿石机线路。线圈L\(_{1}\)是用0.78毫米直径(22号)漆包线在直径65毫米的硬纸筒上单层平绕120圈,每隔10圈拍出一头。C1是普通的360微微法可变电容器,连接在L\(_{1}\)上距地端40圈的抽头上。D是晶体二极管检波器,它接在L1上抽头的位置要由实验来决定,大致是在距地端20或30圈处,以调整到电流表M的指示数最大为标准。C\(_{2}\)是0.01微法的纸质电容器。M为0—5毫安电流表,可临时以万用电表接用。调节收音机时,我们先不考虑陷波器部分,把开关S2断开,拨动天线选择器S\(_{1}\),把所收到的强力电台声音调到最响的一个抽头上,再调节可变电容器C1,使声音更响些。也可从电流表M读数升高的情况看出调谐最佳的位置。以后,如前面所说,变更D在L\(_{1}\)上的抽头,以获得最好的收听效果。为了增大调谐电路的Q值,提高选择性,D在L1上的抽头调到电流表M指示数最大以后,最好再向地端移下一档(10圈),这样可以减轻调谐电路的负荷,使调谐更加尖锐。这样调谐完毕以后,闭合开关S\(_{2}\),接入陷波器,调谐陷波器线圈L2的磁性瓷心,使强力电台的声音降至最小或完全听不到。这时,再重调天线选择器S\(_{1}\)和可变电容器C1,就可任意接收其他信号较弱的电台播音了。这个陷波器电路是串联谐振式,把它调节到与干扰最严重的强力电台谐振,就等于将强力电台的信号短路了,因此强力电台不会再干抗其他电台。降波器是利用一只现成的旧熊猫牌收音机上的调感式中频变压器改制的。当然其他调感式的中频变压器也可用。一般中频变压器的原来谐振频率是465千赫,现在要求它能与江苏省台700千赫的频率谐振,必须减小电容器的容量,以提高谐振频率。把原来与初、次级线圈并联的两只180微微法云母电容器串联起来(图1中C\(_{3}\)、C4),即可把电容量减去一半,成为90微微法,这样就把谐振频率提高了。如果所用中频变压器的并联电容器是100或150微微法的,也应照样改成串联,使电容量减为50或75微微法。
工作原理
这里再谈谈这种线路的工作原理。当陷波器和欲隔除的强力电台信号谐振时,对这个电台来说,陷波器所呈阻抗最小,而且是纯电阻性。这时就相当于在图1的天、地线之间直接用一只很小的电阻连接起来,因此能把这一电台的信号大部分旁路掉了。但是对于其他频率来说,这个陷波器却不是一个纯电阻,而是一只电抗——电感或电容。如果所收电台的频率比陷波器谐振频率高,陷波器呈电感性,相当于一个电感并接在天、地线之间;而当所收电台的频率比陷波器谐振频率低时,陷波器呈电容性,相当于一只电容器。以在南京的具体情况为例,陷波器是调谐到与江苏省台700千赫频率谐振的。现在要想收听南京市台870千赫的节目,频率比陷波器谐振频率高,因此陷波器对南京台的信号来说,就相当于一个电感。这样图1可以改绘成为图2的等效电路,等于有一电感L'\(_{2}\)与原来的调谐线圈L1并联。陷波器等效电感的大小,要看它偏离谐振频率的程度来决定,离谐振频率越近时电感越小。南京台的频率比江苏台高出870-700=170千赫,离开江苏台不算太远,因此陷波器的等效电感值就很小,就是说,相当于有一只很小的电感接连在天线与地线之间,与L\(_{1}\)相并联。并联后的等效电感比单独使用L1时小得多,因此必须增加C\(_{1}\)的电容量,才能与南京台的频率谐振。

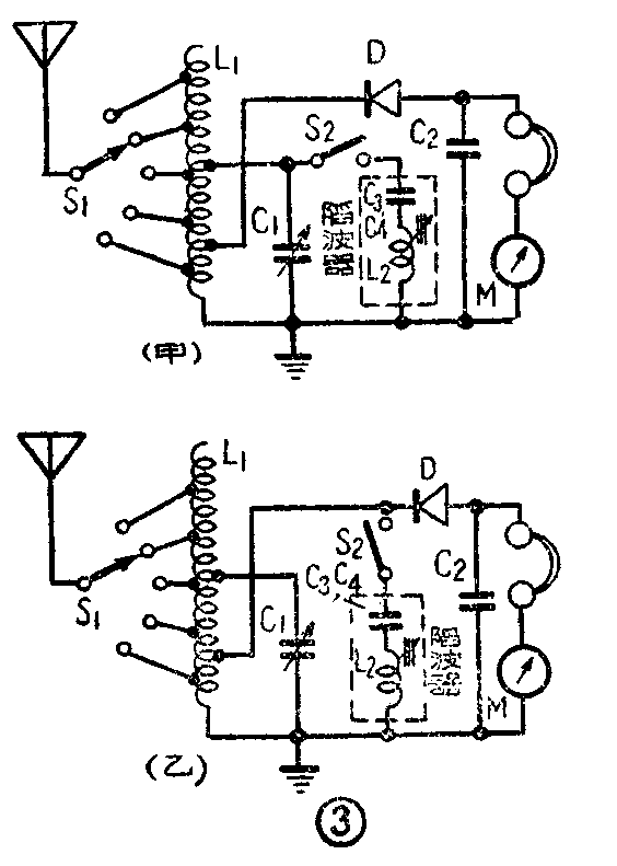
为了减少加接陷波器以后形成的并联电感影响,可以不把陷波器的上端直接与天线相接,而改接到L\(_{1}\)上较低的抽头。例如可以把它改与C1相并联或与检波器的抽头并联,成为图3甲或图3乙的情况。不过陷波器接在L\(_{1}\)上抽头的位置也不宜降得过低,这样会使陷波器的作用减低,削弱了隔除强大电台干扰的能力。
