在1962年全国无线电工程制作锦标赛作品展览会上,一部构造特殊的收音机吸引着许多观众。这是北京市东城区少年之家无线电小组三位初中同学,为了实验,经过几十次试验改进制成的“自动调节收音机”。
这架收音机外形与一般收音机相似,但是面板上找不到一颗旋钮,而且机上多了一只小时钟。它可以按照预定时间自动开机,并按时自动关闭。整个收音过程依照一定程序自动进行,其中电台的选择、音质和音量的调节选定,都听从一只哨子声音的控制,或以有线按钮开关从远处进行遥控。
收音机的电源开关按时自动闭合后,红色指示灯同时开启。吹第一声哨子,收音机的指针便开始在频率盘上缓缓地移动,每调谐到一个电台,指针就停留5—6秒钟,以便听者选择。听者选定电台后,吹第二声哨子,音质控制便由高音强渐渐升至低音强。听者选择好满意的音质时,吹第三声哨子,音量便由小逐渐变大。再吹一声哨子,绿色指示灯燃亮,这时就可以正常地收听了。收听完毕吹第五声哨子,收音机停止放声,同时音质、音量恢复到原位。
本机结构分为收音、控制、电源供给等三大部分,它们之间的工作关系如方框图所示(见图1)。其中单音频声源控制或有线遥控部分是收听者通过它来操纵选项程序控制设备,使收音机按固定的程序进行上述各项自动调节工作的。

收音部分是一架普通超外差式收音机,它由自动调谐设备控制着进行自动调谐。每调到一个电台,自动调谐设备又受调谐时间控制设备的控制,使收音机在调谐到电台的位置上可以停留一段时间,以便于听者进行选择。以后从选择好电台起,音质调节,音量调节,正常收听,以至到收听完毕复位等程序,都由声控或线控部分通地程序控制部分进行控制。
全机电源的自动打开或关闭则受定时自动开关设备控制着。
从方框图上可以看出,本机自动调节的主要机构,是声源控制、选项程序控制、调谐时间控制和电源定时开关等几项设备,其中以程序控制设备的构造和工作比较复杂。这里就先重点介绍这部分的工作原理和制作上的一些特点。
程序工作及原理
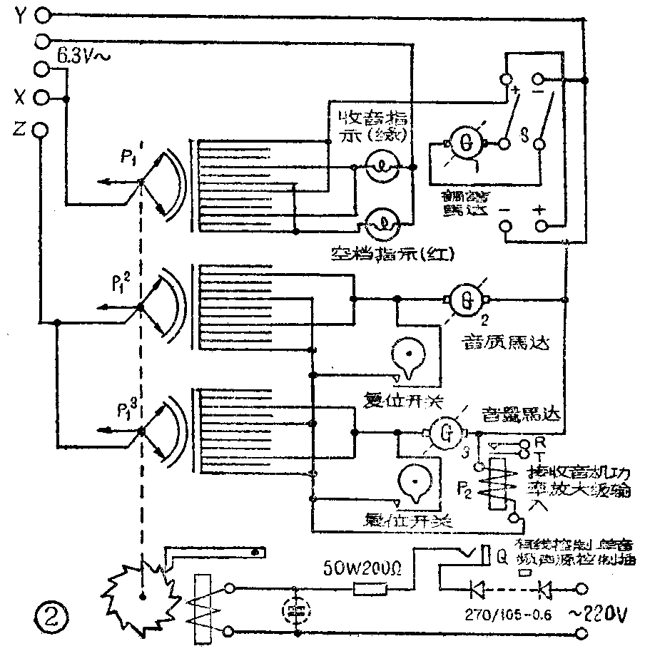
程序控制的整个过程分作自动调谐、音质调节、音量调节、正常收听、音质音量复位、空档五项程序,用一个步进式选择器(自动电语交换机的预选器)来操纵。自动调谐设备、音质调节设备、音量调节设备各有一部直流马达。自动调谐设备的马达带动收音机部分的双速调谐电容器。音质调节设备和音量调节设备的马达各带动一个电位器。这三部直流马达又分别被选择器的P\(_{1}\)\(^{1}\)P12P\(_{1}\)\(^{3}\)上的三组接点控制着。程序控制的线路见图2。
第一程序是自动调谐。第一组(P\(_{1}\)\(^{1}\))接点接通自动控制设备的马达,带动双连电容器转动。调谐到电台后,自动调谐设备受调谐时间控制设备的控制,立即断掉马达的电源。历时五至六秒钟,调谐时间控制设备又接通这个马达的电源,使自动调谐继续进行。
第二程序是音质调节。第二组(P\(_{1}\)\(^{2}\))接点接通音质调节设备的马达,带动电位器转动,控制音质由高音强渐至低音强。
第三程序是音量调节。第三组(P\(_{1}\)\(^{3}\))接点接通音量控制设备的马达,使它带动电位器转动,控制声音由小渐大。因为在调节音质时对音量影响很大,所以把这个程序放在音质调节的后面。
第四程序是正常收听。选择器断掉所有马达的电源,马达停止转动。同时选择器上第一组的空接点接通绿色指示灯,表示正常收听。
第五程序是音质、音量的自动复位。步进选择器第二、三组接点接通调节音质音量的马达,带动电位器旋转,控制音质恢复到高音最强,音量恢复到最弱。在接通复位马达的同时,使继电器P\(_{2}\)工作,断掉输入到功率放大器的信号,以免复位时音量过大。
第六程序是空档。这一程序由选择器第一组上的空接点接通一个红色指示灯,表示全部收听程序控制结束。
步进选择器的P\(_{1}\)\(^{1}\)组计有12个接点,第1、7接点控制自动调谐设备的马达;第4、10接点控制绿色指示灯;第6、12接点控制红色指示灯。
选择器通过一个双刀双掷开关S控制自动调节设备的马达转动。利用直流马达调换电源极性后可以反向转动的原理,通过双刀双掷开关转换电源极性,使马达能反、正向转动,以带动双连电容在0°—180°间往复进行调谐。P\(_{1}\)\(^{2}\)组有11个接点,第2、8接点控制音质调节设备的马达。第5、11接点是供自动复位用的电源接点。自动复位开关在高音最强时,即音质未调节前,是断路的。音质调节后复位开关便接成通路。只要第5、11二接点接通电源,马达便可转动。转动到原位时,又触动自动复位开关,断掉马达电源,达到复位目的。P13组也有11个接点,第3、9接点控制音量调节设备的马达,第5、11接点接通自动复位的电源,原理同上。不同的是,复位开关还控制一个继电器,继电器和马达并联在电路里,在音质、音量复位的过程中,继电器的接点便断掉输入到功率放大器的信号。
选择器的工作电流,是利用220伏交流经硒堆整流滤波后供给。为了防止电解电容器被高压击穿,把线控和声控的插口Q(见图2)串联在硒堆与滤波器之间,以保护电解电容器。

电源接点x、y、z通自动调谐部分。继电器P\(_{2}\)上的R、T两接点控制收音部分功率放大的信号输入。
零件的选择和自制
控制部分的主要零件是步进式选择器。本机采用的是北京有线电厂的产品。它的电磁铁工作电压为60伏,功率60瓦。本机供给选择器的直流电压达二百余伏,因此电磁铁的线圈需用30号漆包线重新绕制,改绕后线圈直流电阻为650欧。选择器需用电流较大(达300毫安),滤波电容的容量须在200微法以上。这里用了几个30微法300伏的电解电容器并联起来代替。本机所用的硒堆规格为270/105—0.6(6O×60毫米15片)半波整流器(华北天线电器材厂产品)。
自动调谐要求双连电容器能在0°—180°之间往复进行调谐,这样就必须使用直流马达以便利用对调电源的正负极使马达能正转也能反转。本机用的直流马达是从玩具小汽车中拆下来的,使用起来还很满意。调换马达电源极性的开关是用起倒开关(拨杆开关)改制成的。一般起倒开关中的弹簧较硬,扳动费劲,用做倒向开关,推动困难。须将开关的铆钉冲开,取下硬簧,换用较软的弹簧。
音质、音量的复位开关需要自制。形状和制作方法见图3。因为这些开关的接点通过的电流较大,要求用焊银接点。

继电器P\(_{2}\)也是自制的。线圈直流电阻为300欧(制作方法参见本刊1961年第1期实验室栏)
安装
1.调谐部分 调谐的双连电容器转动速度不能太快或太慢。太快容易遗漏电台,过慢收音调谐时间又太长。双连电容器由0°转到180°的时间,以48秒钟上下为最合适,即双连电容从520千赫调谐到1600千赫一次需时48秒。直流马达转数很高(每分钟约1680余转),不能直接应用,须有变速装置,才能带动双连电容器旋转。本机调谐部分马达的变速,是通过一套时钟齿轮进行的。齿轮组共有大小不同的齿轮6个。最后齿轮的转数是5转/分。齿轮组和马达组合时,轴心调整到同心比较困难,所以采用拨动传动方法(见图4)。马达轴端焊有一个90°角的硬铁丝,将它插到接在齿轮组上的U形铜片中。马达转动时拨动U形片转动,可以调和两轴之间的不能同心。

马达的倒向开关是固定在拉线盘的旁边(见图5),在拉线盘上有两个突出的螺丝棍。当双连电容器旋转到180°时,螺丝棍A推动起倒开关的拨柄,变换电源极性,使马达倒转。当双连电容器回转到0°时,螺丝棍B向上推动起倒开关,使马达反转,这样就可以往复地进行调谐。

拉线盘上两个螺丝棍和双连电容器的轴心连线之间有一个角度,其夹角大小视起倒开关拨柄的动作范围决定,要求双连电容器转动到0°及180°时,螺丝棍可以刚好扳动过起倒开关。
2.音质、音量调节部分 调节音质、音量的电位器也是用马达经变速后带动的。为了安装方便,须把电位器来回转动改为顺时针单方向转动。改制方法是将后盖打开,去掉阻止旋柄转动的突出物,并将固定马蹄形炭膜片的铆钉锉平(本机所用电位器是华北厂产品,2瓦密封式的)。
为了便于收听者选择音质、音量,电位器转动速度也不能太快或太慢。本机电位器的转数约每分钟6转,是通过有4个齿轮的变速齿轮组降速的。
复位开关装在电位器拉线盘的旁边(见图6)。在拉线盘上装有金属片N,露出盘外部分的长短可以调整,以便于调整复位开关的距离。

三个直流马达的外壳都是铝制的,有屏蔽作用,但为了尽可能降低马达的电火花干扰,最好再用废电容器上拆下的铝纸,把马达严密封闭起来。
3.马达电源直流马达电源是用5V交流电经四只ДГ—Ц21二极管整流得到的。四只二极管接成桥式整流(见图7)。为了防止因电流过大烧毁二极管,在电路中串接一个数欧姆的电阻。(董春升)
