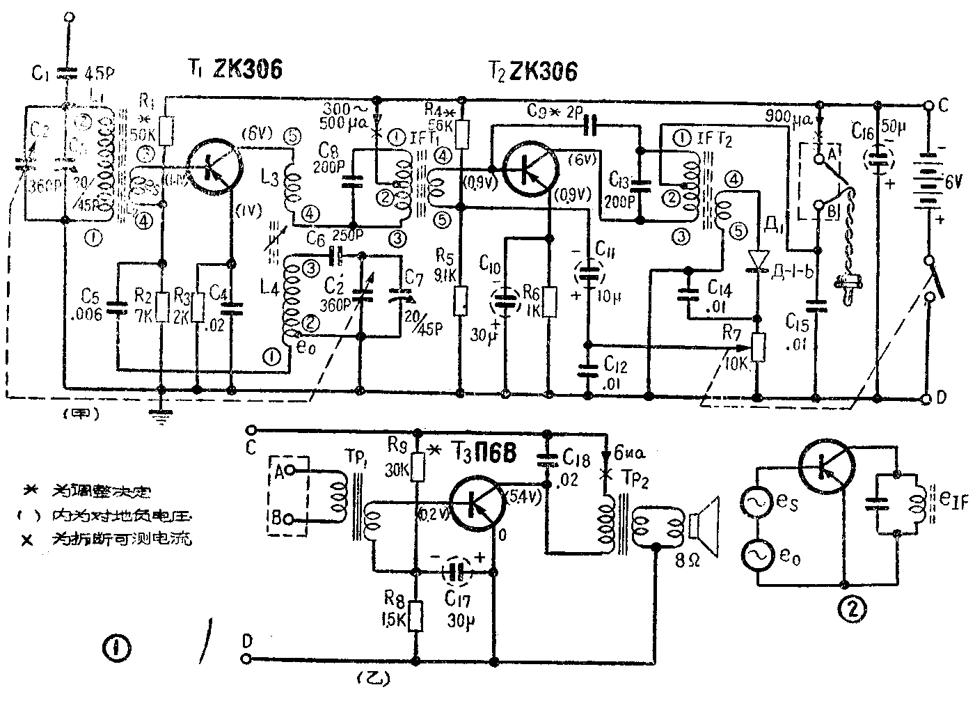
本文介绍的晶体管超外差式收音机,结构简单,装置比较容易。它的电路如图1所示。晶体管T\(_{1}\)用作变频。T2接成来复式电路,兼作中频放大和低频放大之用。晶体二极管Д\(_{1}\)用作检波。经T2放大后的音频信号,可直接用耳机收听(这时本机就是一个两管机),也可以再按图1乙电路加一级低频放大,用扬声器放音(这时是一个三管机)。

从天线上传下来的电台信号,经过C\(_{1}\)送入C2、C\(_{3}\)、L1组成的调谐回路。回路造出的欲收信号通过L\(_{2}\)与L1的交连传到变频管T\(_{1}\)的基极。晶体管输入阻抗很低,因此L1与L\(_{2}\)是构成降压变压器。L2的圈数一般为L\(_{1}\)的十分之一至十五分之一。T1接成典型的基极回授自激式振荡电路,L\(_{3}\)、L4是本机振荡线圈,L\(_{3}\)是回授圈,L4是调谐圈,它的下面一小部分作为交连到基极的线圈。由于共发射极电路中集电极电压与基极电压相位相差180°,因此线圈的接头必须按电路图中所示的方向连结,否则就不会产生振荡。R\(_{1}\)、R2为基极偏置电阻,R\(_{1}\)的数值由调整决定。R3、C\(_{4}\)为发射极电阻和旁路电容。C5为基极交连电容。IFT\(_{1}\)为第一中频变压器。

变频的工作原理如图2所示。外来信号电压e\(_{s}\)和本地振荡电压e0同时加到T\(_{1}\)的基极,利用T1输入特性的非线性特点而进行混频。混频所得的中频信号经过IFT\(_{1}\)谐振而输入到下一级。可以看出,T1的工作频率(输入信号和本机振荡)较高,因此要求使用高频特性较好的晶体管。本机采用扩散型高频晶体管ZK306(或П401)。它的工作点选择在集电极电流为300~500微安处。
外来信号经T\(_{1}\)变频以后所得的中频信号(465千赫),通过IFT1交连到中频放大管T2的基极。R\(_{4}\)、R5是T2\(_{的}\)基极偏置电阻,C11、C\(_{12}\)串联起来是基极偏压旁路电容。R6C\(_{1}\)0是发射极电阻和旁路电容。C9为中和电容,作用是中和中放管T\(_{2}\)内部的极间电容。因为晶体管的内部电容(这里指的是集电极和基极之间的电容)较大,一般为几个微微法(电子管的内部电容一般只有百分之几微微法),即使工作在中频范围内,它对电路的影响已不能忽略。中和电容的作用就是利用它的反馈电压和内部电容反馈电压相位相差180°的原理,来抵消内部电容的不良影响。变频管不需要中和,因为变频管基极电路对中频来说阻抗很小,因此不容易受内部电容影响发生振荡。

如图3所示,经过T\(_{2}\)放大以后的中频信号,依靠第二中频变压器IFT2的交连,送到二极管Д\(_{1}\)进行检波。R7是检波器的负载,兼作音量控制。C\(_{14}\)用来滤除检波残余中频。检波所得的音频电压,通过电位器R7、电容器C\(_{11}\)重新送回到T2的基极。这时T\(_{2}\)又担任低频放大,经它放大后的低频不受IFT2的影响直接送入耳机(两管机),或经输入变压器Tp\(_{1}\)(参看图1乙)送入功率放大管T3中去(三管机)。C\(_{15}\)是高频旁路电容,主要使T2作中放时,中频信号不致进入耳机或TP\(_{1}\)中去,而C10在这里所用容量较大,是为了照顾T\(_{2}\)需要工作在低频的缘故。T2也采用扩散型高频管ZK306(或П401)。
末级功率放大器采用П6B型合金小功率管,电路无特殊之处,这里不多赘述。

全机的元件数值已列于图1中,其中天线线圈L\(_{1}\),L2及振荡线圈L\(_{3}\)、L4需自制,绕制方法可按图4进行。本机试制时C\(_{2}\)、C'2系采用复旦236型大型双连可变电容器。如用其他型号的双连,这两组线圈也要适当改变。例如用复旦小型晶体管收音机用双连,则振荡线圈L\(_{3}\)、L4可采用华北无线电器材厂产品xzho—01型, L\(_{1}\)改为70圈,L2改为6~7圈,并把垫衬电容C\(_{6}\)取消。因为这种双连电容量一大一小,设计时已考虑到外差跟踪,只要调整合适,在整个广播波段内都能很好地跟踪。其中大的一连接天线回路,小的一连接振荡回路。


中频变压器本机采用华北厂的xzp型。这套中频变压器共有三只,即xzp—10—2、xzp—20—2、xzp—30—2,本机只用第一和第三两只,第二只不用,用时不可弄错。如无这样的中频变压器,也可用电子管机中的大型中频变压器改制,以华北厂zpo3—1型中频变压器为例,可把原线圈取下,将线拆去,另用42号漆包线按表1圈数绕制。绕时先绕①—②,再绕④—⑤,最后绕②—③。认清头尾,把①—②和②—③串联起来。为节省地位,缩小体积,原中频变压器外壳可以不用,把线圈直接粘固在收音机的层压底板上,中间用铁皮隔开并通地(见图5)。实验证明,这样处理,性能很好,并无干扰啸叫声。Tp\(_{1}\)及Tp2采用华北厂XJBO—10型及XCBO—10型(中心头不用),也可自制。圈数比Tp\(_{1}\)为3:1,Tp2为72:1。自行绕制可根据表2数据进行。扬声器是采用8欧音圈阻抗的。如阻抗不是8欧,应适当修改输出变压器TP\(_{2}\)次级的圈数。耳机可用耳塞机,电池为6伏。电解电容器如体积不受限制,可用大型耐压50伏的;如想体积做得小巧,可用特制小型的。须注意电解电容器极性,不要搞错。其他小容量电容器可用纸介、瓷介或钛酸钡电容器。C9电容量很小,可用两段粗漆包绝缘线拧起代用。xzp型中频变压器内部不带电容,需要外加C\(_{8}\)和C13。

本机在试装时所用底板为层压胶木板,长160毫米,宽12O毫米,具体排列如图5。要求接线焊接可靠,所有线圈、变压器、隔离罩等妥善接地。R\(_{1}\)、R4、R\(_{9}\)可先不装,等调整好了再接。装好以后应仔细检查电路,确实无误后再接电池。先调T3(三管机),后调T\(_{2}\),最后调T1。调时可在图1中有X处拆开,串接一10毫安或1毫安电流表,分别用100千欧电位器代替R\(_{9}\)、R4、R\(_{1}\),将电位器放在电阻最大值,缓缓降低电阻,特T3、T\(_{2}\)、T1的集电极电流分别调到6毫安、900微安和400微安处,然后量一下电位器的阻值,换上合适的电阻,并测晶体管各极电压应与图1所示相同,或相差不大。这时转动双连应听到近地大电力电台的播音。如声音很小可接上天线以增强音量。下一步是反复仔细调整中频变压器直至音量最大。在调整过程中应不出现啸叫声,否则需要仔细调整中和电容C\(_{9}\),使啸叫停止。如C9怎么调啸叫也不停止,则可能是变频级本机振荡过强,可将L\(_{3}\)与L4适当离远,或将L\(_{3}\)拆去几圈来解决。一般应拆拆试试,不要一下拆除很多圈,至振荡强度合适,中频也不啸叫为合度。一般规律,L3拆得过多,本机振荡很弱,虽不再产生啸叫,但收音机的灵敏度很低。拆得太少,啸叫不能避免,需耐心试验。
下一步是调整跟踪,先听听能不能收到600千赫和1500千赫附近的电台,否则需要调整L\(_{4}\)的铁粉芯和C7的电容量,使整机能够复差535千赫至1605千赫,但不要求很准。然后把刻度盘转到640千赫附近收一电台,移动L\(_{1}\)在天线棒上的位置使声音最大。再转到1500千赫附近收一电台,转动C3使声音最大。反复调整直至两个电台声音都最大,至此调整就算完毕。
如装上以后根本无声,应自后向前逐级检查。可用另一普通收音机,从扬声器上(输出变压器次级)引出两根线,接在R\(_{7}\)的两端,收一电台并转动R7,本机的耳机或扬声器应发声,这时说明T\(_{2}\)已能按低放工作。如无特殊故障,它也能按中放工作。如果这两级完好,但不能收音,应再检查变频器的本机振荡有没有起振。可用万用电表放在R3的两端上测其直流电压,然后用起子短路C'\(_{2}\),电表指示应有变化(读数变小)。如无变化说明本机振荡器不振,可检查T1是否正常,L\(_{3}\)是否接反。C9中和电容的调整是比较困难的,调时可转至信号弱小的电台,增减C\(_{9}\)的数值,并仔细分辨音量大小。C9最正确时,电台的声音较小,并无啸叫声出现。
本机装成后在北京地区收听,灵敏度比两管来复式机好,特别是选择性十分令人满意,基本上各大电台均能分清。全机用电不到10毫安,省电经济。(镜西)