变频就是把一个高频信号变成另一个频率不同的信号,而原来信号的调制规律仍然保持不变。例如,原来是已调幅信号,经过变频后得到的仍然是已调幅信号,而且幅度变化的规律和原信号完全一样。在无线电技术中,变频的应用很广。超外差收音机工作原理的基本特点,就在于把所收到的高频信号变成所谓中频信号。在这篇文章中,我们来介绍一些有关超外差收音机的变频的知识。
什么是差拍现象
为了比较形象地说明问题,我们先来看看两个频率不同的等幅振荡相加时会发生什么情况。图1a和b画出了两个频率不同的信号u\(_{1}\)和u2,它们的频率分别是f\(_{1}\)和f2,把这两个电压加起来所得到的总电压u=u\(_{1}\)+u2如图1c所示。可以看出,总电压u已经不是等幅振荡了,它的振幅是随时间而变的,变化的频率为前两个频率之差,即f\(_{2}\)-f1。这种现象称为差拍。

不同频率的电压相加为什么会产生差拍呢?从图中可以看到,在某些时间内,例如从t=0到t=t\(_{1}\)的期间,u1和u\(_{2}\)基本上方向相同:u1为正时,u\(_{2}\)也为正;u1为负时,u\(_{2}\)也为负;而且两个电压差不多同时达到自己的振幅值。因此这时总电压的幅度最大(图1c)。但是由于u1的频率较低,它以后的各个振幅越来越落后于u\(_{2}\)的振幅。因而总电压u的幅度也逐渐减小。经过一段时间,例如到了t2~t\(_{3}\)的期间,u1和u\(_{2}\)差不多恰好方向相反,因而总电压u的幅度最小。以后,电压u1继续“落后”,到了t\(_{4}\)~t5的时间内,两个电压又变得方向相同,总电压幅度又达到最大。由此可见,总电压u的幅度是周期性变化的,它的变化频率等于u\(_{2}\)和u1的频率差f\(_{2}\)-f1。这一点可以这样来想象。例如,f\(_{1}\)=8赫,f2=10赫,那么,在每秒钟内,u\(_{2}\)比u1“落后”两个整周期,或者说,半秒钟内就“落后”一个整周期。因此,u\(_{1}\)和u2的幅度每秒钟内“重合”两次,即总电压u的振幅每秒钟内有两次达到最大值,也就是变化频率为2赫,等于f\(_{2}\)-f1=10-8。实际上,f\(_{1}\)和f2可能是若干千赫或兆赫的高频,但是发生差拍的道理完全一样。
从差拍到变频
促发生差拍,还不能得到差频。因为图1c的总电压u的振幅虽然按f\(_{2}\)-f1的频率在变化,但是这个电压中并没有频率为(f\(_{2}\)-f1)的电压分量,它只不过是两个频率为f\(_{1}\)和f2的电压分量单纯地选加起来而已。只有把这个造加电压通过一个非线性元件,使它的波形发生变化,产生出新的频率分量以后,才能得到差频分量。例如,把u=u\(_{1}\)+u2加到一个二极管检波器上,就得到了如图1d所示的单向脉冲电流i检,它们在各个高频周期中的平均值如图1d中的虚线所示。很明显,这个平均电流的波形在周期性地变化,变化频率为(f\(_{2}\)-f1),也就是说图1d的单向脉冲中包含有差频分量。
由于u\(_{1}\)和u2都是等幅振荡,所以图1d中的脉冲幅度只是按照差频f\(_{2}\)-f1周期性地变化,平均电流的变化幅度在各个周期中都相等。因此,得到的差频分量也是等幅振荡,如图1e所示。
现在假设u\(_{1}\)是已调幅的高频信号(图2a),而u2是高频等幅振荡(图2b),那么,电压u\(_{1}\)+u2的幅度除了按照差频f\(_{2}\)-f1周期性地变化外,还按着调幅信号的规律而变化(图2c)。这样,经过检波(或其它非线性变换)所得到的脉冲电流i\(_{a}\)就带有调幅信号的痕迹(图2d),因此,产生的差频分量就不是等幅的,它的幅度将随着调幅信号的规律而变化(图2e)。于是我们就得到了已调幅差频信号,实现了变频过程。

单栅变频器
在超外差收音机里,变频是通过变频器来实现的。变频器包括两部分,一是本机振荡器,一是混频器,如图3的方框图所示。本机振荡器产生一个频率为f\(_{ι}\)的等幅振荡,加到混频器上,在那里和所收到的频率为fc的高频已调幅信号相混合。f\(_{ι}\)通常比fc高一个中频f\(_{n}\)。混频器是一个非线性元件。由于混频的结果,就在变频器的输出端上得到了频率为fι-f\(_{c}\)=fn的中频信号(如图3中的波形所示)。

图4a中画了一个最简单的变频器电路。在这个电路中,信号电压u\(_{c}\)(图2a)和本机振荡电压uι(图2b)同时加在五极管的控制栅极上。由于这两个电压频率不同,就产生了差拍现象。作用在栅极上的总变变电压的幅度不但按照原来的调制信号变动,而且也按u\(_{ι}\)和uc的差频f\(_{ι}\)—fc变动(图2c)。

由于我们适当地选择了栅偏压E\(_{g}\)的数值,把电子管的工作点配置在特性曲线下端的弯曲部分(参看图4b),因此这时的情况和屏极检波时的情况相似。在交变电压的正半周,电子管中有屏流流过,在交变电压的负半周,电子管的屏流很小,甚至没有屏流。这样,电子管屏流变化的波形将如图2d所示。这个屏流中包含有频率均fι-f\(_{c}\)的中频分量,并且还有直流分量和其它高频分量。为了造出中频分量,在屏极电路中接入并联谐振回路,调谐到中频fn=f\(_{ι}\)-fc上。由于回路的谐振特性,其它频率分量在回路上所产生的电压降很小,这样,我们就在回路两端得到了一个频率为f\(_{ι}\)-fc的中频交变电压u\(_{n}\),如图2e所示。比较图2a和图2e中的波形,可以看到,虽然载波频率不同,但是它们的形状是一模一样的。因此,un就是一个具有新的载波频率f\(_{n}\)、但形状和原来信号一样的信号,这样我们就完成了变频。
由于在这种电路中,信号电压u\(_{c}\)和本机振荡电压u2是加到电子管的同一栅极上混合起来得到变频的,因此通称为单栅变频电路。
七极管变频器
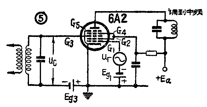
目前流行的超外差收音机里,大多采用6A2、6SA7等七极管来变频。七极管变频的原理电路见图5。通常第一栅G\(_{1}\)上加着偏压Eg1和来自本机振荡器的等幅振荡u\(_{ι}\),因此第一栅就叫做振荡栅。第三栅G3上加着偏压E\(_{g3}\)和收到的已调幅高频信号电压uc,因此这个栅极就叫做信号栅。G\(_{2}\)和G4接在一起成为帘栅极。G\(_{4}\)的作用和普通五极管的帘栅极一样。G2用来把G\(_{1}\)和G3屏蔽开来,以免本机振荡部分受到外来信号的影响。G\(_{5}\)是抑制栅极。和单栅变频时一样,电子管的屏极电路内接着一个调谐到中频fι-f\(_{c}\)的并联谐振回路。

阴极发射出的电子流,受到第一栅上所加本机振荡电压u\(_{2}\)的影响,就随着这个频率而起脉动变化;同时,由于第三栅加有外来的信号电压uc,电子流也将随信号频率而变化。因此,这两个不同频率的信号就在电子流中混合,产生差拍。这个差拍经过电子管中的非线性作用,就在屏流中产生中频分量。
在上述电路中,u\(_{c}\)和uι是加在电子管的而个不同的栅极上,因此这种类型的电路通称为双栅变频电路。

用七极管变频时,除了能起混频作用以外,还能自己完成产生本机振荡的任务。图6就是常见的七极管变频器电路的一种形式。由天线上收到的信号电压加在第三栅上,由阴极、第一栅G\(_{1}\)和第二栅G2所组成的三极管接成一个自耦变压器反馈式振荡器,自行产生出本机振荡供混频之用。这种既用作本机振荡器,又用作混频器的电子管,通常称为变频管。(莫愁)