从点票机谈起
在全国无线电工程制作锦标赛作品展览会上,人们对获得特等奖的“自动点票机”感到很大兴趣。在这架点票机上,有两个像钟表面盘一样的字盘,沿“表盘”圆周从0到9顺序排列着十个数码。一开机器,一张张钞票飞快地从机器中的一个光电管前面掠过。与此相应,右边“表盘”的“指针”——一个小红亮点——就从0到1,从1到2……迅速地旋转。转了一圈再回到0时,左边“表盘”中的红亮点就从O跳到1,表示“逢十进一”。右边“表盘”的“指针”转两圈时,左边“表盘”的“指针”就从1跳到2,表示是20。一叠钞票数完了,假如左边“表盘”中的红亮点指到8,右边“表盘”中的红亮点指到3,那么,这叠钞票就是83张。
这种带有红亮点指针的计数表是一个特殊的气体放电管——十进位计数管。它的外形见报头。这种管子能够记录送入电路中的脉冲数。例如,在点票机中,一张钞票掠过光电管前的瞬间,挡住了射到光电管的光线,流过光电管的电流突然减小,这样就在电路中形成了一个脉冲。十进位计数管记下脉冲的数目,也就是记下了钞票的数目。由此可见,在利用十进位计数管计数时,必须先把要计数的东西变成电脉冲。

用十进位计数管组成的多位计数器,其方框图见图1。计数脉冲首先通过形成装置Y\(_{1}\)变成幅度足够大、适宜于控制所用计数管的控制脉冲,加到计数管1进行计数(个位数)。当计到第十个数时,计数管1又指到0,同时发出一个脉冲,通过形成装置Y2使计数管2计一个数(十位数)。依此类推。计数完毕后,即可按照代表个位数、十位数、百位数……等各个计数管所指示的数字,直接读出得数。
十进位计数管是怎样工作的呢?下面我们以OГ4型管为例简单地介绍一下。
奇特的结构

OГ4型十进位计数管共有三十个棒状阴极,这些阴极均匀地分布在圆柱形阳极A周围,并密封在充气的玻璃壳内。图2是电极排列的示意图。图中内圈的每个大黑圆点代表一个竖立的阴极棒。这30个阴极按照在圆周上排列的位置每隔两个编成一组,一共编成三组。例如,从标有字码0的阴极K\(_{0}\)按顺时针方向数,隔两个是标有字码1的阴极K1,再隔两个是标有字码2的阴极K\(_{2}\),一直到标有字码9的阴极K9,这十个阴极编为一组,称为主阴极(K)。其中K\(_{0}\)单独由管脚(1)引出,特称零阴极;其它九个主阴极用导电的连接环连接起来(图中以外层的细线圆圈示意地表示),从管脚(8)引出。各个主阴极前面的阴极(按顺时针方向数)称为第一支阴极(1ПK),它们也编为一组,用连接环连接在一起(图中用最里层的细线圆圈表示),从管脚(4)引出。各个第一支阴极前面的阴极称为第二支阴极(2ПK),这些电极编为一组,用连接环连接起来(以中间的细圆圈表示),从管脚(6)引出。阳极A单独由管脚(3)引出。这种管子是一种辉光放电的多电极充气管。阳极和阴极间的点火电压U点=375伏,点火后,电压就降低到U\(_{燃}\)=125伏,并在这一电压下维持着燃烧状态。
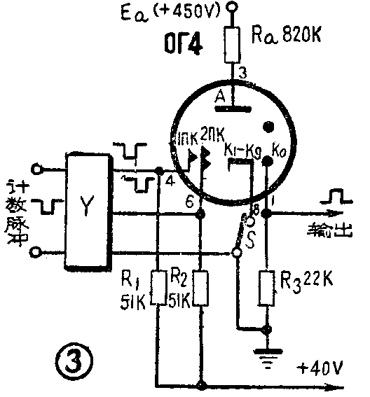
怎样计数?

简化的十进位计数管的计数电路示于图3。阳极A通过限流电阻Ra接到电源的正极。在第一支阴极和第二支阴极的圆环上,通过电阻R\(_{1}\)和R2接有35—40伏的正偏压。因此,阳极和两个支阴极间的电压就低于阳极和主阴极间的电压。加上E\(_{a}\)后,自发放电只能在阳极和主阴极间发生。如果正确地选择Ra的数值和额定阳极电流的大小,就可以使自发放电只能在阳极和某一个主阴极间进行,避免两个(或更多)主阴极同时点火和同时燃烧。而当某一主阴极已经燃烧时,因为阳极和所有主阴极之间已经建立起了比点火电压低得多的燃烧电压,所以其它主阴极就不可能再自发点火了。
某一主阴极点火后,该阴极周围就出现一个红亮点,对着字盘上的相应数字。为了在每次计数前都使放电在阳极和零阴极间进行(使红亮点指零),我们在K\(_{1}\)—K9的电路中接一个常闭开关S。如果开始时放电出现在K\(_{1}\)—K9的某一个阴极上,则当按下开关S时,由于这些阴极的外电路被切断,所以放电停止,而新的自发放电只可能出现在零阴极K\(_{0}\)上。
当K\(_{0}\)处于放电状态时,由于放电区域内电荷的扩散作用,K0附近的离子浓度提高。因此,K\(_{0}\)两旁的支阴极比其它远离K0的支阴极更容易点火,或者说,K\(_{0}\)两旁的支阴极是处于点火准备状态。
采用前述的OГ4型计数管进行计数时,必须先把计数脉冲通过形成装置Y变成一前一后的两个负脉冲(见图3)。所以这种类型的计数管称为双脉冲十进位计数管。在通常计数的情况下,把前一个负脉冲加到第一支阴极上,而把后一个负脉冲加到第二支阴极上。当送入第一个负脉冲的时候,阳极和所有第一支阴极间的电压突然增加。K\(_{0}\)旁边的那个第一支阴极(图2中的1ПK1),由于处于点火准备状态,在这个电压的作用下,开始点火,从而使阳极和第一支阴极间的电压降到燃烧电压,所以其余的第一支阴极不能点火。在极短的时间间隔内,十进位计数管的放电同时存在于1ПK\(_{1}\),和K0之间。放电电流增加,限流电阻R\(_{a}\)上的电压降增大,这样就降低了阳极电位,从而使K0上的放电终止;而1ПK\(_{1}\)和阳极之间则依靠负控制脉冲而保持着足以燃烧的电压。这样,放电就从K0转移到了这个支阴极上。当K\(_{0}\)上的放电终止后,阳极A到K0之间开始了消电离过程(正离子和电子重新结合成为中性原子)。
1ПK\(_{1}\)一点火,它旁边的那个第二支阴极(图2中的2ПK1)的“点火准备”就开始了。当第一个负脉冲终止而第二个负脉冲紧接着加到第二支阴极去的时候,和前面所谈的情况相似,放电将转移到这个第二支阴极2ПK\(_{1}\)上,并准备向邻近的主阴极K1点火,同时,刚才燃烧的那个第一支阴极1ПK\(_{1}\),和阳极间的消电离过程开始。第二个负脉冲终了以后,燃烧着的2ПK1和阳极之间的电压变得小于U\(_{燃}\),同时,高度电离的区域已经移到K1附近,因此,放电过渡到下一个主阴极K\(_{1}\)上,红亮点指针指“1”,而2ПK1和阳极间开始了消电离过程。
至此,从K\(_{0}\)到K1的转移放电过程完结了。以后,当继续输入计数脉冲时,放电将以类似方式顺序向K\(_{2}\)、K3、K\(_{4}\)……转移,红亮点指针依次转到2、3、4……。当第十个计数脉冲到来时,放电重新转移到K0上(红亮点重新指“0”)。流过K\(_{0}\)的电流在R3上产生一个电压降,因此在R\(_{3}\)的上端可以得到一个输出脉冲,它通过形成装置加到后面代表十位数的那个计数管去。
从前面的叙述可以看到,零阴极K\(_{0}\)有两个作用:一是指零或者说是零数还原,一是输出进位脉冲。主阴极K1—K\(_{9}\)主要用来指示数字,所以又叫做指示阴极。第一和第二支阴极是在控制脉冲到来时起转移放电的作用,所以又称为转移阴极。
消电离时间是限制十进位计数管快速计数的主要因素。目前计数管的最高计数速度为每秒1000—3000个脉冲。
更换双脉冲送到支阴极去的顺序,即把前一个脉冲加到第二支阴极,而把后一个脉冲加到第一支阴极,则十进位计数管的转移放电便向反向推进。这种可逆性使我们能很简单地把加法变为减法。这是双脉冲十进位计数管的突出优点。
另一种计数管
除了前面所说的双脉冲十进位计数管以外,还有一种单脉冲十进位计数管,它在工作时只需要单个控制脉冲来触发。这种管子(例如OГ3)的构造和前述OГ4型双脉冲计数管很相似,不过它多了十个阴极,共有40个棒状阴极。如图4所示,这种管子除了有十个主阴极(K)、十个第一支阴极(1ПK)和十个第二支阴极(2ПK)以外,还多了十个第三支阴极(3ПK),其中九个用阴极环连在一起从管脚(1)引出,第十个(3ПK\(_{0}\))单独从管脚(7)引出。


单脉冲十进位计数管的计数电路图如图5所示。和前述情况相似,在开始计数以前,放电存在于阳极和零阴极K\(_{0}\)之间。K0旁边的第一支阴极(1ПK\(_{1}\))处于点火准备状态。计数时,幅度为150伏的单个负控制脉冲送到第一和第二支阴极环上,使K0前面处于点火准备状态的第一支阴极1ПK\(_{1}\)点火,这样,Ra上的电流增加,使阳极电位降低,从而使K\(_{0}\)的放电停止。以后随着1ПK1的电流对电容器C\(_{1}\)的充电,电阻R1上的电位降逐渐增大,使第一支阴极(1ПK)的负电位减小,从而又使阳极电流减小,阳极电压升高。由于第二支阴极(2ПK)是接在R\(_{1}\)的下端,即负脉冲是直接加到2ПK上的,所以这时2ПK上的电压要比1ПK负得多。因此,阳极电压升高到一定程度时,阳极和2ПK间的电压将大于点火电压。这样,1ПK1前面处于点火准备状态的那个第二支阴极2ПK\(_{1}\)点火。2ПK1点火后,流过R\(_{a}\)的电流增加,使阳极电位降低,从而使1ПK1上的放电停止。当触发脉冲完了时,第二支阴极和阳极间的电压突然下降,2ПK\(_{1}\)的放电停止,放电就转移到2ПK1前面处于点火准备状态的那个第三支阴极(3ПK\(_{1}\))上。随后,3ПK1的电流对电容器C\(_{2}\)充电,电阻R3上的电压降逐渐增大,使第三支阴极的电位增高,从而使阻极电流减小,阳极电位增高。由于主阴极是直接接地,它的电位这时比3ПK低得多,所以当阳极电压增加到某一程度时,阳极和主阴极间的电压变得大于点火电压,放电即转移到3ПK\(_{1}\)前面处于点火准备状态的那个主阴极K1上。至此,从K\(_{0}\)到K1的转移放电过程结束了。以后,当继续输入计数脉冲时,放电将以类似方式顺序向K\(_{2}\)、K3……转移。送入第十个计数脉冲时,放电重新回到零阴极K\(_{0}\)上。从3ПK0到K\(_{0}\)的转移,和前述的情况相似。但是,3ПK0除了具有转移放电的作用以外,由于它的管脚是单独引出来的,所以还可以从它上面得到一个输出脉冲。而这个脉冲要比从K\(_{0}\)上得到的早一些。这样做在有些情况下是很必要的。从K0(或3ПK\(_{0}\))得到的输出脉冲经过形成装置送入下一级表示十位数的十进位计数管中。
和双脉冲十进位计数管比较起来,单脉冲十进位计数管的计数速度较高。但是它的结构比较复杂,因而可靠性也较差。另外,它的转移放电的方向也是不可逆的。
目前,十进位计数管广泛地应用于测量、自动控制系统、宇宙线的研究、物理探矿和核子物理等部门。和电子管作成的十进位计数器比较起来,它的线路简单,元件要少得多,结构紧凑,又没有庞大的灯丝电源消耗。另外,它的参数比较稳定,寿命也比较长。它的惟一的缺点是计数的速度较低。
十进位计数管不仅可以用来计数。由于它实质上是一个特殊的转换开关,所以在许多电子设备中可以得到各种不同的应用。例如可以作成分频器,示波器中的时标发生器等。(本刊根据王关锦、白世相来稿综合编写)