交直流两用收音机可以使用交流市电或直流发电机电源。它的特点是没有电源变压器,灯丝用电和高压都直接取自供电电源,常见的故障多是发生在这一部分。
这类收音机一般是按使用110伏电源设计的,最常见的型式结构如图1所示。灯丝电路采用串联接法,各个电子管灯丝电压不全相同,输出管和整流管的比较高,使串联总电压能与电源电压相等。各管灯丝电流大小是一致的。

在串联电路里,灯丝对近地(乙)端的交流电位差是不一样的。对地的交流电位差愈大,交流感应也愈大。为了减小交流声,因此必须把最易受到影响的音频电压放大管排在交流电位差最小的近地端,其次是工作在高频的变频管和中放管。把影响最小的末级输出管和整流管靠近在电源的“火线”端。这样还可以使整流管带高压的阴极和灯丝之间减小对乙-的直流电位差,使它们之间的绝缘更安全。
电路中比较特殊的还有整流管的灯丝部分。灯丝在管脚2、3一段上有一个抽头,供接指示灯用。当不接指示灯时,全部灯丝电压(管脚2~7)是35伏,电流0.15安,抽头的一小段(管脚2~3)是7.5伏。加接指示灯后,灯丝由于并联了指示灯而电阻减小,管脚2~7间电压成为32伏,电流仍为0.15安,2~3之间则为5.5伏。整流电流一部分还从指示灯泡上通过,收音机工作时,指示灯的亮度就随屏流变化。此外,在整流管的屏极电路里还串有一个十余欧的限流电阻R,防止滤波电容器开始充电或短路时,过大电流会将整流管阴极或并联接有指示灯的一段灯丝烧毁。
上面是这类收音机构造上的特点,也是经常易生故障的部分。下面就按几种常见的故障谈谈它们的现象和修理。
整流管烧毁

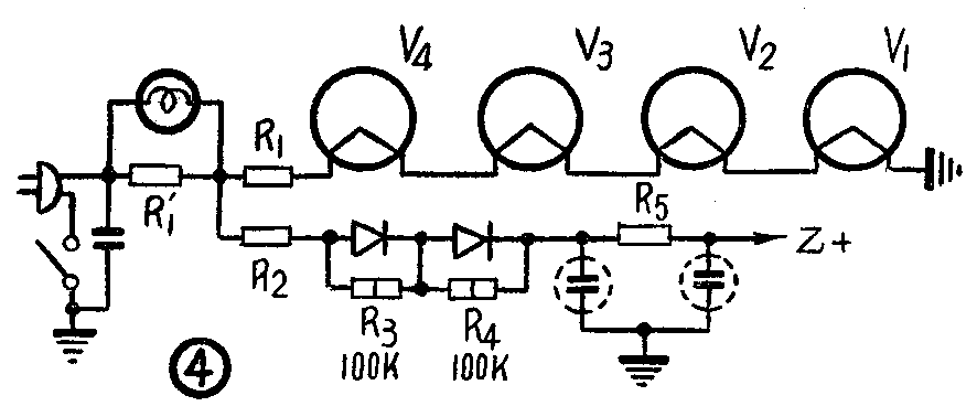
整流管烧毁故障是这类收音机最常见的。带有指示灯抽头的整流管很多只是烧断灯丝接通指示灯的这一小段,只要在管座这一段的两脚上并联接上阻值约为21欧2~5瓦的线绕电阻一只,就可以复用,对整流工作不至有显著影响。如果是大的一段烧毁,就要考虑另换管子。这种整流管相同型号的目前很少,如用一般交流机上常用的整流管代替,引起的问题较多,因为在这样的灯丝串联电路里,各电子管的灯丝电流必须是一样的,交流管的灯丝电压低、电流大,放进原来的串联电路后,就要增加分流电阻和降压电阻,这样不但使收音机的功率消耗增大,而且电阻要发散很大热量,会使收音机的温升大大增加。因此最好采用硒堆整流器或半导体二极管代替。改换时仍用半波整流电路,只在灯丝电路里串入一个相当于原整流管灯丝工作阻值的电阻就可以了。图2甲是改用硒堆整流的一种参考电路,R\(_{1}\)是用来代替原管灯丝的电阻,阻值可按原管的电压和电流根据欧姆定律算出。例如在本例中电阻R1=35(伏)0.15(安)≈235欧,电阻的散热功率P=(0.15伏)\(^{2}\)×235欧≈5.3瓦(取用10瓦)。这样处理,收音机上没有指示灯了,使用上不够方便。需要恢复指示灯,可如图2乙所示在R\(_{1}\)的一段上接出。这段阻值的多少,要看指示灯所需的电压而定。现在常用的6~8伏指示灯泡,一般使用在5.5伏时比较耐用,这时它的电流约为190~210毫安不等(各厂产品规格多有出入),这一段的电阻取用37欧左右就可以。取得大些,指示灯虽可较亮,但灯泡不能经久耐用。而且电源刚一开启时,各电子管灯丝尚未灼热,阻值还小,会有较大的电压加在指示灯上,很易烧毁。这些电阻阻值都是畸零数值,实际装置可以选用较大阻值的可变线绕电阻,多加一个调节滑键,就能方便地将R1和指示灯所需抽头调出来(见图3)。硒整流器前面串有一个100~200欧5瓦型的限流电阻R\(_{2}\),作用与图1上的R相同。硒整流器可以利用0427型,将它拆去一半(用13片)应用,或用ZXJ-25A-13D型的也可。

使用半导体二极管代替硒整流器,可以使占用的空间缩小,但是价格较贵,改接后的电路见图4。图中使用的是两只半导体二极管ДГЦ-24串联,每只管上跨接一个100千欧1瓦型的分流电阻,防止两管因特性稍异引起电压分布不均而被击毁。

变频、中放和检波放大等管损坏
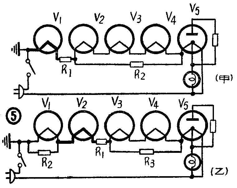
变频、中放和检波放大等电子管,在普通6.3伏系列交流用电子管中种类很多,多数可在100伏上下的屏压中使用。两用电源收音机上这部分电子管坏了,在无同型新管时可以用6.3伏系列功能相同的管子代替。代换时只要在灯丝电路里加入降压电阻和分流电阻,以使电路的使用电压和原来的相等,又使各管的电流统一就可以了,其他零件不需怎样变动。例如在图5甲中,把一只6SQ7GT代换12SQ7GT(前者灯丝电压6.3伏,电流0.3安;后者灯丝电压12.6伏,电流0.15安),需要串入降压电阻R\(_{1}\)和并联上分流电阻R2。这两个电阻阻值可按欧姆定律计算。降压电阻R\(_{1}\)=U1-U\(_{2}\)I2=12.6-6.3;0.3=21欧,它的散热功率P\(_{1}\)=I\(^{2}\)2×R\(_{1}\)=(0.3)2×21=1.89瓦(为了减小热量应取用较大数值为3~5瓦)。分流电阻R2=\(\frac{U}{_{3}}\)I2-I\(_{1}\)=12.6+12.6+50+30;0.3-0.15≈715欧,散热功率P2=(I\(_{2}\)-I1)\(^{2}\)×R\(_{2}\)≈16瓦(取用25~30瓦)。式中U1是原来电子管的灯丝电压,U\(_{2}\)是新换的电子管灯丝电压,U3是未更换的各电子管灯丝电压之和,I\(_{1}\)是原来电子管的灯丝电流,I2是新换电子管的灯丝电流。
如果需要更换的电子管不是接近地端的V\(_{1}\),就不能只用一个分流电阻,也不宜将电子管灯丝接线顺序变更重排。在这样情况下,需要使用两个分流电阻来解决。例如图5乙中,V2是新换灯丝电流较大的电子管,那么就在V\(_{1}\)及V3—V\(_{4}\)—V5的灯丝电路上分别并联上R\(_{2}\)和R3,使得这两段的电流和新换V\(_{2}\)的灯丝电流相等,在本例中R1的阻值和图5甲中的相同,R\(_{2}\)是84欧,R3约是630欧。

功率输出管损坏
50L6等高灯丝电压的末级功率输出管目前也很少,损坏了虽然也可应用以上方法代换,但是一般交流型输出管的灯丝电流比两用机上原来电子管的大很多,而且这类管子在100伏左右的屏压时工作性能并不十分良好,和原来的输出变压器、阴极电阻等也难以配合。依照目前情况看来,比较合理的办法是用一般三极管或是遥截止式的五极管代用,例如前者的6F5(6Φ5)、6С2С、6J5(6Ж5)等,后者的6К3Р(6SК7GT)、 6К4(6К4П) 等,它们的灯丝电流都不很大。用三极管时,失真比较小,阴极电阻要按新管特性更换,原来输出变压器初级阻抗虽小一些(50L6GT只有2千欧),仍可将就留用。用五极管时可以得到较大音量,它的帘栅电压不要太高,以免使失真加剧,一般要给它串入一个2~5千欧1瓦的电阻,并在帘栅和地(乙_)之间跨接0.1微法的旁路电容器。输出变压器要换用初级阻抗尽可能大的,例如适合2P2(2П2П)或3S4等用的输出变压器。原电路阴极电阻上如未加有并联电容器,则应加接一个数十微法的电容器,取消负反馈,以免影响音量。这样改装后,输出功率仍然能达100~300毫瓦,可以满足一般情况下收听的要求。
指示灯泡损坏
指示灯烧毁,在普通交流收音机上可以说是无关重要的。但在两用电源收音机里,从整流管引出的指示灯断路之后,整流管与指示灯并联的一段灯丝将会继续被烧毁,所以要及时换入新灯泡才可继续使用。某些收音机是有规定型号的指示灯泡的,但仍可用一般6~8伏的小电珠换替。
电子管灯丝和阴极间漏电或短路

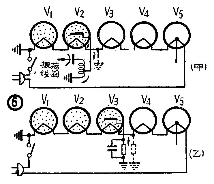
两用电源收音机的电子管还常发生阴极和灯丝短路或漏电的故障,现象是个别电子管灯丝的亮度比较正常的黯淡甚至无光,而另一些管子的灯丝却特别光亮。例如在图6甲中,V\(_{2}\)(变频管、它的阴极经振荡线圈通乙_)的阴极和灯丝一经短路,V1和V\(_{2}\)灯丝将被短路而不亮,灯丝电路的全部电压将加在V3—V\(_{4}\)—V5上,所以它们就特别光亮。阴极串有偏压电阻的电子管发生这种故障时,这个电阻就等于和前面几个管子的串联灯丝电路并联起来(图6乙),使这一段电路总的电阻值下降,两端的电压十分低落,所以这些管子就黯然无光,后面的管子承受电压较高,因而特别光亮。这种故障,有的可用万用电表从阴极和灯丝之间量出是否短路或漏电,有的要在电子管工作时才出现(测量各管的灯丝电压是否合乎规定值可发现有故障的管子)。简便的方法,可在通电后从近地端的V\(_{1}\)管起,将电子管逐个拔下,如果这只电子管刚一拔除,其他电子管全部熄灭,说明毛病就在这只管子上。如果是近地端的V1管有此故障,将这只管子的灯丝接线在管座上对调一下,有时仍有希望能够继续使用。其他电子管发生这样毛病,就需要更换新管了。
调制交流声
有些收音机在调到电台时,会有经由电源而来的调制交流声。这种毛病在交直流两用机中最容易发生。消灭这种交流声的方法,是在收音机的电源进线“火线”端并联上一个.006~.05微法电容器通地,或者将它并联在整流管的屏、阴极之间(图7),使高频电流旁路,交流声就可以消失。图2电路中的C\(_{1}\)就是起这样作用的。(冯报本)
