怎样改善收音机的音质,是广播收音机工作者和爱好者最关心的一个问题。收音机的音质是由它的电气性能和声学性能所决定的。在电气性能方面,主要是整机频率特性、整机非线性失真和低放电路、音调控制电路等的各种参数对音质起影响。而在元件方面,则主要取决于中频变压器、输出变压器和扬声器等的性能和质量。因此提高收音机的音质牵扯的范围很广,不可能——论述。这里仅以五、六灯收音机为例,来谈谈音质与电气性能的关系,以及一些改善音质的措施。
什么样的电气性能才能得到好的音质
一般说,收音机的整机频率特性愈宽,声音愈丰满动听。不过有些人喜欢低音丰富些,有些人喜欢高音丰富些。这时可以把低音频或高音频加重一些,或是说把收音机电路设计得对低音频或高音频的放大能力强一些。但是低音太强,会使发音过于低沉闷郁,高音太强,又会感到尖叫刺耳。如果要求发音既不沉闷,又不刺耳,而且丰满动听,整机频率特性的下限频率和上限频率数值的乘积必须在500000上下。例如,在五、六灯机中,下限频率为120~15O赫时,上限频率就要在3500~4000赫之间才能满足要求。
但是,即使满足这个要求还不够理想。因为人耳对2000赫上下的音频特别敏感,觉得宏亮丰满,对低音频和高音频则不够敏感。因此应设法使整机频率特性在低音频和高音频上加重一些,加重也不宜过多,3分贝左右就够了。这样的频率特性如图1所示。

实际上在收听短波段时,高音频的沙沙声很大。为了抑制这样的干扰,还常常需要将高音频衰减,一般约需削弱8~10分贝。为了提升低音频和削弱高音频,而且要在收听中根据收听节目的性质随时调节,比较方便的办法是加装音调控制器。其次,要求声音好听,还要非线性失真小。经过试验知道,要求声音逼真,频率特性愈宽,所要求的失真就要愈小。整机频率特性和失真系数之间应当有表1所示的关系。由此可知,在五、六灯机中失真系数不许大于7%,最好小于1.5%,一般应在3%以下才好。

在一般五、六灯收音机中,如果能满足上述各种特性,收音机放出来的声音就一定会悦耳动听,人人喜欢。
提高收音机音质的措施
1.降低非线性失真
大家知道,收音机的非线性失真,主要是产生在低频放大电路中,因为五、六灯机一般都选用二极管检波,检波部分产生的失真不大,一般可以忽略不计。
首先,末级功率放大管6P1(6П1П)的工作点要合适。屏压和帘栅压高些比较好,可调到230伏左右。栅偏压小些好,但不能太小,一般在-10伏以下为宜。
其次,末前级电压放大管的工作点也要注意。一般认为末前级放大器的输入信号电压比较小,其栅偏压只要有一点就够了,实际上并非如此。大家常用6G2(6Г2П—К)的三极管部分作末前级放大。依靠流过大栅漏电阻的电流所产生的电压作栅偏压。但是这样产生的偏压一般很小,而信号电压一般在一、二百毫伏,因此有时会在这里产生不小的失真。如果用6N2(6Н2П)兼作检波和末前级放大,由于它有两个阴极,故可以在放大用的三极管部分的阴极接上电阻来产生自偏压。这样自偏压可以大一些,从而能减小失真。试验证明这个偏压在1.5伏上下才好。要达到这样大的偏压,阴极电阻需要加大到几十千欧。当然,电阻上还要并联一个电解电容器,以旁路音频。因为电阻比较大,电解电容器的漏电流必须很小,或是说电解电容器本身的等效并联电阻很大才行,这在实际上有困难,因此比较好的解决办法是象图2那样,从高压到阴极加接一个电阻R\(_{2}\),利用R1和R\(_{2}\)的分压;在R1上产生外加偏压。R\(_{1}\)可以很小(大约1000欧),只要保持栅偏压在1.5伏上下就可以了。

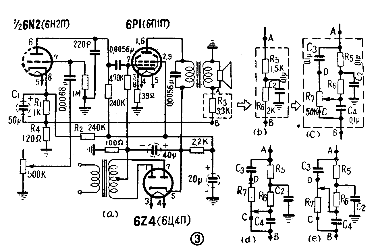
考虑了上述各点,并采取了适当的措施以后,非线性失真的问题可以得到很大的改善,但是要达到上面提出的要求,还需要加负反馈电路。加负反馈的办法有很多种,其中比较有效的办法是从输出变压器的次级反馈到末前级的阴极上去,如图3(a)所示。图中R\(_{3}\)和R4是产生负反馈的电阻网络。由R\(_{3}\)和R4的比值决定负反馈量的大小。负反馈量不宜过大,不然低频放大器的增益将降低,甚至将产生不稳定状态。一般R\(_{3}\)为几千欧;R4为100~200欧为宜。

2.改善整机频率特性
在低频放大级采取负反馈电路之后,低频放大器的频率响应特性曲线可以得到很大的改善,曲线在相当宽的频率范围内都是平坦的。但是从整机性能来看,这并不一定很好。因为中频变压器具有图4(a)所示的选择性曲线,它的顶部一般比较尖。调制在中频上的音频带一般在几千赫,这样宽的调制频带一般不能同等地通过中频变压器,高到几千赫的高音频调制电压会受到衰减。因此检波器检波出来的音频频率特性如图4(b)所示,在高音频部分衰减很大。如果音频放大器的频率特性是平坦的,整机的频率特性就差不多和图4(b)所示的一样。为了解决这个问题,要把低频放大器的频率响应曲线在高音频部分有意识地提高一些,这样可以补偿上述的衰减,使整机频率特性达到图1的曲线。采取的措施如下:在上述图3(a)的负反馈电路中把电阻R\(_{3}\)分成两个电阻R5和R\(_{6}\),在它们中间接一个电容器C2到地,如图3(b)。这样一部分高音频电流就会通过R\(_{5}\)再通过C2到地,于是负反馈量小了,放大倍数提高了,而低音频电流几乎完全不通过C\(_{2}\),而通过R6和R\(_{4}\)到地,因此低音频的负反馈量比较大,放大倍数小些。这样整个音频频率特性曲线在高音频部分就提升了一些,从而使整机频率特性达到图1所示的形状。

3. 采用音调控制线路
大家知道,一般的五、六灯收音机,只设一个音调控制旋钮,用它来控制高音频的衰减量。音调控制的电路也有很多种,其中比较简单的一种是在负反馈线路中实现。图3(c)所示就是一个例子,这是在图3(b)的基础上改进后得到的。当电位器中心头旋至下端的C点,则如图3(d)所示,C\(_{4}\)被短路,因为R7为50千欧,很大,C\(_{3}\)、R7支路几乎等于开路,因此等效电路和图3(b)一样,这时的频率特性曲线当然和前述的相同。如果电位器中心头旋至上端的D点,则如图3(e)所示,R\(_{5}\)和R6被C\(_{3}\)旁路着,R7被C\(_{4}\)旁路着。如果C3和C\(_{4}\)数值选得合适,高音频可以顺利地通过C3和C\(_{4}\)流到R4,负反馈量会很大,使高音频衰减很多;而低音频因为要通过R\(_{5}\)、R6反馈,不如高音频顺利,故反馈量小,结果几乎没有什么衰减,于是整机的频率特性在高音频部分会比图4(b)所示的还要衰减得多,达到了衰减高音频的目的。如果电位器R\(_{7}\)的中心头旋在CD中间的任意位置,整机的频率特性则会介于中间状态。
如果在收音机低频放大器负反馈电路中采取图3(b)的线路,而不采取图3(c)的线路,其整机频率特性曲线可以比较平,但从拾音插口测量的低频放大器本身的音频频率特性曲线在高音频部分有些提升,因此作电唱用时就不佳了。
上述各种改善音质的措施,经过多次试验,并在天津“海河”牌356型5灯收音机中采用,效果良好,音质柔和优美,宏亮动听。图3(a)即为该机低频部分的线路,只是其中R\(_{3}\)被图3(b)所代替。(于闻)