这里介绍的微伏计,能测量500微伏至50伏的电压,频率范围为8赫~250千赫,可用来调整低频放大器、视频放大器。

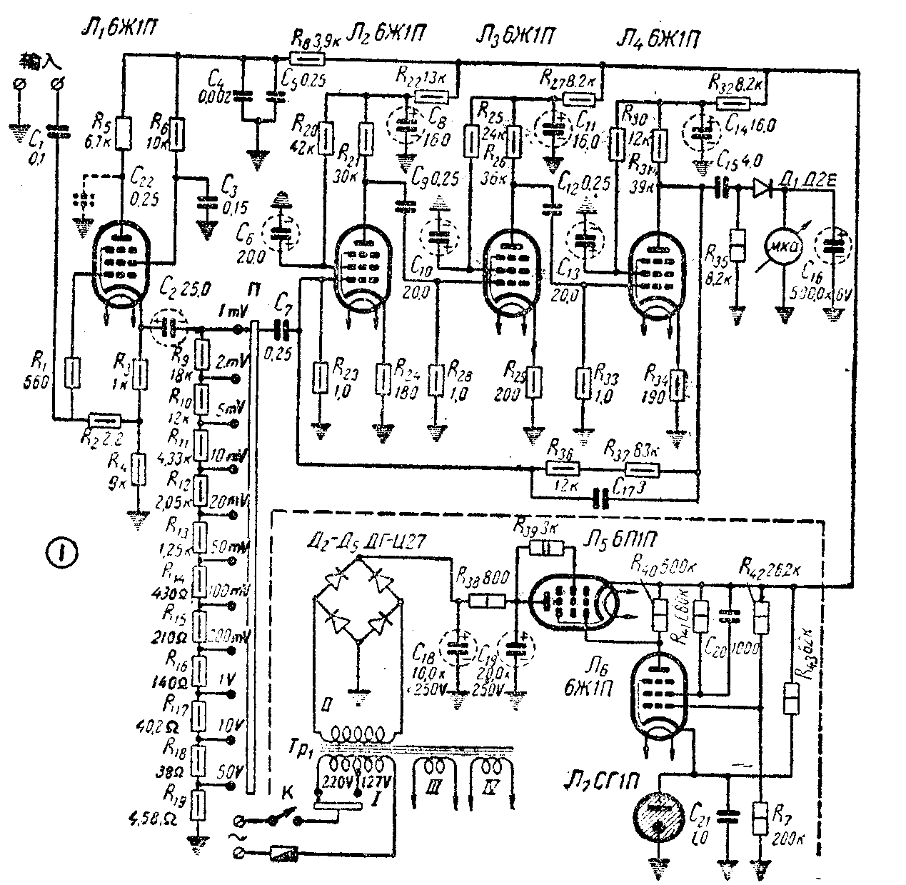
电路原理图示于图1。被测电压接至输入端,经隔直流电容器C\(_{1}\)加到阴极输出器(电子管Л1)的输入端。采用阴极输入器可以得到很高的输入阻抗,并且能得到很好的频率响应。以后,被测电压经电容器C\(_{2}\)加在由R9~R\(_{19}\)所组成的分压器上,再通过转换开关П、电容器C7加到Л\(_{2}\)的栅极。Л2、Л\(_{3}\)及Л4组成一个三级电压放大器。为了在较宽的频带内得到良好的频率响应,各放大级本身都加有电流负反馈(阴极电阻没有并联旁路电容器),并且还接入了从Л\(_{4}\)输出经R36R\(_{37}\)及C17至Л\(_{2}\)栅极的外部负反馈。放大后的被测电压经二极管Д1整流后,用一个微安表指出电压读数。
R\(_{9}\)~R19组成的分压器,用来改变测量量程。转动开关П,可得到以下几个量程:0~500微伏;0~1毫伏;0~2毫伏;0~5毫伏;0~10毫伏;0~20毫伏;0~50毫伏;0~100毫伏;0~200毫伏;0~1伏;0~10伏;0~50伏。
由于对电源电压的稳定性要求很高,所以采用Л\(_{5}\)、Л6和Л\(_{7}\)组成稳压电路。这部分电路的工作原理可参考本刊1962年第11期“稳压管的特性和使用”一文。

零件和结构 微安表可采用50微安的,也可以采用100微安的。用100微安的电表时,最小的量程从0~1毫伏开始。如果用50微安的电表,最小量程可从0~500微伏开始,表头刻度可参考图2绘制。图2中有三种刻度,最上面的一种,用于0~1毫伏;0~10毫伏;0~100毫伏;0~1伏;0~10伏。中间的一种,用于0~2毫伏;0~20毫伏;0~200毫伏。下面的一种,用于0~500微伏;0~5毫伏;0~500毫伏;0~50伏。
电子管6Ж1П型可用国产6J1型代替,6П1П型可用国产6P1型代替,CГ1П型可用国产WY1型代替。整流器也可用电子管(如6Z4)接成全波整流。电源变压器采用Щ-17型硅钢片铁心,横截面积为10.2平方厘米。绕组I用0.24毫米的漆包线绕760匝(127伏电源用),再用0.18毫米的漆包线绕650匝(220伏电源用)。绕组2用0.13毫米的漆包线绕1400匝。绕组Ⅲ和Ⅳ用0.48毫米的漆包线绕52匝。二极管Д\(_{1}\)用Д2E,应选频率特性较好的。
其它零件的数值规格已列于图1中,这里就不再说明了。

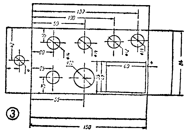
仪器用两个底板。第一个底板上安装整流器和稳压器(图3)。第二个底板上安装微伏计本身各个零件。为了避免各放大级相互交连,第二个底板分成四格,每格中装一个放大级。这样安装后,加上对电源进行良好的滤波,可以将杂音减到最小。
调整 检查接线无误后,插上电子管Л\(_{5}\)、Л6及Л\(_{7}\),接通电源,再检查各管座电压是否有异常现象。如果无问题,则可插上其它电子管,调整刻度指示了。如果采用100微安的电表,那么在输入端接上一个1毫伏的已知电压,转换开关放在1毫伏处,调整R36及R\(_{37}\)的数值,使电表指针指在满刻度处,这样,0~1毫伏一档即调整好了。如果分压器各电阻的数值适当,那么其它各档的刻度也就能符合了。
如果采用50微安的电表,那么在分压器的R\(_{9}\)。上面应再加接一个5.12K的电阻R,C2的负极应接在R的上端。而转换开关П也应多一个接点,第一档改为0~500微伏。调整时输入500微伏标准电压,П放在第一档,调R\(_{36}\)、R37,使电表指针指在满刻度值。(袁仲明据苏联“无线电”1962年第8期编译)