为了做好粮食保管工作,需要经常了解粮食仓库中粮食的温度,但是粮食堆积如山,用一般的温度计来测量,特别是测量粮堆各层的温度,既不便利,也不容易测准确。吉林延吉县的无线电爱好者李许满,自制了一部遥测温度仪,可以在粮库管理员的办公室内遥测粮库粮食的温度,使用方便,测量结果也比较准确,在上届全国无线电工程制作评比中获得了三等奖。
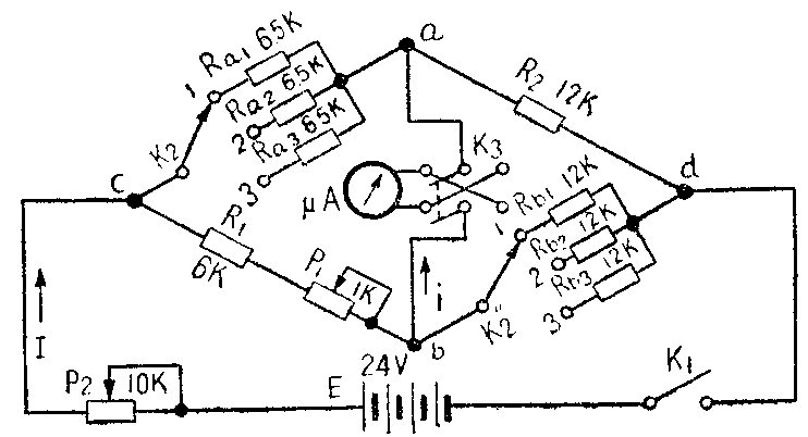
工作原理 仪器的电路图示于附图。这个电路实际上是一个简单的直流电桥。当电桥ac臂的电阻R\(_{ac}\)乘bd臂的电阻Rbd等于电桥ad臂的电阻R\(_{ad}\)乘bc臂的电阻Rbc时,电桥即平衡,ab之间的电位相同,没有电流流过指示器,指示器指零。如果R\(_{ac}\)×Rbd不等于R\(_{ad}\)×Rbc,那么电桥的平衡便被破坏,有一个电流i通过指示器,指示器就指示一个相应的读数。R\(_{ac}\)×Rbd与R\(_{ad}\)×Rbc的差别愈大,则i愈大,指示器指示的读数也愈大。根据这个原理,使电桥的一个臂的电阻(例如R\(_{ac}\))随温度变化,那么指示器的读数也就随温度而变化了。

图中实际上随温度变化的有两个电阻臂,即R\(_{ac}\)和Rbd,这两个电阻都放在被测地点。同时随温度而变化,对电桥平衡的影响更大,可提高测量的灵敏度。
这个仪器可以测量几个地点的温度,所以R\(_{ac}\)和Rbd中各有几个电阻(用开关K\(_{2}\)换接)。有共同序号的电阻(如Ra1R\(_{b1}\))组成一组,放在同一个待测温度的地点。图中只画了三组电阻,如果需要增加待测温度的地点,可相应地增加电阻组数。
电位器P\(_{1}\)可用来调节电桥的平衡。电位器P2可用来调节i的大小,以改变测量量程。
开关K\(_{3}\),可用来转换流过指示器的电流方向。
元件的选择R\(_{ac}\)和Rbd应选择温度系数较大的电阻。有两种方案。第一种方案是采用热敏电阻。这种电阻的温度系数是负的(约-3%),则温度升高,电阻减小。第二种方案是采用线绕电阻,它的温度系数是正的,即温度升高,电阻增大。采用线绕电阻时,R\(_{a1}\)、Ra2、R\(_{a3}\)等分别用长25米的42号漆包线绕制,阻值约85欧。Rb1、R\(_{b2}\)、Rb3等分别用长19米的42号漆包线绕制,阻值约65欧。
第一种方案的各元件的数值,已示于附图。图中各电阻值都是在17℃的温度下测得的。第二种方案的各元件的数值如下:R\(_{1}\)68欧,R265欧,P\(_{1}\)25欧电位器,P2700欧电位器,E为7.5伏(5节干电池串联)。第一种方案的总电流为3毫安,消耗功率为72毫瓦。第二种方案的总电流为90毫安,消耗功率为675毫瓦。因此,第一种方案比较省电,但第二种方案制作比较简便,不需要热敏电阻。
电阻元件的数值可适当更动,但各个R\(_{a}\)的数值要相等,各个Rb的数值也要相等。并且要求R\(_{a}\)×Rb大于(R\(_{1}\)+P1最小)×R\(_{2}\),而小于(R1+P\(_{1}\)最大)×R2,这样才有可能用电位器P\(_{1}\)来调节平衡。R1、R\(_{2}\)和P1的阻值要求恒定,随温度的变化愈小愈好,R\(_{1}\)和R2用炭膜电阻。
电键K\(_{2}\)是双刀多掷开关,K3是双刀双掷开关。指示器愈灵敏愈好,可采用0~250微安的电流表。
各个R\(_{a}\)和Rb分别放在待测温度的地点。但接到仪器的引线长度必须相同,否则引线电阻会影响测量的准确性。一般R\(_{a1}\)和Rb1装在仪器内,即处于室温情况下,以便随时可根据室温调整指示器读数。
调整 仪器装好后,将电键K\(_{2}\)置于位置2,而电阻Ra2和R\(_{b2}\)放在最低温度处(可根据实际情况选择),合上电键K1,调节P\(_{1}\)使电表指零,此后P1便不能变动。以后把R\(_{a2}\)和Rb2放在最高温度的地点(最高温度可根据具体情况选择),调整P\(_{2}\)使电表指在满刻度上。然后逐步改变Ra2R\(_{b2}\)所外地点的温度,电表指数也随着改变。用较精确的温度计测出Ra2R\(_{b2}\)所处地点的温度,即可以在电表度盘上按照指针所指位置刻划温度刻度了。如果不在电表上刻温度刻度,也可以画出电流温度特性表或曲线。注意在K2转换位置时,一定要先用K\(_{1}\)切断电源,否则K2在转换过程中,没有接任何电阻,不平衡电流太大,可能烧毁电表。
使用 将电键转在位置1,看电表指示的温度是否等于实际室内温度(室内温度可用温度计测量)。如果不相等,则调电位器P\(_{2}\),使电表指示正确的室温。以后,即可测量Ra2R\(_{b2}\)、Ra3R\(_{b3}\)……等所在处的温度了。(樊耕耕)