接收机线路结构
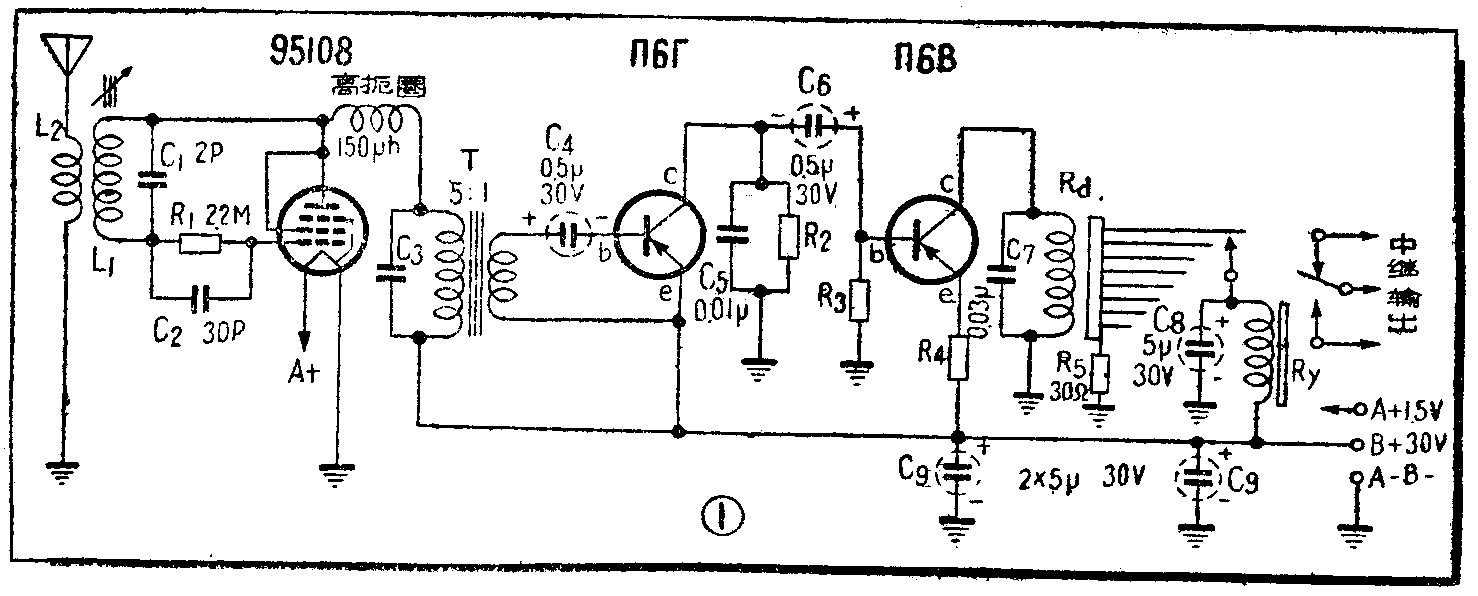
接收机是由超再生检波、电压放大、功率放大各级以及谐振继电器、中继继电器等部分组成,线路如图1。

超再生检波级采用电子管(95108),而预放级和功率输出级采用晶体三极管(П6Г和П6B)。为了满足模型遥控设备对于体积和重量的特殊要求,电子管和晶体管共用一组电源,因而电子管在低乙电的情况下工作,而晶体管在很高的电压下工作。
来自地面发射机的信号,自一米长的天线输入。为了使超再生检波级的工作稳定,采用电感耦合的方式输入L\(_{1}\)C1谐振槽路。检波后的音频信号,经由5:1阻抗匹配变压器T降压后,输入次级晶体管П6Г,在П6Г的输出端有C\(_{5}\)以滤去超再生检波所特有的噪声。两级晶体管之间是阻容耦合。为了防止末级晶体管在强信号输入时产生振荡,在发射极电路内串有电阻R4,利用电流负反馈消除振荡。谐振继电器(R\(_{d}\))的阻抗约1O千欧,直流电阻6千欧,这个负荷电阻和偏流电阻R3决定了П6B的工作点。中继继电器(R\(_{y}\))的直流电阻为4千欧,它由谐振继电器的簧片接点所控制,自B电取得电能。电容C8 和继电器本身的4千欧电阻组成滤波电路,以滤平由簧片接点所取得的脉冲电流。R\(_{5}\)是用来限制C8的放电电流,以保护簧片接点。中继继电器的接点,用来控制模型执行机构的电路。当接收机收到信号,谐振继电器的相应簧片谐振时,接通相应的中继继电器,控制执行机构作相应的动作。八个通道共有八个中继继电器,线路图中只画出了一个。它们和执行机构装在一起,不装在接收机内。乙电两端的去耦电容C\(_{9}\),当容量不足时易产生寄生振荡,为保险起见,装用了两只。
接收机的制作
高频线圈L\(_{1}\)、L2是绕在同一个线圈管上,管径10毫米。L\(_{1}\)用直径0.3毫米漆包线绕24匝,L2用同号线绕3匝。间绕,间距为0.1毫米。如嫌间绕麻烦,可按图2将L\(_{1}\)分成两段绕成,两分段之间间隔约2毫米。L2可绕在L\(_{1}\)的任意一头,与L1之间的距离约2毫米。线圈管内装有带微调螺丝柄的铁粉心。最好采用高频羰基铁,否则用M\(_{11}\)铁淦氧也可。不过M11的导磁率较低,因此频率微调的幅度很小;而且M\(_{11}\)的机械强度较差,受震时易于碎裂。要注意铁粉心的调节位置,当螺丝柄全部旋出时,铁粉心约有2/3长度在L1内,当全部旋进时,铁粉心应该全部在L\(_{1}\)内。这样安排是为了使频率微调有足够的变动范围。铁粉心螺丝柄应该有很好的弹簧锁紧装置,否则模型发动机的强烈振动将使铁粉心位置改变而导致调谐回路失谐。注意L1与弹簧锁片等金属零件的距离至少要大于线圈的直径,以免产生涡流损耗。

变压器T的结构可参看封底装配图的左上角,铁心材料最好用高镍坡莫合金,要求最大导磁率μ\(_{最大}\)>100,000,这样变压器的体积、重量都可以做得很小。铁心断面积约9~12平方毫米,窗口不小于40平方毫米。线圈绕在赛璐珞线圈框上。初级线圈用直径0.04毫米漆包线绕12000匝;次级用直径0.05毫米漆包线绕2400匝。绕时不必排线,层间也不垫腊纸,但应尽可能绕得整齐。先绕初级,夹一层电容器腊纸再绕次级。如果找不到坡莫合金小铁心,可参考图3方法采用坡莫合金片自制,效果也十分好。但必须注意尽可能减少坡莫合金片的冷加工硬化,以免影响导磁率。也可用其他小型硅钢片铁心的变压器(如华北厂晶体管级间变压器)改制,只要满足初极电感不小于3亨即可。

高扼圈可在直径5毫米绝缘管上用直径0.05毫米漆包线密绕,绕满10毫米长度,约200匝。电感要求大于150微亨。
所有电阻电容都采用超小型元件。
接收机分装在两块底板上。底板可用1.5毫米厚的夹布胶木板制作。底板(a)上装置检波及放大部分;底板(b)上装谐振继电器部分。可根据手头掌握的元件尺寸,参考封底所示底板零件排列方法,周密考虑底板的设计,务使结构合理紧凑。装配时, 先在夹布胶木板上铆上空心铆钉,然后焊接零件。如果采用印刷电路则更好。
超再生检波选用超小型电子管95108或DL67,也可用同类型电子管1П2П 1П3Б或1П4Б,它们的管脚接线都是相同的,可参阅底板(a)的接线图。
底板(a)和(b)装好后,镶嵌在桐木(取其轻巧)制作的接收机盒中,可参看封底接收机外形图。从机盒中抽出后的形状如底板装配图所示。图中注有“配合边”的底板边沿不要装接铆钉和零件,以便能够滑入木盒内相应的“固定槽”内。
(a)(b)两块底板上的电源接线都用直径1毫米多心软塑料线引出,汇总编成组线由七脚插引入电源。七脚插可由小七脚管座改制而成,插脚用直径1毫米磷铜丝,以便和普通的管座配合。按照习惯,统一的接线安排是1脚A_B_、4脚B\(_{+}\)、7脚A+,分别用蓝、红、黄三种颜色。为了充分提高设备的可靠性,可另设三根备份电源线将A_B_、B\(_{+}\)+分别接到2、5和7脚。
在底板(a)上,左边一个插口为天线插;右边两个插口插耳机,是作为调谐时监听用的。其中一个插口接地,另一插口通过一个6000微微法电容接П6B的集电极,这部分接线图1中未画出。
由线路图知道,接收机与后面中继继电器组的联系共有九根线:B\(_{+}\)及8枚谐振继电器接点的引线,分别接到小九脚插座的焊片上,以便与中继继电器相连接。
谐振继电器和中继继电器和一般遥控接收机相仿,这里不再介绍。
接收机的测试
测试所需仪器是高频信号发生器、电子管电压表、示波器和万用表。如果条件限制,只一个万用表也可勉强应付。测试的最终目的是使接收机收到信号时,谐振继电器各个簧片能够振动得响亮、稳定。
超再生检波级的测试:正常工作时,95108的屏流约为0.3毫安。当无信号时,用耳机接在变压器次级,应该听到均匀的“沙沙”声。将示波器和电子管电压表并在变压器初级,断开次级电路,打开发射机使发出358赫左右信号,观察波形及电压。选择C\(_{3}\),使配合初级电感在中间频率358赫左右处谐振——波形接近于正弦,幅度最大,约0.5~1伏。C3的参考数据约0.0O6~0.01微法,视电感而定。
无线电操纵模型所规定使用的频率是28~29.7兆赫。因此在L\(_{1}\)已定的情况下,C1要有所选择。使L\(_{1}\)的铁粉心全部旋出时的频率高于29.7兆赫,而全部旋入时又低于28兆赫。但C1不宜大于3微微法,如果用了3微微法后,频率还是达不到28兆赫,则必须增加L\(_{1}\)的圈数。如果能合乎要求,C1也可不用。
预放级:预放级的指标主要决定于晶体管的性能,选择П6Г主要是由于它的电流放大系数较大,β≥30(或α≥0.97)。β要求愈大愈好。否则将影响遥控有效半径和夏天使用时的稳定性。对于具有足够β数值的晶体管,集电极负荷电阻R\(_{2}\)可取约100K;β最小时,R2可取至30K,否则次级电路将没有足够的输入功率。但此时波形将严重地失真,大大影响两路并发的可靠性。从电路上看,基极是直流断路的,即工作点很低,必要时可自基极到A_B_加接一个的约10兆欧的偏流电阻。偏流电阻和负荷电阻R\(_{2}\)的抉择是根据输出波形的好坏和功率的大小,可由并接在R2两端的示波器和电压表测得。如果以R\(_{2}\)=50K为例,两端的信号应不低于2.5伏。
功率输出级:功率输出级晶体管的主要要求是最大输出功率大。在我们线路所决定的工作点(基极电流约50微安,集电极电压约-15伏),在饱和信号输入(基极信号电流足以使集电极电流饱和和截止)情况下,要求输出功率不小于40毫瓦,或在谐振继电器两端的电压不低于20伏。并不是每个П6B都能满足这一要求,事先应加以选择。2N44、2N109、0C72或2SB172等晶体管也可应用。
基极电阻R\(_{3}\)可在270K至1M范围内选择,视不同晶体管而定,要求得到良好的输出波形和足够的输出电压。由于前级输入的信号已足够强大,早已超出П6B所能容纳的线性范围,因此输出管的功率增益不必很大,否则反易引起寄生振荡。电流负反馈电阻R4约1K以下,但采用电流负反馈后势必影响输出功率,因此在不产生寄生振荡的情况下,可以将发射极直接接B\(_{+}\)。
这种接收机不同于一般收音机的地方是各级放大器都处于强信号输入状态,因此输出信号不可避免地产生严重的非线性失真。但是正由于这样处理,才能使接收机不受收发距离(在有效距离内)、电源衰老或温度变化等不稳定因素的影响,而能保证始终可靠地工作。
95108或DL67、lП2Б等丝压1.25伏,可用标称电压1.5伏二号灯用干电池供电。95108丝流50毫安,DL67只有12毫安。电子管和晶体管所共用的30伏电池,可用25×15×5立方毫米的积层电池单元20~22片组成。超再生、预放和功率放大各级分别耗电约0.3毫安、0.5毫安和1.5毫安,总电流约2.3毫安左右(未计入中继继电器所耗电流)。
收发联合调整
载频调整:利用高频信号发生器,在28~29.7兆赫范围内选定某一频率,调整接收机L\(_{1}\)的铁粉心,使与信号发生器频率相符。再打开发射机,调整C26(见本刊1963年第1期两路八通道模型遥控发射机线路图)以迎合接收机频率。然后将接收机移至远离发射机约200米外,根据接收机监听耳机所听得的信号,精确调整铁粉心,使双方同调。
音频调整:目的是使发射机音频信号各频率符合于接收机谐振继电器各频率。谐振继电器是根据标准音频信号发生器校准的,而发射机将根据谐振继电器各簧片进行校正。先将发射机R\(_{11}\)R18各音频微调电位器旋在中间位置,以0.006或0.01微法为单位增减C\(_{1}\)~C8,使谐振继电器各相应簧片振动得最响亮、稳定。最后再精确调整微调电位器使各簧片工作得更满意。(陶考德)