收音机发生了故障,需要更换某些零件,如果一时找不到,而能够想一些临时应急的办法,及时把收音机修理好,继续收听,这该有多好呢!
本文即以“北京”牌电子管装制的外差收音机为例,谈谈自己在应急修理中的一些体会。
整流管阴极和灯丝间被击穿短路

有些收音机,整流管6Z4与其它各管合用一组灯丝电源,灯丝电源的一端又与地(乙_)相接,整流管阴极与灯丝间有直流高压,如果二者之间绝缘不良,最容易被击穿而使直流高压短路。出现这种故障时,收音机完全无声,整流管的屏极发红。修理时,我们可照图1那样,用一般的输出变压器的铁心和与原来灯丝线圈同样粗细的导线,绕一个6.3伏变6.3伏的小变压器,初级以每伏13圈计算绕82圈,次级绕85圈(多出3圈是考虑到电源内阻的压降)。如图连接,并把整流管的灯丝与阴极连接起来,就可以继续使用了。
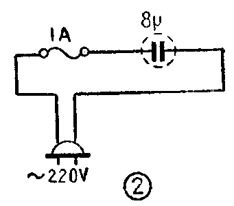
滤波电容器击穿

滤波电容器有时被击穿短路了,可以照图2那样串一段一安培的保险丝,接到220伏的交流电源上,保险丝立刻被烧毁,这时电容器内部的短路部分也被击开了。可拿通表量一下,如果还短路,可重复再做几次。用这种办法修复电解电容器的效果很好。
输出变压器初级断路
输出变压器受潮后,初级线圈极易发霉烂断,这时收音机的声音很小乃至无声,可以把输出变压器拆下来,在初级上串一只2.5伏小电珠,接通到220伏~500伏的交流高压上,小电珠若被烧断,则说明输出变压器初级圈已被冲接上,能恢复使用了(图3)。

6N2的一半损坏
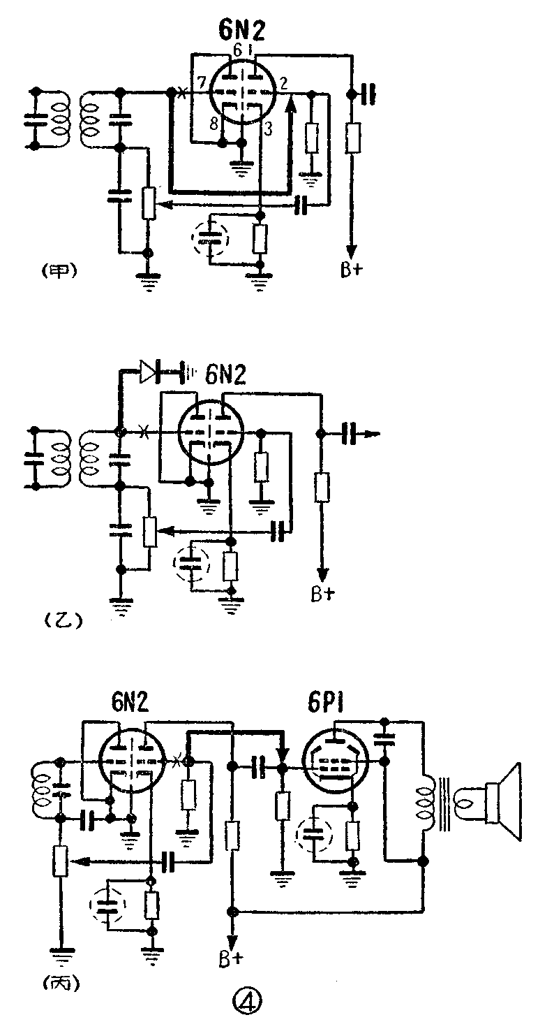
6N2是高放大系数双三极电子管,在外差机中,常用它的一半接成二极管做检波,另一半做音频电压放大。

6N2的两个三极部分,灯丝是并联的,有时用来做检波的三极部分灯丝断掉不亮了,另一组还是完好的。这时若把控制音量的电位器开到最大,还能听到较轻的声音。修理时可以不拆动机器,只要把6N2电子管拔下,在它的2脚与7脚上用一段细绝缘导线连接起来,插上就行了(图4甲,图中画×处表示这半边灯丝不亮了)。这时经过中放后的中频信号直接输入到电压放大部分的栅极进行检波,音量仍由原来的电位器控制,最大只能开到原来的五分之四处,再大就产生回输啸叫了。
要想改得更好,可以用一只晶体二极管接在6N2检波部分的检波小屏(即栅极)与地之间(图4乙),反接正接皆可,这时音量和收音机完好时一样。
也有时是6N2做电压放大的三极部分的灯丝断了,最简单的办法是用一段塑胶软导线,一端接在6N2电压放大部分的栅极脚上,另一端接在末级强放管6P1的栅极脚上,插上管子就可以收音了(图4丙)。这时是将检波后的音频信号直接加到6P1栅极进行放大,少了一级低放,因此音量较小。若要求音量大,可以把6N2检波部分改成栅极检波。改接也很容易,只要把6N2检波部分的屏极和地断开,改与电压放大部分的屏极相接,再把两组的栅极连接起来就可以了。
波段开关的故障

两波段外差机的四刀双掷波段开关,使用日久,它的“掷”有时会烂掉了。若天线部分接中波线圈的掷掉了,可以象图5甲那样改接一下,即将中波线圈原来的接地端断开,和短波线圈串接起来,再把中波线圈的接掷端与这组的刀相接。这样,听中波时,等于天线线圈增加了几圈,并无多大妨碍。听短波时,等于给中波线圈短路,效果和原来一样。也可以象图5乙那样,在中波线圈接掷端与这组刀之间接一个200P电容器,收听中波时,由于在天线回路里加了一只电容器,加强了收音机的选择性,收短波时,200P电容器仍和中波线圈串联着,能起一些中频陷波作用,对短波收音并无妨碍。图5丙是调谐回路接短波线圈的掷断掉后的改接线路,原理与图5甲相似,效果也很好。
中频变压器

如果中频变压器中的一组线圈断掉,不能修复,可以改用阻容交连的办法。图6甲是输入中频变压器的次级坏了,可以在中放管6K4的栅极与AVC之间接一个500K电阻,再用一只200P电容器与变频管6A2的屏极交连。图6乙是输入中频变压器的初级坏了,可在6A2屏极加接一只250K电阻与B+相连,再用一只200P电容器交连到6K4的栅极就可以了。图6丙是输出中频变压器初级坏了,改接成电阻电容交连的线路,电阻为300K,电容为400P。经过这样修复的收音机,效果尚好。(马书安)